网站首页  词典首页


请输入您要查询的字词:

 

字词 螺旋压力机上模锻及精密模锻
类别 中英文字词句释义及详细解析
释义

螺旋压力机上模锻及精密模锻


7.3.1.1 螺旋压力机上模锻

与模锻锤相比,螺旋压力机具有设备造价低、对厂房及基础的要求低、工作时震动和噪声较小、能耗和模具费用较低、劳动条件较好等优点另外,螺旋压力机有顶出锻件装置,可进行一些模锻锤上难以完成的顶锻长杆件、挤压筒形件、闭式模锻及精锻等工序.

在螺旋压力机上模锻的锻件可分为以下六类(见表7-22):

第一类:带粗大头部的长杆类锻件;

第二类:饼块类锻件;

第三类:变断面复杂形状的长轴类锻件;

第四类:筒形锻件;

第五类:上下面及侧面均带内凹或凸台的锻件;

第六类:精密锻件.

1.第一类锻件工艺特点

此类锻件中用得最多的是由长杆毛坯一次局部顶镦成形的锻件,毛坯的直径与锻件杆部直径相同,锻前一般只对毛坯需要顶镦的部分局部加热,锻后锻件的头部带有较小的横向毛边.在靠近头部的杆部,由于受头部温度的影响,顶镦后直径会加粗1~3mm左右.

表7-22 锻件分类

2.第二类锻件的工艺特点

此类锻件的形状特点是:在水平面上的投影为圆形或平面尺寸相差不大的异形饼块.形状简单的锻件,可直接用原毛坯模锻.模锻前毛坯立放于模中,其高度与直径之比小于2.5,常取1.5~2.当毛坯在模中易于定位且锻件形状较简单时,可进行闭式模锻.而形状复杂的锻件,则先进行镦粗或预制坯,然后进行开式模锻.由于此类锻件的平面尺寸较大,而摩擦压力机承受偏击能力较差,制坯工步需其他设备来完成.

3.第三类锻件的工艺特点

此类锻件的形状较复杂,断面形状和尺寸沿长度方向是变化的,通常采用开式模锻.对于模锻沿长度方向断面尺寸变化不大的锻件,可直接在摩擦压力机上用原毛坯模锻,或经弯曲、卡压等一次打击制坯后模锻成形.对干锻面尺寸沿长度方向变化较大,需用打击次数较多的拔长、滚压等制坯工步的锻件,摩擦压力机只进行终锻,而制坯工步视批量不同放在空气锤、辊锻机等设备上进行.

4.第四类锻件的工艺特点

此类锻件基本上是以热反挤压方式成形,热毛坯先镦粗后再放入挤压模.镦粗是为了去除毛坯上的氧化皮和获得在挤压模中定位的毛坯尺寸.当锻件形状允许时,可将凸模壁做出30′~2°的拔模斜度,凹模壁做成直壁,使锻件锻后卡在下模中,靠压力机顶出.对于内孔不允许做出斜度的锻件,在凸模的头部做出宽度为5~10mm的工作带,后面每边留出0.5~1mm的间隙.当锻件底部无特殊形状要求时,将凸模端部做出27°~30°的斜度.

5.第五类锻件的工艺特点

此类锻件在上下面及侧面均具有凸起或内凹,故除上下分模面外,还应将凹模做成可分的.模锻后利用压力机及模具上的顶件装置将可分凹模顶出,并分开取出锻件.

7.3.1.2 精密模锻工艺

螺旋压力机用于精密模锻.精密模锻可将零件上一些需切削加工才能达到精度要求的部分直接锻出或仅留少量磨量.如带齿的直齿锥齿轮和螺旋锥齿轮的精锻件,锻后齿面不需切削加工;齿形花键及有凸、凹定位台的同步齿环精锻件,齿形花键及凸、凹台在锻后不需切削加工;与辊锻机、模锻锤等设备配套进行扭曲叶片的精锻或整形,精锻叶片叶身部分只留余量.这些精锻件的形状特点如表7-22中第六类锻件所示.

精密模锻是在普通模锻基础上发展起来的一种少、无切削加工的新工艺,其特点是对模锻的有关环节提出更严格的技术要求.如:对毛坯的下料质量及表面质量的控制;预制坯的合理设计;毛坯的少、无氧化加热;加热规范及冷却规范的控制;模具制造和使用精度的控制;合适的润滑及冷却条件的选取等.精密模锻具有节约金属和减少切削加工的优点,但由于对模锻有关环节的强化而使部分成分提高,故精密模锻的选用应对零件的结构、性能、经济指标等进行全面考虑.

下面以圆锥齿轮为例介绍精密模锻工艺.

1.零件加工工艺流程的比较

行星锥齿轮(见图7-7)模锻的切齿加工和精密模锻两种生产工艺流程对比见表7-23.

表7-23 主要工艺流程对比

2.特点及应用情况

圆锥齿轮的精密模锻与切齿工艺相比:

(1)节约金属25%~40%,节约总工时30%~60%;

(2)抗弯强度和耐磨性提高20%左右;

(3)热处理引起的齿形变形校

(4)易于修整齿形,获得有利于啮合的鼓形齿,啮合噪声低;

(5)能将用切齿工艺无法整体加工而需分件加工再组合的零件,整体锻出(见图7-8),从而显着降低成本.

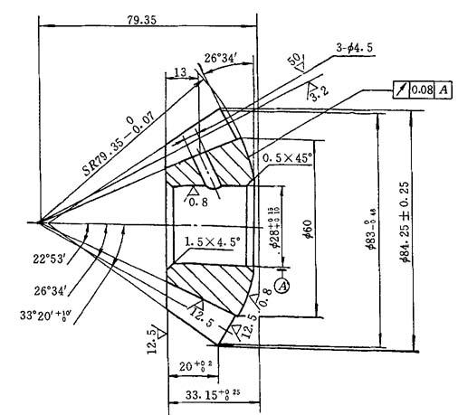
图7-7 行星齿轮零件

精度 8Dc(GB11365—89);渗碳层深度1.2~1.6mm 齿面硬度 HRC56~62;心部硬度 HRC30~42

锥齿轮精密模锻工艺的使用有一定的局限性.一般大端模数小于3的锥齿轮,精锻模易受热而迅速磨损、变形,锻模寿命低,一般不宜采用精密模锻.直径大于500mm的锥齿轮,精密模锻需采用昂贵的大吨位精锻设备,也不宜采用精密模锻.

随便看

 

离鸟网收录3541549条中英文词条,其功能与新华字典、现代汉语词典、牛津高阶英汉词典等各类中英文词典类似,基本涵盖了全部常用中英文字词句的读音、释义及用法,是语言学习和写作的有利工具。

 

Copyright © 2004-2024 vtrois.com All Rights Reserved
更新时间:2026/4/19 13:24:22