网站首页  词典首页


请输入您要查询的字词:

 

字词 蔗渣料仓
类别 中英文字词句释义及详细解析
释义

蔗渣料仓


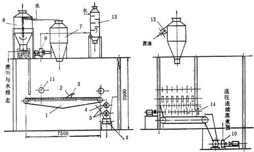
蔗渣活底料仓结构型式见图6-2-85。

图6-2-85 蔗渣活底料仓

1-链条 2-钢板 3-角钢 4-料斗 5-搅拌辊 6-刮板运输机 7-旋风分离器 8-水膜除尘器 9-塑料风机 10-Φ750风送机 11-破搭桥辊6.6kW 12-注水喷雾器 13-除尘器 14-闸板

上述蔗渣料仓已成功地应用于连续蒸煮系统,蔗渣搭桥问题基本解决。

随便看

 

离鸟网收录3541549条中英文词条,其功能与新华字典、现代汉语词典、牛津高阶英汉词典等各类中英文词典类似,基本涵盖了全部常用中英文字词句的读音、释义及用法,是语言学习和写作的有利工具。

 

Copyright © 2004-2024 vtrois.com All Rights Reserved
更新时间:2026/4/19 23:31:40