网站首页  词典首页


请输入您要查询的字词:

 

字词 蒸球喷放阀
类别 中英文字词句释义及详细解析
释义

蒸球喷放阀


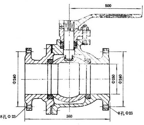
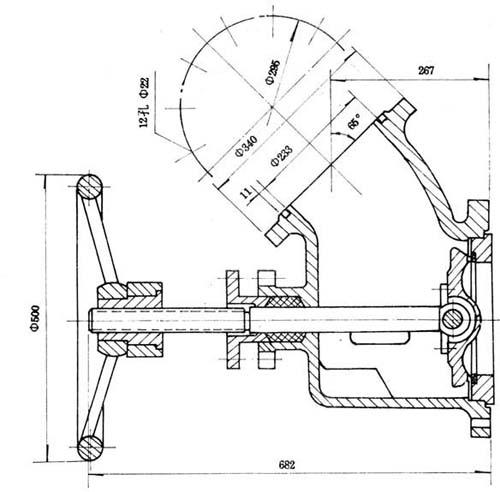
Dg150球阀(见图6-3-8)是蒸球的配套件,安装在蒸球的喷放管道上,作为碱法制浆在蒸煮完成后喷放浆料用。老蒸球喷放阀(见图6-3-9)适用于非轴端喷放的老式蒸球,安装于蒸球体上。蒸球喷放阀的主要技术特征见表6-3-10。

表6-3-10 蒸球喷放阀的主要技术特征

图6-3-8 Dg150球阀

图6-3-9 Φ200蒸球喷放阀

随便看

 

离鸟网收录3541549条中英文词条,其功能与新华字典、现代汉语词典、牛津高阶英汉词典等各类中英文词典类似,基本涵盖了全部常用中英文字词句的读音、释义及用法,是语言学习和写作的有利工具。

 

Copyright © 2004-2024 vtrois.com All Rights Reserved
更新时间:2026/4/19 4:09:22