网站首页  词典首页


请输入您要查询的字词:

 

字词 自喷井集输流程及地面设备
类别 中英文字词句释义及详细解析
释义

自喷井集输流程及地面设备


(一)集输流程

可分为:

1.卤、气分输(双管)流程 卤井产物在井口附近的分离器内将卤、气分离后,分别外输。特点是井口回压低,但钢材耗量多。

2.卤、气混输流程或单管流程 卤井产物在井口附近进行分离、计量后,卤、气重又混合,经一条管线输送到转卤站。

(二)自喷井地面设备

1.生产卤井井口装置——采油树

(1)主要作用

①悬挂油管,承托井内的全部油管柱重量;

②密封油、套管间的环形空间;

③控制和调节卤井生产;

④录取油、套压资料和测压等日常生产管理。

(2)技术规范:见表3-3-50。

表3-3-50 生产卤井井口装置

2.气卤分离器

(1)结构 如图3-3-78、图3-3-79。

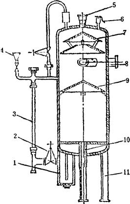
图3-3-78 Φ600分离器示意图

1-水包 2-隔板3-玻璃管 4-漏斗 5-出气管 6-安全凡尔 7-分离伞 8-进卤管 9-散油帽 10-出卤管 11-支架

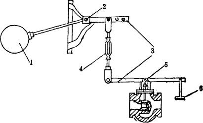
图3-3-79 Φ1200分离器液面控制器示意图

1-浮子 2-小轴 3-杠杆 4-拉杆 5-出卤阀轴 6-平衡锤

(2)作用

①将井眼产出的卤、气分开,以便分别计量;

②控制井口出卤管线的回压;

③沉降清除井眼产物中的泥砂等杂质。

(3)常用分离器技术规范,见表3-3-51。

表3-3-51 分离器技术规范

3.油嘴

(1)种类 按使用场所不同,分为地面油嘴和地下油嘴;按结构型式分为单孔、多孔、带滤网式油嘴、可调节式油嘴等。

(2)油嘴的作用 生产中通过更换油嘴来调节和控制卤井生产动态,影响和改变井液的流动状况和产量。

一般说来,放大油嘴时,卤、气产量增加,井底流压下降。井口油压升降,则视井底压力与饱和压力的关系而定,当P<P时,油压将减小;P>P时,油压即上升。反之,当减小油嘴时,则井口压力增加,卤、气产量减小,井底压力增高;但当更换小油嘴,使油管内混合物运动速度、相对密度、摩擦损失发生变化时,若摩阻下降很大,井底压力也显示下降的数值。

(3)油嘴直径的选择 一般常用油嘴孔径为1.5~20mm,特制油嘴也可大于此数。

①常规使用油嘴,用系统试井方法确定其孔径大小;

②当混合产物以超声速通过油嘴时,油嘴直径可按下列近似计算进行选择:

式中 P——油管压力(MPa)

d——油嘴直径(mm)

Q——卤气流量(m3)

R——生产卤、气比(m3/m3)

C——单位换算系数

4.安全凡尔 分离器上的装置,保护设备不致因压力过高而爆炸。

常用单弹簧微启式安全凡尔、结构及规范如图3-3-80、表3-3-52。

图3-3-80 弹簧微启式安全凡尔示意图

1-顶盖 2-销子 3-手启动杆 4-调节螺丝 5-阀帽 6-阀杆 7-上压盖 8-弹簧 9-阀体 10-下压盖 11-阀芯 12-阀座

表3-3-52 单弹簧微启式安全凡尔技术规范

随便看

 

离鸟网收录3541549条中英文词条,其功能与新华字典、现代汉语词典、牛津高阶英汉词典等各类中英文词典类似,基本涵盖了全部常用中英文字词句的读音、释义及用法,是语言学习和写作的有利工具。

 

Copyright © 2004-2024 vtrois.com All Rights Reserved
更新时间:2026/4/19 21:49:57