网站首页  词典首页


请输入您要查询的字词:

 

字词 胶体磨
类别 中英文字词句释义及详细解析
释义

胶体磨


(一)用途与特点

胶体磨与均质机一样均为细化物料颗粒的设备。主要用于乳化均质处理,可将物料粉碎成为极细微粒或小液滴分散在液体当中,制成均匀的乳化物,防止产品出现沉淀,提高乳状液的稳定性。该机主要零件材料选用不锈钢制造,耐腐蚀无毒,环状间隙可通过调整机构进行微量调整,并配有刻度盘,易于控制,装拆方便,容易清洗,占地面积小,自重较轻,操作简单,嗓音小,并配有冷却系统。

(二)结构与工作原理

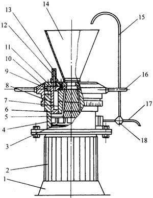
胶体磨按结构和安装方式不同,分为立式和卧式两种。主要由进料斗、调节器、定齿盘、动齿盘、电机、减速器。图4-3-4为立式胶体磨结构,图4-3-5为卧式胶体磨结构。

图4-3-4 立式胶体磨

1-机座 2-电机 3-叶轮 4-磨体 5-动磨盘 6-静磨盘套 7-静磨盘 8-密封圈 9-限位螺钉 10-调节轮 11-盖板 12-联结螺钉 13-进、出冷却水管 14-料斗 15-循环管 16-调节手柄 17-出料管 18-三通阀

图4-3-5 卧式胶体磨

1-工作主轴 2-壳体 3-密封装置 4-出料口 5-动磨盘 6-静磨盘 7-调整手柄 8-挡盖 9-进料口

立式胶体的工作主轴与地面垂直,卧式胶体磨的工作主轴与地面平行。胶体磨由动、静齿盘组成工作件。动齿盘呈锥形,安装于主轴上,外表面有纵向的齿槽,由上至下分为粗、中、细三个环带,材料为不锈钢或硬质合金钢,表面硬度一般不低于HRC35-45。静齿盘固定于壳体上,呈倒锥形与动磨盘相对应,其中粗、中、细齿槽分成三个零件加工,然后装成一个整体,材料为不锈钢,齿面要经过硬化处理,动、静齿盘锥形齿槽面的接触面积大于50%,组装后同轴度误差不超过0.05mm。根据物料不同,两齿盘间隙可利用调整机构进行微量调节。当物料通过间隙时,由于动磨盘的高速旋转,使被加工物料通过其可变环状间隙时,在自重、离心力等复合作用下,物料间产生强烈的剪切、磨擦、挤压、冲压作用,从而使物料产生分散和乳化均质。均质后的物料细度一般为5~20μm,最细的物料直径可达1μm以下。

(三)主要技术参数(表4-3-2)

表4-3-2 胶体磨主要技术参数

注:河北廊坊通用机械厂、沈阳新光动机械厂、温州胶体磨机器制造厂等制造。

随便看

 

离鸟网收录3541549条中英文词条,其功能与新华字典、现代汉语词典、牛津高阶英汉词典等各类中英文词典类似,基本涵盖了全部常用中英文字词句的读音、释义及用法,是语言学习和写作的有利工具。

 

Copyright © 2004-2024 vtrois.com All Rights Reserved
更新时间:2026/4/21 5:23:11