网站首页  词典首页


请输入您要查询的字词:

 

字词 育苗设施
类别 中英文字词句释义及详细解析
释义

育苗设施


随着果树生产的发展,人们对苗木质量和无病毒化要求也越来越高,并且各种育苗设施的作用也越来越突出。通过一定设施可以免除或减轻不良气候条件的影响,提早播种或扦插,从而达到延长生长期、加大生长量、促进苗木健壮的目的。配合大型的现代化温室、弥雾装置等还可实现苗木的工厂化生产。

目前用于育苗的保温设施有温室、塑料大棚、阳畦等。

1.阳畦 阳畦由土墙壁、棚架、覆盖物三部分组成,通过保持太阳的光热辐射而达到保温目的。阳畦的形式很多,常用且效果最好的为玻璃改良阳畦和塑料大棚改良阳畦(图3-4)。

图3-4 阳畦(单位:米)

(1)玻璃改良阳畦 (2)塑料大棚改良阳畦

2.温床 利用阳畦或小拱棚的结构,在床底增设加温设施即成温床。温床的热源,可利用酿热物(马粪、牛粪、麦糠等)生物酿热或烟囱热和电热线加热等(图3-5)。

图3-5 酿热温床(单位:厘米)

1.窗盖 2.土框 3.床土 4.酿热物 5.碎草

3.塑料大棚 塑料大棚是采用塑料薄膜和各种材料(竹木、水泥构件及管材等)组装而成的拱形骨架,大棚的走向以东西向为主(图3-6)。

图3-6 塑料大棚

1.大棚套小棚 2.大棚套平棚 3.大棚套中棚 4.大棚套中棚加地面覆盖 5.双层大棚

塑料大棚建造容易,也可拆迁,投资小,见效快,便于大面积推广。大棚的形式有拱圆形,棚顶半圆形或单坡面形等,为了减少昼夜温差,还可大棚套小棚,或在大棚内再覆盖一层薄膜或其他覆盖物。

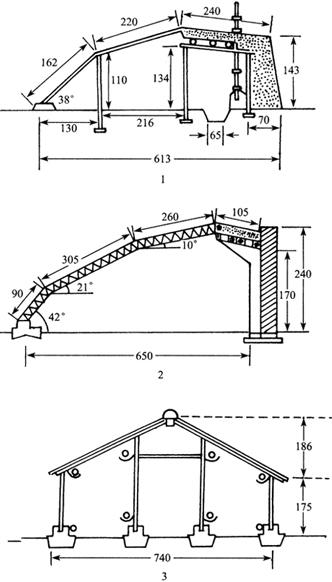
4.温室 温室多由砖木或钢筋水泥结构、覆盖物、加热设备等构成,具有较完备的供暖、通风、透光设施。加热设备多以煤火、暖气为主。没有加温设备的温室称为日光温室。先进温室的光、温、湿调节已采用各种仪器、仪表等现代化手段进行调控。覆盖物有玻璃和塑料薄膜。玻璃温室造价较高,采用钢材构架可做永久性设备;塑料温室采用轻质构造覆以薄膜,造价较低,但需每年更新薄膜。两种温室相比,玻璃温室的寿命较长,也较省工。温室的形式有改良式、三折式和连栋式等多种,走向也以东西向为好(图3-7)。

图3-7 温室类型(单位:厘米)

1.改良式 2.三折式 3.连栋式

其他育苗设施还有荫棚和繁殖箱等。

根据设备和用途的不同,现有的育苗设施大致可分为2种类型:一是可以控制温度并有充足光照的温床和温室,可供播种或扦插。二是利用自然温度或生物热量的荫棚或阳畦,可供幼苗移栽和进行锻炼。可根据育苗种类、数量、要求、出圃时间等选用。

随便看

 

离鸟网收录3541549条中英文词条,其功能与新华字典、现代汉语词典、牛津高阶英汉词典等各类中英文词典类似,基本涵盖了全部常用中英文字词句的读音、释义及用法,是语言学习和写作的有利工具。

 

Copyright © 2004-2024 vtrois.com All Rights Reserved
更新时间:2026/4/19 0:39:34