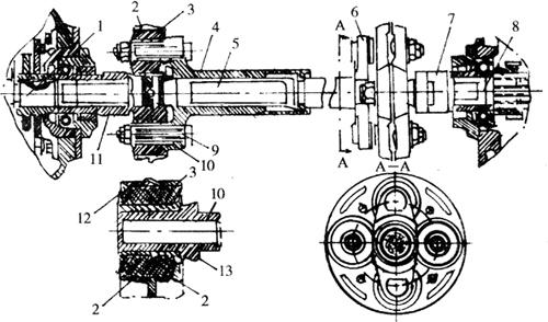
在两轴之间有偏移和倾斜的情况下,联轴节仍能正常传递扭矩。它有弹性和刚性两种形式,拖拉机上常用弹性联轴节。东方红-802型拖拉机的联轴节如图4-5所示。联轴节主要由连接盘、橡胶块、空心销和联轴节叉组成。在连接盘内装有4个橡胶块和空心销,橡胶块内孔的钢丝网层焊接在空心销上。在离合器轴与变速箱第一轴轴线之间产生偏差或倾斜时,依靠橡胶块的弹性变形仍能可靠地传递扭矩,并能减缓振动和冲击。

图4-5 东方红-802型拖拉机联轴节
1.离合器轴 2.连接盘 3.橡胶块 4.联轴节叉 5.传动轴 6.联轴节 7.联轴节叉 8.变速箱第一轴 9.连接螺栓 10.空心销 11.联轴节叉 12.帆布层 13.钢丝网层