网站首页  词典首页


请输入您要查询的字词:

 

字词 纸浆返黄值的测定
类别 中英文字词句释义及详细解析
释义

纸浆返黄值的测定


漂到一定白度的纸浆,经过一段时间,有时甚至立刻便出现白度下降,这种现象称为返黄(亦称回色),其返黄的程度可用返黄值(P.C值)表示。

式中:K0.K——纸浆老化前、后的光吸收系数。

S0.S——纸浆老化前、后的光散射系数。

为便于实用,值可通过下式计算:

1.测定纸浆返黄值,可把已测定白度的浆片或试样置于105±2℃的恒温箱中,连续烘3h,进行老化,然后取出冷却,再测白度。根据老化前后白度的变化,按上式计算返黄值,由返黄值的大小可评定纸浆白度的稳定性。

浆片在烘箱中进行老化时,要求烘箱有鼓风装置。浆页应悬挂在烘箱内,避免浆页之间或浆页与烘箱壁有任何接触。

2.为了测定纸浆返黄值,加速纸浆的老化,也可采用Tappi T260-Pm一81的方法。

3.测定原理

把纸浆暴露在一个高温(100℃)、高湿(100%RH)的特制容器中处理,加速纸浆老化,再测定老化前1h和老化后1h的试样白度,计算返黄值。

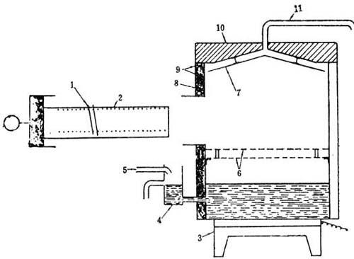
4.装置:如图7-5-1老化处理装置。

图7-5-1 老化处理装置

1-纸样 2-纸样箱 3-电炉 4-溢流口 5-进水管 6孔板 7-水滴挡板 8-隔热板 9-不锈钢板 10-聚丙烯盖 11-废汽去地沟

5.操作

取每批试验浆片或实验室手抄试样,裁成50×50mm,并在试样的边上记录已测的正、反面白度。

用蒸馏水装满纸浆老化装置,使液面达溢流口水平,开始加热并调节,使水逐渐沸腾,连续沸腾30min,此时温度和湿度已达要求。

将已测白度的试样放入试样箱,再将试样箱插入纸浆老化装置内,使试样箱受蒸汽准确加热1h,然后取出试样箱,并将试样放入纸、纸板、纸浆的手抄纸样试验的标准空调条件下1h,然后测试样的白度,将两次试验结果取平均值,取一位小数。计算返黄值。

随便看

 

离鸟网收录3541549条中英文词条,其功能与新华字典、现代汉语词典、牛津高阶英汉词典等各类中英文词典类似,基本涵盖了全部常用中英文字词句的读音、释义及用法,是语言学习和写作的有利工具。

 

Copyright © 2004-2024 vtrois.com All Rights Reserved
更新时间:2026/4/18 13:00:45