网站首页  词典首页


请输入您要查询的字词:

 

字词 粉煤灰砌块和粉煤灰小型空心砌块
类别 中英文字词句释义及详细解析
释义

粉煤灰砌块和粉煤灰小型空心砌块


(一)粉煤灰砌块

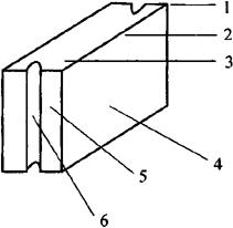
粉煤灰砌块又称为粉煤灰硅酸盐砌块,是以粉煤灰、石灰、石膏和骨料,经加水搅拌、振动成型、蒸汽养护而制成的实心砌块。粉煤灰砌块的主规格尺寸为880mm×380mm×240mm,880mm×430mm×240mm,其外观形状见图7-4。

图7-4 粉煤灰砌块各部位的名称

1-角;2-棱;3-座浆面;4-侧面;5-端面;6-灌浆槽

根据外观质量和尺寸偏差可分为一等品(B)和合格品(C)两种。粉煤灰砌块按抗压强度不同,可分为10级和13级两个等级。粉煤灰砌块的抗压强度、人工碳化后强度、抗冻性能和密度应符合表7-22的规定。

表7-22 粉煤灰砌块的性能指标

(二)粉煤灰小型空心砌块

粉煤灰小型空心砌块是指以水泥、粉煤灰、各种轻重骨料为主要材料,也可加入外加剂,经配料、搅拌、成型、养护制成的空心砌块。

根据《粉煤灰小型空心砌块》(JC862-2000)的标准要求,按照孔的排数可分为单排孔、双排孔、三排孔和四排孔;按尺寸偏差、外观质量、碳化系数可分为优等品、一等品和合格品三个等级;按平均强度和最小强度可分为2.5,3.5,5.0,7.5,10.0,15.0六个强度等级;优等品、一等品和合格品的碳化系数分别不小于0.80,0.75和0.70;其软化系数应不小于0.75;干燥收缩率不大于0.060%。其施工应用与普通混凝土小型空心砌块类似。

粉煤灰小型空心砌块的密度等级应符合表7-23的规定;粉煤灰小型空心砌块的强度等级应符合表7-24的规定;粉煤灰小型空心砌块的吸水率不应大于20%,不同干缩率的粉煤灰砌块,出厂时相对含水率应符合表7-25的规定;粉煤灰小型空心砌块,其碳化系数不应小于0.8;软化系数不应小于0.75。

表7-23 粉煤灰小型空心砌块的密度等级

注:粉煤灰实心砌块密度等级可参照表7-23划分。

表7-24 粉煤灰小型空心砌块的强度等级

注:粉煤灰实心砌块的抗压强度等级可参照表7-24划分。

表7-25 不同干缩率的粉煤灰砌块的相对含水率

随便看

 

离鸟网收录3541549条中英文词条,其功能与新华字典、现代汉语词典、牛津高阶英汉词典等各类中英文词典类似,基本涵盖了全部常用中英文字词句的读音、释义及用法,是语言学习和写作的有利工具。

 

Copyright © 2004-2024 vtrois.com All Rights Reserved
更新时间:2026/4/21 0:08:07