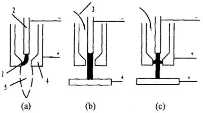
根据电源的连接方式,等离子弧分为非转移型电弧、转移型电弧及联合型电弧三种。如图1-7-1所示。

图1-7-1 等离子弧的类型[1]
(a)非转移弧 (b)转移弧 (c)联合弧
1.电弧 2.钨极 3.工作气体 4.水冷喷嘴 5.高温焰流
1.非转移型电弧
非转移型电弧燃烧在钨极与喷嘴之间,焊接时电源正极接水冷铜喷嘴,负极接钨极,工件不接到焊接回路上,如图1-7-1(a)所示;依靠高速喷出的等离子气将电弧带出,这种电弧适用于焊接或切割较薄的金属及非金属。
2.转移型电弧
转移型电弧直接燃烧在钨极与工件之间,焊接时首先引燃钨极与喷嘴间的非转移弧,然后将电弧转移到钨极与工件之间;在工作状态下,喷嘴不接到焊接回路中,如图1-7-1(b)所示。这种电弧用于焊接较厚的金属。
3.联合型电弧
转移弧及非转移弧同时存在的电弧为联合型电弧,如图1-7-1(c)所示。联合型电弧在很小的电流下就能保持稳定,因此特别适合于薄板及超薄板的焊接。