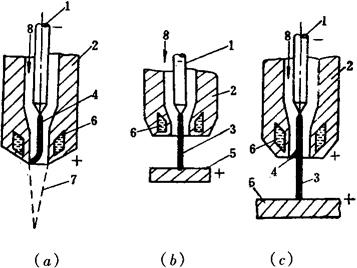
按电源供电方式不同分为非转移弧、转移弧、混合型三类,电弧形态如图6-2所示。

图6-2 等离子弧的类型
(a)非转移弧 (b)转移弧 (c)联合弧
1-钨极 2-喷嘴 3-转移弧 4-非转移弧 5-工件 6-冷却水 7-弧焰 8-离子气
1.非转移弧
钨极接负极,喷嘴接正极,等离子弧在钨极和喷嘴之间燃烧,在离子气流压送下,弧焰从喷嘴高速喷出,形成等离子焰。等离子焰向工件传送热量,同时为形成转移弧创造条件。
2.转移弧
钨极接负极,工件接正极,等离子弧在钨极和工件之间燃烧。它可以直接将大量的热量传送到工件上,是金属焊接和切割的主要形式。转移弧是在非转移弧的基础上形成的,引燃转移弧后,应立即断开非转移弧电源。
3.混合型
非转移弧和转移弧同时存在称为联合型或混合型等离子弧。它的特点是电弧稳定性好,适合于微束等离子弧焊和粉末堆焊。
等离子弧根据不同的用途,可采用不同类型的离子气:焊接和喷涂用等离子弧可采用纯氩、富氩(95%Ar+5%H2)、氩和氦的混合气体(离子气)。在外层还要通入氩或氩和氢或氩和氦混合气的惰性保护气体。切割用等离子弧可采用氮和氢、氩和氢两种混合气体,空气、水蒸气作为离子气,可以不通入保护气体。