网站首页  词典首页


请输入您要查询的字词:

 

字词 禽类屠宰装备
类别 中英文字词句释义及详细解析
释义

禽类屠宰装备


1 概述

禽类屠宰装备主要用于对鸡、鸭、鹅等家禽进行工厂化宰杀加工获得净膛胴体及副产品。目前国际上先进的家禽加工厂已实现了全部生产过程机械化作业和自动化管理。我国对禽类屠宰技术及装备的研制开始于本世纪50年代中期,整体技术水平与国际先进水平有很大差距,在大型禽类屠宰生产线上(生产能力4000只/h以上)尤其突出。本世纪80年代国际上推出了自动化供鸡系统、自动倒钩换链设备和自动分割系统等,最终实现了从宰杀、取内脏、预冷到分割和包装全过程机械化作业。而国内只是实现了从宰杀、浸烫到脱羽这一“白条鸡”加工过程的机械化作业。而取内脏、分割和包装等仍为半机械化流水作业。

2 加工工艺

图1-4-24 禽类屠宰加工工艺流程

根据上述工艺流程,禽类屠宰加工生产线通常分为下列几大部分。

2.1 活禽输送和吊挂

从饲养场将检验合格待宰的活禽装入金属丝笼或塑料板条箱内,用卡车或其他运输工具运送到屠宰加工厂吊挂区。中、小型生产线(生产能力低于3000只/h)一般由人工直接吊挂到悬挂输送线上,空笼(箱)集中冲洗。大型生产线配有笼(箱)输送机,载有活禽的笼(箱)由输送带送到吊挂处,再由人工吊挂到悬挂输送线上。空笼(箱)由输送带到笼(箱)清洗机进行清洗和吹干。

2.2 宰杀、脱羽

活禽经电击晕后,由自动宰杀机或人工完成刺杀放血。净血后的禽体进入浸烫机,在水温58~62℃的热水中浸烫。浸烫后的禽体进入脱羽机完成脱羽作业。对于2000只/h以上的屠宰生产线一般采用2台或2台以上的脱羽机完成脱羽作业。此外,鸭、鹅脱羽后,禽体上残留的纤状绒毛难以去除。因此在机械脱羽后,增加了石蜡处理工艺,相应配置了浸蜡机、冷蜡装置、脱蜡机和废蜡回收输送带等设备,弥补了纯机械脱羽的不足。

2.3 净膛

脱羽后的白条禽体吊挂在取内脏悬挂输送线上,由人工持专用器械或工具,进行切爪、割肛、开膛、净膛和胴体内外冲洗等作业工序。国外先进的生产线,该部分为机械化作业。

2.4 预冷

净膛后的胴体温度较高,约为35℃左右。为保证成品品质,便于冷藏,需进行预冷。对禽类国内普遍采用水浴冷却,即将胴体浸泡在0~4℃的冷水中,使胴体中心温度降至9℃以下,浸泡时间一般不超过45min。

2.5 分割和包装

预冷后的胴体,滴干或甩干多余水分后,由人工持专用器械或工具,根据成品要求,在悬挂输送线上进行各部位的分割。分割后的产品由输送带送到包装工作台,进行分类、称重和小包装,然后送到冻结库或速冻机速冻。对于整禽产品,胴体滴干或甩干后,进行称重、分级、包装,然后送到冻结库速冻。

3 关键装备

3.1 悬挂输送机

禽类屠宰悬挂输送系统,一般采用轻型悬挂输送机。它与普通悬挂输送机一样,也是由驱动装置、张紧装置、牵引构件、回转装置、上下坡道和轨道等部分组成。根据其链轨结构,禽类屠宰悬挂输送机主要采用的有封闭式(图1-4-25)和敞开式(图1-4-26)两种。

图1-4-25 封闭式牵引构件

1-输送链 2-轨道 3-挂拍

图1-4-26 敞开式牵引构件

1-牵引链 2-滑架 3-挂拍 4-管轨 5-型轨

封闭式悬挂输送的特点是:运行轨道是一个三面封闭的矩形状管道。牵引构件的运行部分封闭在管道内,管道底部中线处有一条狭槽,吊挂件由此与牵引构件连接。

敞开式悬挂输送的运行轨道截面为“”型或圆管轨道。其运行部件全部外露,便于用户维修和清洗。目前,这种悬挂输送形式被越来越多的用户所采用。

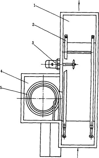
3.2 电晕机(图1-4-27)

图1-4-27 水浴式电晕机

1-高度调整装置 2-控制箱 3-电晕水池 4-机架

电晕机的作用是通过对活禽电击,使其处于晕而不死状态,以保证宰杀位置准确和放血彻底。国内普遍采用水浴式电晕机。它主要由机架、电晕水池、控制箱和高度调整装置等部分组成。

当吊挂着的活禽通过电晕机时,禽头触水,与火线相连;禽爪同时触及导杆,接通零线电极,形成电晕电流回路。电晕机工作电压一般在110V以下。

3.3 宰杀台(图1-4-28)

图1-4-28 宰杀台

1-导向装置 2-电机 3-圆盘割刀

宰杀台用于完成对电晕昏厥后的活禽进行宰杀作业。它主要由导向装置、定位装置和旋转割刀等部分组成。禽体通过导向装置被准确地送到定位部分,由高速旋转的圆盘割刀自动宰杀。

3.4 浸烫机

浸烫机用于完成家禽脱羽前的浸烫作业。通常采用的浸烫机有两种:一种是脱钩式浸烫机;另一种是吊挂式浸烫机。

3.4.1 脱钩式浸烫机(图1-4-29) 脱钩式浸烫机又称卧式螺旋浸烫机。它主要由浸烫槽、螺旋胶棒推进器、循环水泵、禽体输出装置以及加热管路等组成。

1-4-29 脱钩式浸烫机

1-螺旋轴驱动装置 2-浸烫槽 3-螺旋轴 4-禽体输出装置 5-加热管路 6-循环水泵

净血后的禽体由卸禽装置卸入浸烫水池,螺旋胶棒推进器一边向前推进禽体,一边搅动禽体,同时配合循环水泵使热水循环,保证池内水温均匀。浸烫后的禽体由输出装置送入脱羽机。

3.4.2 吊挂式浸烫机(图1-4-30) 吊挂式浸烫机主要由浸烫槽、加热管路、水循环泵等部分组成。

净血后的禽体吊挂在悬挂输送线上进入浸烫池。水循环泵搅动水流,促使池内水温均匀的同时,产生瀑布状水流冲向禽体,加强浸烫效果。吊挂式浸烫时间均匀、一致。对于鸭、鹅这类水禽的浸烫,为了避免浸烫过程的禽体漂浮现象,提高浸烫效果,有的增加了导入杆和夹持链或压禽胶棒轴。

图1-4-30 吊挂式浸烫机

1-浸烫槽 2-加热水管 3-水循环搅拌泵

3.5 脱羽机

脱羽机用于脱去禽体上的羽毛。国内禽类屠宰生产线上普遍使用的脱羽机有卧式滚筒脱羽机和立式转盘脱羽机两种机型。

3.5.1 卧式滚筒脱羽机(图1-4-31) 卧式滚筒脱羽机主要由上、下两层多排滚筒组成。每个滚筒表面按一定规律排列有若干个橡胶指杆。上、下滚筒间距可通过调整螺杆进行调整。

图1-4-31 卧式滚筒脱羽机

1-上排脱羽滚筒 2-电机 3-机架 4-下排脱羽滚筒 5-调整螺杆

浸烫后的家禽由卸禽器或输出装置自动卸入脱羽机入口。上、下滚筒同向差速转动,禽体在上、下滚筒指杆的揉搓下,完成脱羽作业。

3.5.2 立式转盘脱羽机(图1-4-32) 立式转盘脱羽机主要由脱羽箱体、机架、角度和高度及间隙调整等部分组成。两侧脱羽箱体上各安有2~3排脱羽盘(用于鹅、火鸡加工的脱羽机,配有4排脱羽盘),脱羽盘上安有若干橡胶指杆。

图1-4-32 立式转盘脱羽机

1-脱羽箱体 2-脱羽盘 3-机架 4-间距调节 5-高度调节 6-角度调节

浸烫后的家禽吊挂在悬挂输送线上进入两脱羽箱体之间,相对两侧脱羽转盘逆向高速旋转,转盘上的橡胶指杆因离心力作用沿径向向外弯曲,形成揉搓面,对禽体进行揉搓,完成脱羽作业。

3.6 浸蜡机(图1-4-33)

图1-4-33 浸蜡机

1-浸蜡槽 2-加热器Ⅰ 3-搅拌器 4-熔蜡槽 5-加热器Ⅱ

浸蜡机用于完成对脱羽后的鸭、鹅禽体挂蜡作业。它主要由浸蜡槽、熔蜡槽、加热器Ⅰ加热器Ⅱ和搅拌器等部分组成。

专用石蜡在熔蜡槽内熔化后,蜡液滴入浸蜡槽。浸蜡槽内的加热器以水为介质,维持蜡液温度,搅拌器用于使浸蜡槽内各点水温趋于均匀。禽体脱羽后,吊挂在悬挂输送线上进入浸蜡池,经过一定时间,使禽体体表挂上蜡层。

3.7 冷蜡机(图1-4-34)

图1-4-34 冷蜡机

1-搅拌器 2-蒸发器 3-冷却槽 4-补水装置

冷蜡机用于快速冷却禽体体表的蜡层,使其冷凝硬化,形成硬壳状,易于固结住禽体体表残留绒毛。冷蜡机主要由冷却槽、蒸发器和搅拌器等部分组成。

浸蜡后的禽体吊挂在悬挂输送线上进入冷却槽,在0~5℃的冷水中运行一定时间后,使其体表蜡层硬化,形成硬壳。

3.8 脱蜡机

脱蜡机用于将冷蜡后禽体体表的蜡层剥去,其结构形式和工作原理与脱羽机基本相同,参见本节3.5。

3.9 预冷装置

预冷装置用于降低净膛后的家禽胴体温度,便于成品入库贮存。预冷也分为吊挂式预冷和脱钩式预冷两种形式。

3.9.1 吊挂式预冷装置(图1-4-35) 吊挂式预冷装置主要用于中、小型禽类屠宰生产线,由预冷水池和蒸发器等组成。

图1-4-35 吊挂式预冷装置

1-预冷水池 2-制冷剂入口端 3-蒸发器 4-回液接口端

净膛后的胴体吊挂在悬挂输送线上,进入预冷水池,在0~4℃的冷水中运行,经过一定的时间,胴体温度降至9℃以下。预冷蒸发器用于将预冷池内水温降至或保持在0~4℃,它通过管路与制冷压缩机组相连。

3.9.2 脱钩式预冷装置(图1-4-36) 脱钩式预冷装置又称为螺旋预冷机。它主要由水槽、螺旋推进器、吹气管路(接风机)等部分组成。预冷水槽内的水由冰片降温或由冷水机提供0~4℃的冷水。

图1-4-36 脱钩式预冷装置

1-螺旋推进器 2-水槽 3-捞禽器 4-吹气管路

作业时,胴体由自动卸禽器卸入水槽入口,螺旋推进器缓慢转动,将胴体向输出端推进,吹气管路与风机相连接,不断从水池底部向上吹气,使胴体浮动,防止积存水池底部。到达输出端的胴体,由捞禽部分捞出,并卸入接禽槽。

随便看

 

离鸟网收录3541549条中英文词条,其功能与新华字典、现代汉语词典、牛津高阶英汉词典等各类中英文词典类似,基本涵盖了全部常用中英文字词句的读音、释义及用法,是语言学习和写作的有利工具。

 

Copyright © 2004-2024 vtrois.com All Rights Reserved
更新时间:2026/4/21 7:08:07