网站首页  词典首页


请输入您要查询的字词:

 

字词 离心筛
类别 中英文字词句释义及详细解析
释义

离心筛


1.A型离心筛

(1)概述

A型离心筛是利用筛板前后浆料的压力差使纤维通过筛板孔的筛选设备。

筛鼓内外充满浆料,旋转的转子产生的离心力较小,主要靠浆位差进行筛选,所以,筛孔不宜过大,筛浆浓度不能过高,但尾浆量较大,筛选效率低,因此A型筛正逐渐被淘汰。

(2)A型离心筛的技术特征(表6-5-22)

表6-5-22A型离心筛的技术特征

(3)A型离心筛筛选草浆的工艺条件(表6-5-23)

表6-5-23A型离心筛筛选草浆的工艺条件

(4)A型离心筛的技术经济指标(表6-5-24)

表6-5-24A型离心筛的技术经济指标

①调节进浆浆位和良浆浆位,是提高筛选产量和筛选效率的关键。

②进浆浓度提高,尘埃度降低率也提高,但尾浆中良浆含量增加。适宜的进浆浓度为0.6%左右。

2.B型离心筛

B型离心筛(又称比法尔筛)它有一定的浆位压差,固定式的筛鼓分成三个区,筛孔由大到小。

转子为空心长圆筒,由主轴、两端的铸铁轮鼓和钢板圆筒组成。在圆筒表面装有9个平行叶片,在进浆端装有8~9片弯曲的导流片,回转时使鼓内浆料均匀分布于筛鼓内产生动压头,由平行叶片产生的浆环流,沿螺旋运动,良浆在动压头与浆位差的静压头作用下通过筛孔。

B型筛筛选质量好,筛孔不易堵塞,分区筛选,尾浆量少。但产量低,结构复杂,检修不便。目前正逐渐被淘汰。

3.C型离心筛

(1)概述

主要筛型为冠文筛,它有固定的筛筒,内装有空心轴的转子,转子上由10个放射状叶片组成。距进浆口1/2~1/3的空心轴上装有圆型挡板.把筛内分成两个筛浆区。

图6-5-13 B型离心筛

1-外壳 2-筛鼓 3-轴承 4-转动轴 5-轴头 6-转子 7-外翼 8-内翼 9-稀释水孔眼 10-纸浆进口 11-稀释水进口 12、13-隔板 14-排渣口

图6-5-14 C型离心筛

1-纸浆进口 2-纸浆分配板 3-挡板 4-喷水孔 5-挡板 6-转子 7-筛鼓 8-外壳 9-皮带轮 10-细浆出口 11-筛渣出口 12-稀释水进 13-转动轴

在进浆口的一区中,浆料在浆叶作用下产生足够的离心力,均匀分布在圆筒筛鼓逐渐通过筛孔。未通过筛孔的浆料沿转子轴向力流动经过圆盘形挡板进入第二区(靠近粗渣口侧)。

通过连接稀释水管的空心转轴中央喷水水孔,稀释已增浓的浆料,并在叶片作用下,形成浆环,通过筛孔,继续完成筛选过程。

C型离心筛较A型、B型离心筛单位面积产量高,对浆适应性大,动力消耗低,筛选效率高。

(2)C型离心筛主要技术特征(表6-5-25)

表6-5-25C型离心筛主要技术特征

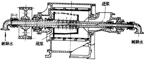
图6-5-15 C型筛浆机原理图

(3)C型离心筛的筛选工艺条件(表6-5-26)

表6-5-26C型离心筛的筛选工艺条件

(4)C型离心筛的技术经济指标(表6-5-27)

表6-5-27C型离心筛的技术经济指标

(5)进浆量与动力消耗浓度的关系(表6-5-28)

表6-5-28 进浆量与动力消耗浓度的关系

①提高进浆浓度,可获较高的筛选效率,转速高的C型筛,筛选效率可达80~85%,而一般在65~70%范围内。

②要配有流浆箱,浆速不超过0.5m/s,保持进浆的溢流量10~15%。

③有足够浆位差0.9~2.1m。

④稀释水压0.2~0.8MPa,稀释水量为进浆量的20~30%。

4.CX型离心筛

(1)概述

CX筛是在C型冠文筛的基础上发展的,特别是吸收了各种离心筛的特点,在原有基础上改进和提高的ZSL1-4型离心筛,具有生产能力大,筛选效率高,电耗低,结构紧凑,占地面积小,拆洗检修方便等特点。

(2)CX型离心筛结构上的特点

①转子由冠文筛的两个筛区发展成三个筛区。

②稀释水管由1根变为2根,分别由空心轴两侧进入第一及第三筛选区。

③转子叶片带有夹层,稀释水从夹层直接喷到鼓圆周,增强对筛板孔的冲刷能力。

④稀释水的喷水孔径与孔数,可按实际需要进行调整分配稀释水量和水压,增加稀释面积。

⑤转子转速的提高,更适合草类浆料及叩解度较高的浆料进行筛选,可提高筛选浓度与生产能力。

⑥CX筛的不足之处,主要是排渣不畅,叶片挂浆及两叶片间死角堵浆,增加负荷,损坏设备。

(3)ZSL1-4型离心筛的特点

ZSL1-4离心筛是由CX离心筛改进并吸收B型离心筛特点而制成的。

①转子仍有三个筛选区,取消第二和第三筛选区的挡浆板,两叶片间死角用钢板封死,使第二第三筛选区成为空心多边鼓型转子,克服了CX筛挂浆、堵塞现象。

②在排渣口处叶片伸入在凹槽中,使尾浆在叶片的离心力作用下从排渣口畅通排出。

③两端进入空心轴的稀释水,可按需调配,使浆料筛分更好,是更适合我国草浆筛选的设备。

(4)ZSL1-4型离心筛的技术特征(表6-5-29)

表6-5-29ZSL1-4型离心筛的技术特征

表6-5-30CX型离心筛的经济技术指标

(5)CX筛的工艺条件与影响筛选效率的因素

表6-5-31CX筛的工艺条件与影响筛选效率

表6-5-32 浓度影响因素(1.6m2CX筛,450r/min)

①CX型筛必须在满负荷下筛选,要有足够容积的稳浆箱,浆位应保持1.2~2.4m的静压头。

②稀释水可用白水或清水,当进浆浓度在2~3%时,稀释水为进浆量的100%,水压控制在0.05~0.15MPa。

③筛孔的选择可参考表6-5-33。

表6-5-33 筛孔系列与纤维平均长度的关系

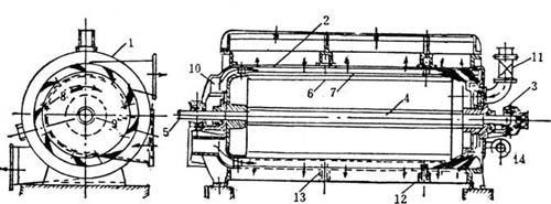
图6-5-16 CX型离心筛

图6-5-17 ZSL1-4型离心筛

图6-5-18 筛孔排列与节距

说明:粗线内的尺寸为优先选用范围。

开孔率(%);

表内:d——筛孔直径(mm);

t——筛孔中心距(mm);

B——筛板开孔率(%)

表6-5-34 筛孔的选用实例

5.使用中产生的故障原因分析及排除办法(表6-5-35)

表6-5-35 离心筛使用故障及排除

6.设备的维护

(1)运行中的维护

检查各填料盒是否有漏水现象,如有漏水现象可拧紧填料压盖上的螺母,要求两个螺母均匀压紧。

轴承箱要有足够润滑脂,具体要求见表6-5-36。

表6-5-36 离心筛的润滑

(2)停机时维护

打开外壳对设备进行清洗,检查筛板是否已堵或破裂。如已堵,则用清水冲洗或纲丝刷刷洗,如已破裂应及时更换。在填料盒压盖拧紧后仍有漏水现象,应及时调换盒内编织填料,调换后用手检查,在运转第一小时内填料盒不得有发热现象。

随便看

 

离鸟网收录3541549条中英文词条,其功能与新华字典、现代汉语词典、牛津高阶英汉词典等各类中英文词典类似,基本涵盖了全部常用中英文字词句的读音、释义及用法,是语言学习和写作的有利工具。

 

Copyright © 2004-2024 vtrois.com All Rights Reserved
更新时间:2026/4/19 5:41:49