网站首页  词典首页


请输入您要查询的字词:

 

字词 离合器
类别 中英文字词句释义及详细解析
释义

离合器


(一)离合器的工作原理

大中型拖拉机广泛采用摩擦式离合器,靠主动和从动部分之间的摩擦力传递扭矩,其工作原理如图4-1所示。飞轮、压盘和离合器盖随发动机曲轴一起旋转,是离合器的主动部分;从动盘经花键孔套装于离合器轴的花键齿上,为离合器的从动部分;压盘与离合器弹簧使主、从动部分压紧在一起,称为离合器的压紧机构;分离拉杆、分离杠杆、分离轴承、拨叉、拉杆与踏板构成离合器的操纵机构。

图4-1 离合器工作原理简图

a.离合器踏板自由行程 b.离合器踏板工作行程

1.飞轮 2.从动盘 3.离合器盖 4.压盘 5.分离拉杆 6.踏板 7.拉杆 8.拨叉 9.离合器轴 10.分离杠杆 11.分离轴承座套 12.分离轴承 13.离合器弹簧

当离合器踏板不受外力时,主、从动部分被离合器弹簧紧紧地压在一起,使离合器处于接合状态,通过飞轮、压盘和从动盘之间的摩擦力将发动机的扭矩传给变速箱。离合器处在接合状态时,分离杠杆内端与分离轴承端面之间的间隙△称为离合器间隙。与离合器间隙△相对应的踏板行程称为离合器踏板自由行程,见图4-1a。

当踩下离合器踏板时,拨叉拨动分离轴承座套前移,首先消除离合器间隙,然后推压分离杠杆绕支点摆动,通过分离拉杆拉动压盘克服离合器弹簧的压力而向后移动,使压盘、飞轮和从动盘之间出现分离间隙(△1+△2),此时离合器处于分离状态,摩擦力消失,动力被切断。与分离间隙相对应的踏板行程称为离合器踏板工作行程,见图4-1b。离合器自由行程与工作行程之和称为离合器踏板总行程。

逐渐松开离合器踏板时,被压缩的离合器弹簧随之伸展,从动盘又被压盘压紧在飞轮表面上,离合器恢复接合状态。这种离合器在没有外力情况下经常处于接合状态,所以叫做常压式离合器。

(二)离合器的构造

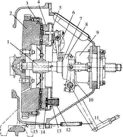
以东方红-75、802型拖拉机离合器为例。东方红-75、802型拖拉机采用单片、干式、常压、单作用、摩擦离合器,其结构如图4-2和图4-3所示。主动部分的离合器盖用螺钉紧固在飞轮上,离合器盖外圆上铆有3个销座,座孔内压入的方头驱动销分别伸进压盘外圆的方形缺口内,这样压盘通过驱动销与飞轮一起旋转,同时能作轴向移动(图4-3)。从动部分的从动盘由钢片、石棉摩擦衬片、甩油盘和轮毂铆制而成,铆钉头埋入衬片1~2mm,防止损伤摩擦表面。离合器轴的前端用滚珠轴承支承在飞轮接盘的中心孔内,后端支承在离合器壳的球轴承中。从动盘轮毂与离合器轴花键连接、同步旋转,并能作轴向移动。压紧机构有15个压紧弹簧,弹簧前端通过隔热片作用于压盘上,后端安置在弹簧座内。操纵机构由分离拉杆、分离杠杆、分离轴承、分离拨叉、拉杆和离合器踏板等组成。3个分离杠杆均匀地安装在离合器盖上,可绕销轴摆动,外端经圆柱面垫圈、调整螺母与分离拉杆相连,分离拉杆前端与压盘相连,分离杠杆内端与分离轴承相作用。分离轴承装于分离套筒内,在踏板、拉杆和分离拨叉作用下前后移动,使离合器分离或接合。东方红-75、802型拖拉机的离合器轴上安装有小制动器,在离合器分离后,立即制动离合器轴,以便迅速、无冲击地挂挡。

东方红-802型拖拉机离合器的结构与东方红-75型拖拉机的基本相同,其分离机构的主要改进如图4-4所示。将传动销头部尺寸加大,使其大于压盘导向槽底平面尺寸,磨损后仍能保证离合器分离彻底。加大分离

图4-2 东方红-75型拖拉机离合器

1.离合器轴 2.飞轮 3.从动盘 4.压盘 5.分离拉杆 6.分离杠杆 7.分离轴承 8.分离套筒 9.支架 10.分离拨叉 11.拉杆 12.压紧弹簧 13.弹簧座 14.隔热垫片 15.离合器盖

图4-3 东方红-75型拖拉机离合器压盘的驱动

1.压盘 2.飞轮 3.离合器盖 4.驱动销 5.销座

杠杆外端的分离拉杆通过孔导角,防止分离拉杆弯曲和折断。使分离杠杆内端向前弯曲一个角度,改变其初始位置,增加分离杠杆的强度。

图4-4 东方红-802型拖拉机离合器的分离机构

1.离合器盖 2.传动销 3.压盘 4.分离拉杆 5.分离杠杆 6.球面垫 7.销轴

随便看

 

离鸟网收录3541549条中英文词条,其功能与新华字典、现代汉语词典、牛津高阶英汉词典等各类中英文词典类似,基本涵盖了全部常用中英文字词句的读音、释义及用法,是语言学习和写作的有利工具。

 

Copyright © 2004-2024 vtrois.com All Rights Reserved
更新时间:2026/4/20 7:53:53