网站首页  词典首页


请输入您要查询的字词:

 

字词 离合器
类别 中英文字词句释义及详细解析
释义

离合器


(一)离合器的类型和功用

小型拖拉机和三轮农用运输车多采用双片弹簧加压干式摩擦式离合器。其功用是:

1.传递和切断动力 离合器可以把发动机的动力传递给变速箱,也可以在分离状态下,把发动机传到变速箱的动力切断,便于换挡和防止打坏变速箱齿轮。

2.保证机车平稳起步 通过逐渐结合离合器,使传递的动力逐渐增大,以保证机车平稳起步。

3.起安全保护作用 当机车超负荷工作或起步过猛时,离合器发生打滑,以免损坏零件。

(二)离合器的构造

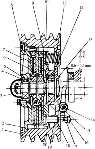
离合器构造如图3-1所示,它由胶带轮、压盘、主动盘、从动盘、皮带轮盖、离合器弹簧等主要零件组成。

图3-1 离合器

1.胶带轮 2.胶带轮盖 3.轴承盖 4.纸垫 5.滚动轴承60204 6.离合器从动盘总成 7.离合器主动盘 8.皮带轮盖紧固螺钉 9.离合器压盘 10.挡圈 11.离合器弹簧 12.滚动轴承60260 13.毡圈 14.销轴A8×32 15.分离杠杆 16.锁紧螺母 17.离合器调整螺母 18.调整螺杆 19.封尘圈 20.封尘弹簧

压盘和主动盘外圆圆周上有3个互隔120°的凸耳,与离合器壳体内缘的3个凹槽相配合。因此,压盘和主动盘不仅能随胶带轮一起转动,而且可在皮带轮槽内作轴向移动。两个从动盘铆有磨擦片,分别置于主动盘两侧,并通过铆在其上的内花键套与离合器轴的花键部分配合,既能带动离合器轴转动,又能在离合器轴上沿花键作轴向移动。离合器总成靠两个轴承支承在变速箱Ⅰ轴上。6个离合器弹簧均匀分布在压盘端面与皮带轮之间,把主、从动件压紧在一起,使离合器处于接合状态。3个分离杠杆彼此相隔120°,杠杆的中部通过销轴分别与皮带轮上的支座相铰接,外端的缺口卡在与压盘相连的调整螺杆上,内端与分离轴承有一定的间隙,此间隙称离合器间隙。

(三)离合器操纵机构

离合器操纵机构是用来操纵离合器分离和结合的机构。小四轮拖拉机(东方红-150)的离合器操纵机构如图3-2所示,由分离爪、拉杆、踏板轴、踏板等主要零件组成。分离爪的一端加工有分离斜面,与分离座的分离斜面相接触。分离拉杆一端拧有拉杆接头,通过销轴与分离爪摇臂连接,拉杆的另一端与踏板轴摇臂相连。踏板轴摇臂与踏板分别固定在踏板轴的两端。

图3-2 小四轮拖拉机离合器操纵机构

1.分离爪 2.分离爪摇臂 3.拉杆接头 4.拉杆 5.踏板轴摇臂 6.踏板轴 7.踏板回位弹簧 8.踏板

手扶拖拉机(红卫-12)离合器操纵机构,如图3-3所示,由分离爪、拉杆、操纵手柄和定位板等主要零件组成。定位板上有“合”、“离”和“制动”3个位置,手柄处在“合”位置时,离合器接合,处在“离”位置离合器分离。

图3-3 手扶拖拉机离合器操纵机构

1.分离爪 2.分离爪座 3.调整螺套 4.拉杆 5.操纵手柄 6.定位板

(四)离合器的工作过程

当不踏离合器踏板或手柄处在“合”位置时,离合弹簧使压板、从动片、主动片和胶带轮盖紧紧地贴合在一起,如图3-1所示。发动机的动力通过压板主动片胶带轮盖与从动片之间的摩擦力传到变速器Ⅰ轴。

当踏下离合器踏板或将手柄扳到“离”的位置时,通过操纵机构使分离爪相对分离座转动一个角度,因为分离爪和分离座的接合面是螺旋斜面,所以分离爪转动的同时,并按箭头所示的方向(图3-4)作轴向移动。通过分离轴承推动分离杠杆内端,使分离杠杆绕其支点作逆时针摆动,分离杠杆外端通过调整螺杆拉动压盘向箭头相反的方向移动,使主、从动件之间出现间隙,离合器处于分离状态,从而切断离合器与变速箱之间动力传递。

图3-4 离合器分离状态

随便看

 

离鸟网收录3541549条中英文词条,其功能与新华字典、现代汉语词典、牛津高阶英汉词典等各类中英文词典类似,基本涵盖了全部常用中英文字词句的读音、释义及用法,是语言学习和写作的有利工具。

 

Copyright © 2004-2024 vtrois.com All Rights Reserved
更新时间:2026/4/19 13:19:52