网站首页  词典首页


请输入您要查询的字词:

 

字词 盘式挤出机
类别 中英文字词句释义及详细解析
释义

盘式挤出机


盘式挤出机是无螺杆挤出机,有两种主要类型:粘性阻力盘式挤出机和弹性熔体挤出机。

1.粘性阻力盘式挤出机

(1)阶梯形盘式挤出机或滑垫式挤出机。其简图见图3-14。此挤出机的关键部件是阶梯盘,盘中有出料通过,聚合物能以连续的方式挤出。此挤出机的缺点是流道设计复杂,清洗困难。

图3-14 阶梯形盘式挤出机简图

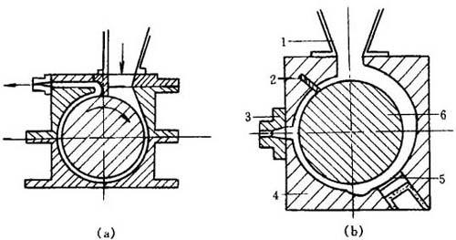
(2)鼓式挤出机。如图3-15所示,物料由进料斗喂入转子与机筒的环形空间,转子的转动,使物料沿料筒圆周输送。

图3-15 两种鼓式挤出机结构图

(a)Schmid Kocher (b)Askco/cosden

1-料口 2-刮棒 3-模头 4-外壳 5-转子 6-可调挡块

(3)组合盘式挤出机。如图3-16所示,物料投入装配在放置轴上的较薄型盘之间的轴向缝隙。物料随盘运动几乎一整圈后,碰到料道的挡板,料道挡板封闭盘间的空间,并使聚合物转向出口的料道或机筒上的转换流道。据报道,当今仍有可能开发这种挤出机,使其商品化。

图3-16 组合盘式挤出机示意图

1-料道挡板 2-熔池 3-轴 4-固体床 5-机筒

2.弹性熔体挤出机

该挤出机是靠塑料熔化时的粘弹作用而挤出的。与纯粘性流体相比,当弹性流体受剪切形变时,在流体中将形成在各方向上不相等的传向应力。在弹性挤出机中,塑料是在静止的旋转的两平板间受到剪切,见图3-17所示。

图3-17 弹性熔体挤出机示意图

1-料斗 2-固体塑料 3-加热器 4-模口 5-挤出物 6-塑料熔体

随便看

 

离鸟网收录3541549条中英文词条,其功能与新华字典、现代汉语词典、牛津高阶英汉词典等各类中英文词典类似,基本涵盖了全部常用中英文字词句的读音、释义及用法,是语言学习和写作的有利工具。

 

Copyright © 2004-2024 vtrois.com All Rights Reserved
更新时间:2026/4/20 4:27:33