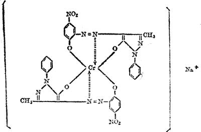
〔结构式〕

〔质量规格〕

〔性质〕
1.能溶于酮类、醇类、酯类和醇醚类等有机溶剂。
2.能与丙烯酸树脂、硝化纤维清漆、聚氨酯树脂相混,可作为着色材料。
3.具有色调鲜艳、匀染性较好,耐干、湿擦,脱色牢度优良。
〔制备方法〕

〔用途〕
苯胺革着色。
〔贮运使用注意事项〕
1.染料为易燃品,存放和使用时严防与明火接触。
2.染料包装容器应密封,防止溶剂挥发造成染料析出。
3.如遇染料液浑浊,乃系染液过饱和,染料析出之故,应将染料液静置,澄清过滤后使用。过滤出来的染料可用酒精或乙二醇乙醚溶解后使用。
4.使用时应加渗透剂,以防喷涂后产生浮色。
〔生产单位〕
青岛染料厂。