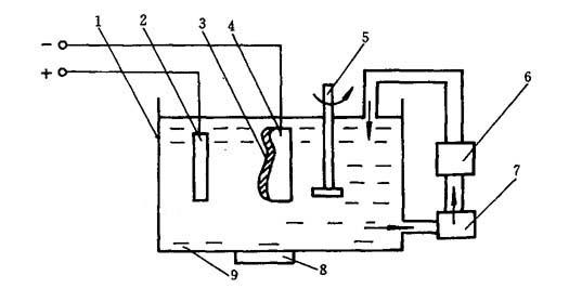
如图7-32所示.芯模(表面导电)4与电源负极连接作为阴极.阳极2选择与电铸层3相同的金属材料.电铸液9应是电铸层材料的金属盐.

图7-32 电铸原理示意图
1—电铸槽;2—阳极;3—电铸层;4—芯模(阴极);5—搅拌器;6—过滤器;7—泵;8—加热器;9—电铸液
若两极通电,电铸液中的金属离子(正离子)在阴极(工件)上得到电子还原为金属沉积于芯模表面.阳极上的金属原子失去电子成为金属离子溶解于电铸液中,以补充电铸液中金属离子在阴极上的沉积而导致的电铸液中金属离子的消耗.随反应不断进行,芯模上沉积的金属层亦越来越厚,达一定厚度,将这个壳层取出来,这个壳体就是电铸件,其形状及粗糙度与芯模相同.