网站首页  词典首页


请输入您要查询的字词:

 

字词 电磁波分析法
类别 中英文字词句释义及详细解析
释义

电磁波分析法


(一)软X射线分析法

X射线与电波、可见光相同,是电磁波的一种,只是波长不同。但X射线具有很强的穿透能力,穿透能力又受物质密度的影响,密度大,穿透能力小;密度小,穿透能力大。我们做身体透视检查时能看清身体内部的骨骼与其他部位,就是利用了这个原理。对于可见光而言,即使只有一张黑纸也无法通过;可见光具有反射性质而X射线没有同样的反射。

所谓软X射线是指长波长区域的X射线,比一般的X射线能量低、物质穿透能力差。在果蔬检测方面,因果蔬的密度与骨骼等物质相比要小得多,所以所需X射线强度很弱,软X射线足以满足实际检测要求。

应用软X射线可以检测如马铃薯、西瓜内部的空洞,柑橘的皱皮等内部缺损现象。柑橘在生长过程中,由于环境条件的影响,常出现皱皮现象(果皮大,果肉小)。皱皮果的水分少,味道差,属等外品,在进行分级时必须将其分选出来。

在利用X射线检测果蔬时,人们常常存有各种顾虑,担心残留问题。首先,X射线不是放射能,不存在残留问题;使用的X射线能量低,被照射的果蔬不会被放射化;检测用的X射线,不会损伤果蔬营养,不会改变果蔬风味,另外,软X射线没有杀菌、防腐的效果。

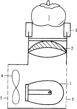
1.西瓜空洞的检测

图6-6为一西瓜空洞检测装置示意图。如图所示,软X射线发生器和X射线照相机以被测西瓜为中心,分别布置在西瓜的上下,该图所示为软X射线发生器在上,向下发射X射线,在西瓜的下方是X射线照相机。

图6-6 西瓜空洞检测装置

X射线照相机的检测直径范围最大为Φ150mm,对于尺寸大的西瓜而言,虽然只能检测Φ150mm范围内的中心部,不能观察全貌,但由于空洞现象常发生在西瓜的中心部附近,在实际使用中不会成为大问题。空洞检测范围与西瓜大小之间的关系如图6-7所示。西瓜的直径大小差异很大,不同大小的西瓜需要不同的X射线强度,为了及时调节X射线强度,先用光电管测量西瓜的大小,然后根据测量的西瓜直径调节X射线的发射强度。包括输送带在内,整个X射线检测装置置于安全保护罩内。

图6-7 空洞检测范围与西瓜大小之间的关系

在由X射线照相机摄取的西瓜内部图像中,白色代表空洞部分,黑色代表果肉。如果是没有空洞的西瓜也就没有白色部分,相反,如有空洞则会出现白色部分,因此,利用这个原理很容易将它们区分出来。实际判断情况如图6-8所示。

图6-8 三种空洞判断情况

2.柑橘皱皮果的检测

图6-9为一柑橘皱皮果检测装置示意图与检测波形。检测装置由X射线发射、接收、遮挡罩板、输送带、计算机等组成。为了人身安全,用2.3mm厚的铁板制成防护罩,防止X射线的泄露。X射线发射装置与接收装置分别布置在输送带的两侧。当输送带上无柑橘输送过来时,接收装置接收全部X射线信号,并变换成电信号,经A/D变换后进入计算机,此时的信号数值最大;当有柑橘通过时,信号数值将随密度的增减而变化。

图6-9 柑橘皱皮果的检测波形

①-电源 ②-控制系统 ③-X线发射装置 ④-接收装置 ⑤-防护罩 ⑥-计算机 ⑦-输送带

检测的结果与我们平时习惯了的图像形式不同,它是以波形形式出现的,这主要是为了减少成像时间,实现快速检测(5个/s)的目的。由图6-9中的下图正常果与皱皮果的波形可以看出,正常果的波形圆滑过度,而皱皮果由于局部密度的突然减小,使得波形中途产生突变,根据波形中有无突变现象或大小,即可检测有无皱皮现象发生。

在实际检测中,检测精度是决定该技术能否应用的关键指标之一。检测精度受多种因素影响,诸如柑橘的检测位置、柑橘的大小、X射线的强度、输送带的速度、判断值的选择等。皱皮是一种生理现象,因常发生在柑橘的柄和花两端,所以X射线扫描区域和计算分析的重点也为两端,中间可以忽略;X射线强度过强和过弱,均造成无法识别波形有无突变问题,在检测前,应根据实际情况进行调节;输送带的速度过快,检测精度降低,过慢将影响生产率;判断值的选择需根据大量实验找出合理的数值。

按照国际组织FAD/IAEA/WHO的规定,当照射在10kGy以下时无需进行安全实验,而本系统的照射为0.03Gy以下,符合规定要求。

X射线在果蔬检测方面的应用及适应性见表6-1。

表6-1 X射线在果蔬方面的应用

注:+++优,++良,+可,-不可。

(二)紫外线分析法

在柑橘的收获、运输、分选过程中,因柑橘与容器间发生表面摩擦、果柄刺伤果实等情况,常使柑橘表面受损。受损后果皮中的精油细胞遭到破坏而析出表面。柑橘一旦受损,不但影响品质而且很快就会发生腐烂,并传染给周围柑橘,严重时,几天内整箱柑橘将会烂掉。虽然在分选过程中,人们可以通过肉眼检测出受损柑橘,但当操作工疲劳以及受损部位与正常部位的差别不大时,常有漏检情况发生。为此,为了提高检测精度,实现自动化,利用无损伤检测技术有效地解决了这个问题。

紫外线波长分布在100~380nm范围之间,尤其是被称为化学线的320~380nm间的紫外线具有激发分子运动的作用。在暗室中,当受损的柑橘受到紫外光源照射时,分子由基态被激发到激发态,分子从激发态回到基态时,损伤部就会通过发出荧光的形式放出辐射能,而荧光属可见光,此时显得格外明亮。与之相反,正常部理论上无可见光。这样,在正常部与损伤部之间就形成了大的明暗反差。损伤果的检测正是利用了柑橘正常部和损伤部在紫外光源照射下的反射差异,通过摄像、计算机图像处理后进行检测的。

图6-10为一在线柑橘损伤果紫外光检测装置示意图,它由摄像机、紫外灯、输送带、光源罩等组成。暗室由光源罩和橡胶帘构成,它的作用是切断可见光源,减少影响因素。光源多采用灯管型日光灯,为了更有效地增强光源强度,将光源罩制成半圆筒形,内表面涂成白色,增加反射效果,其圆心为柑橘的摄像位置。在光源罩上开一圆孔,留出摄像通路。当柑橘进入暗室,到达摄像机下时,摄像机开始摄像,然后由计算机进行图像处理和判断。

图6-10 紫外光检测装置

图6-11为同一柑橘损伤检测时的一组照片,从上图的常规照片中,很难看出有受损现象,但在紫外线光源的照射下,柑橘的上部发出荧光(中图),而柑橘的正常部位几乎无可见光出现,下图为计算机图像处理后的画面,白色面积代表了受损面积。计算白色面积的大小,即可算出损伤面积的大小并做出判断。

图6-11 紫外光检测柑橘损伤

柑橘表面损伤检测精度受到紫外光源强度、紫外光源峰值波长、光源距离、柑橘损伤程度、柑橘的温度、柑橘种类等因素影响。紫外光源的峰值波长影响荧光的强度大小,选择峰值波长为352nm、经特殊加工(可见光少)的光源效果较佳。因紫外光源过强,其效果增加不明显,所以一般以60W为宜。为减少干扰,常在摄像机前加滤光片。值得注意的是,温州蜜橘受损后,在紫外光源的照射下,荧光效果比较明显,而有的橘类果实则没有荧光现象,如柠檬。有无荧光现象关键是看果皮中是否存在发荧光的物质。值得注意的是,有时一些附着在柑橘表面上的农药等物质也会发出荧光,图像处理后呈现白色,这些白色除发光点多、分布分散、形状与损伤部略显不同外,还无其他更好的方法将它们区别开来,有出现错误判断的可能。

另外,利用紫外光照相技术还可检测蔬菜的新鲜程度。

(三)可见光分析法

1.菠萝成熟度的判别

日本在20世纪80年代末期,因外国菠萝的大量进口,使得原产于冲绳县的当地菠萝生产受到很大冲击,鲜食果大幅度减少,为了生产高质量的鲜食菠萝,能在收获前判断菠萝的成熟度,日本科研单位研制开发出了便携式菠萝成熟度检测装置及判断程序,如图6-12。它利用菠萝成熟程度与透光量之间的相关关系以及重病害果不透光的特性,对菠萝的成熟度和病害果进行判别。该装置以自然光为光源,由检测、信号输出增幅放大、演算、结果显示部分组成。透射光及环境光量检测器采用了有效检测面积为100mm2、感应波长范围为190~1100nm、峰值波长960nm的滨松电子社的产品。该检测器的射入光量可在1×10-11~1×10-3W范围内变化,并与输出电流(A)有直线关系。使用温度范围-20~+80℃。透射光检测器的放大器灵敏度设定为107(V/A),环境光量的检测器为105(V/A)。菠萝的成熟度不同,透射光量也不同。相对未成熟果而言,成熟果透射量为10~15倍,过成熟果为10~100倍,它们之间相差很大。为了使输出不超过5V、在不饱和范围内进行检测,采用了ND滤光片(13%、25%、50%、75%)减少透射量。在亮度检测器上也采用了相同的ND滤光片组合。为了使同一菠萝在不同的环境亮度情况下具有相同结果,对透射光量进行了亮度系数修正,确保判断结果正确。

图6-12 菠萝成熟度检测装置

测量时,菠萝贴紧用难以透光的黑色无纺织物覆盖的圆筒状海绵护罩上,打开手柄上的开关。透射果实的光由在护罩中心深处设置的透射光检测器接收,同时果实周围的光量由两个亮度检测器接收。信号经增幅、放大、变换、修正后,果实的成熟度即可得到判断。成熟度通过发红、黄、绿色的LED灯表示,其中,重病害果作为未成熟果处理。经实验,采摘前和采摘后检测精度分别为80%、95%,因此,可作为采摘期预测和采摘后的成熟度检测技术普及推广。

菠萝成熟度检测装置的主要参数见表6-2所示。

表6-2 菠萝成熟度检测装置的主要参数

2.柿子涩度的判别

在日本,柿子中有一种叫早熟的西村甜柿,9月上旬收获,因其颜色好,常作为赠送礼品用,附加值高。但最大缺点是有时夹杂一些涩柿,如何检测涩柿成为难点。涩柿的传统检测方法是观察其形状和颜色,依靠经验进行判断。但柿子的形状、颜色都随收获时间、气象条件的变化而发生微妙的变化,若想完全去除涩柿十分困难。

甜柿和涩柿混合的品种称不完全甜柿,开花时期气温低、花粉管伸张不良、无种子时涩果多。即使是在温室进行栽培、进行人工授粉效果也不理想,有时提高地温可以得到改善。

甜柿和涩柿的差异有两点。一是种子是否均匀地分布在果实中。由表6-3可知,如果没有种子果实是涩柿,即使有种子但偏向一侧,则没有种子部分的果肉发涩。二是有无单宁成不溶性褐变之后的褐变型单宁细胞。

表6-3 西村早熟1果中的种子及赤道部横断面处的种子的分布与树上脱涩程度之间的关系

注:果肉中被认为无褐变型单宁细胞者为涩果。表中的数字表示果实数。

柿子中可溶性单宁成分含量的多少,使柿子呈现出涩与不涩两种不同的口感。单宁呈细胞状分布在果肉中,涩感是单宁(可溶性单宁)在口中破碎流出,与口中的黏膜蛋白质结合,呈现出的一种独特味感。自然脱涩后,单宁凝缩呈不溶性,无涩感。不溶性单宁在果肉中作为褐色物质呈点状分布,通常称其为“芝麻”,通过检测有无“芝麻”,即可进行涩柿的判别。

涩柿判别装置如图6-13所示,主要由光源和镜头组成,可见光由下方照射到果实上。当果实放在检测台上时,自动点灯。如果有“芝麻”时,光大部分被吸收,光的透射极少,果实略显暗色,此时为甜柿,相反,没有“芝麻”时,光透射极多,柿子果实透红明亮,此时为涩柿。通过目测光的透射量可以判断涩柿与甜柿。

图6-13 涩柿判别装置

1-光源 2-聚光镜头 3-遮光海绵 4-冷却风机 5-通风孔

3.图像处理法

在前面简单地介绍了图像处理式分级机。图6-14为图像处理分级机的检测控制系统图。输送带上的黄瓜受到白炽灯的照射,从背景(输送带)抽取的黄瓜图像数据经图像位置的调整、强调、消除干扰等前处理后,以二维排列存入图像存贮器。图像存贮器有数个,数据的存贮和读取由检测电路的存贮器切换信号控制。检测电路解读微处理器的指令,扫描图像存贮器,求出图像外缘坐标作为中间参数,并送入微处理器,进一步控制检测系统的各种动作。通过微处理器解析中间参数,计算出品质等级、尺寸等级的判断数据,该数据被用于驱动果实排出机构。如果图像处理分级机的分选速度为1万个/h,那么就与电子秤重量分选机的生产能力相当。

图6-14 图像处理系统

黄瓜的尺寸等级由长度、粗细、弯曲等5个参数决定。图6-15为一解析算法。其中,(a)用去掉两端5mm、连接中心线的直线长度表示黄瓜长度;(b)在去掉A尺寸的全长上,用最大值及最小值的范围表示黄瓜粗细的测量范围;(c)将中心线与连接两端的直线间的距离的最大值作为弯曲度;(d)测量两端l部分的粗细D值,超过设定值的降低一个等级;(e)测量两端l部分的粗细D值,超过设定值的降低一个等级;(f)弯曲度以与中心线的交点确定的直线AB与直线BC形成的角θ表示。大于设定值的大弯曲角的降低一个等级。

图6-15 黄瓜的分选算法

在实际等级判断中,先由长度决定尺寸等级,其次进行由各个尺寸等级设定的品质等级判断基准值与实测参数值的比较,最终做出优、良、合格等级判断。只有5个参数都是优的黄瓜,最终才能被判断为优,如果4个参数被判断是优,只有一个参数是良的话,那么,最终判断结果为良,即采用的是逻辑操作法AND方式。

(四)近红外分析法

现代近红外光谱分析技术是90年代以来发展最快、最引人注目的光谱分析技术。通常,将波长为0.8~2.5μm的红外线称为近红外线。所谓近红外分析法,就是通过近红外光谱,利用化学计量学方法进行成分、理化特性分析的方法。因近红外光谱是由于分子振动的非谐振动性产生的,主要是含氢基团(OH、SH、CH、NH等)振动的倍频及合频吸收,由于动植物性食品和饲料的成分大多由这些基团构成,基团的吸收频谱表征了这些成分的化学结构,测量的近红外谱区信息量也就极为丰富,所以它适合果蔬的糖酸度以及内部病变的测量分析;例如食品和农产品的常见成分:水、糖度、酸度的吸收反映出基团CH的特征波峰。根据这些基团特征波出现的位置、吸收强度等,可定性、定量地描述某种成分的化学结构。经实验验证,用近红外线测得的糖度值与用光学方法测得的糖度值之间呈直线相关,在波长为914、769、745、786nm时测量精度最高,相关系数约为0.989,标准偏差2.8°Bx左右。

由于有机物对近红外吸收较弱,近红外能深入果实内部,所以可以从透射光谱中获得果实深部信息,故易实现无损检测。此外,近红外光子的能量比可见光还低,不会对人体造成伤害,属于绿色分析技术。但近红外分析是属于从复杂、重叠、变动的光谱中来提取弱信息的技术,要用现代化学计量学的方法建立相应的数学模型。而建立一个优秀的(稳定性好、精度高)模型是近红外光谱分析技术应用的关键。

建立近红外分析方法的步骤有四点:选择有代表性的校正集样本并测量其近红外光谱;采用标准或认可的参考方法测定所关心的组分或性质数据;根据测量的光谱和基础数据通过合理的化学计量学方法建立校正模型,在光谱与基础数据关联前,对光谱进行预处理;对未知样本组成性质进行测定。

1.糖酸度的检测

近红外在果实检测方面,主要用于测量糖度和酸度。图6-16为日本某公司开发的柑橘糖酸度无损伤在线检测装置。该装置主要由光源、光学检测器、数据处理三大部分组成。由于反射光不能反映柑橘内部情况,所以光由果实一侧的中部照射。透射果实内部的光由在线特殊检测器接收,并获得果实的透射光谱,经光电变换进入演算部,在演算部,进行糖酸度计算,并将其结果送往各个装置。因为柑橘皮比较厚,为了使近红外光有足够的能量透射柑橘,加大了光源功率。分选速度为3~5个/s,测量误差在1度以内,果径范围在45~120mm,果高31mm以上,最小果实间隔10mm,适合16种柑橘。利用该装置,柑橘在不受任何破坏的情况下,即可瞬时获得糖酸度值。在显示器上不但分别显示了糖、酸度值,而且还显示了糖酸比,因为代表柑橘是否好吃的指标是糖酸比。酸度值虽然能进行常规测量,但因浓度含量太低,误差比糖度值的误差大。

图6-16 糖酸度在线检测装置

图6-17为一便携式糖酸度检测装置。与固定式相比,除可检测糖酸度,进行品质分级外,还可在果实成长过程中,随时监测其内部成分的变化,提供生长记录,为栽培管理和适时收获提供科学依据。测量数据可存入PC卡中,以备分析时用。该装置的光敏器件采用了硅感光二极管阵列,测量波长范围在600~1000nm,测量用照明光源为钨灯,测量时间可根据初期设定条件更改,测量方式为吸光度、透射率,外形尺寸只有250(长)mm×200(高)mm×100(宽)mm,整机包括充电电池的重量为4.7kg。

图6-17 携带式糖酸度检测装置

2.苹果水心病的判别

苹果的水心病是一种生理现象,有这种现象的苹果易发生褐变,不宜贮藏,但鲜食时备受欢迎。为此,在贮藏前,有必要对苹果进行有无水心病的检测。即有水心病的苹果应该马上上市出售,无水心病或水心病较轻的苹果,应作为贮藏用。利用光学进行苹果水心病的内部无损伤检测技术是近年发展起来的一项新技术。通常,随着苹果成熟度的增加,细胞内糖的蓄积不断增多,由于细胞膨胀、破裂等组织变化,光的散射减少,苹果组织的光学密度降低,透射光量增大。因此,通过检测透光量的多少,就可知道苹果的内部质量情况。

图6-18上图为苹果水心病判别仪,该仪器由光源、信号接收器、外罩、显示面板、手柄组成。苹果的一侧为钨灯光源,一侧为硅光电接收器,测量部分的外形酷似耳机形状。

测量时,先用事先准备好的标准板进行感光度调整,然后将苹果放在光源与接收器之间,罩上用黑布制成的外罩,遮挡住其他光线进行测量。判别结果以长方形盘面上的LED灯的颜色表示,绿色代表无水心病,黄色为有可能发生水心病,红色为有水心病。由图6-18下图的苹果近红外光谱可知,判别苹果有无水心病的适宜波长区域为760~810nm;实践也证明,在上述波长区域内,具有较高的相关关系。

图6-18 苹果水心病判别仪

影响判断结果的因素有很多,如苹果的直径大小、形状、苹果内部组织的粗密、苹果的表面色素、表皮厚度、温度、苹果的品种等。

3.桃表面损伤图像处理分析

近红外线不但可以检测物料的内部成分,还可用于表面的品质评定。桃在收获、运输、分选过程中,极易受到各种损伤,常见的有挤压损伤、冲击损伤、腐烂、脱皮、摩擦损伤、病虫伤等。其中,有些损伤容易识别,而有的损伤难以辨认,如挤压损伤。利用近红外进行摄像,可以扩大人类的视觉范围,使难以辨认的损伤变得更容易些,这就是利用近红外线进行表面损伤检测的意义所在。

图6-19是利用近红外摄像,进行桃的表面损伤检测的装置示意图。它的组成与一般图像处理系统基本相同,摄像机选择了工业用、具有40万象素的CCD TV摄像机TM1740型,该机具有分辨率高,图像变形、荧光屏图像保留现象少等特点。又因该摄像机在1000nm以上的波长区域灵敏度低,且灵敏度以750nm为峰值波长,随着波长的增加逐渐降低。所以滤光片的滤波范围选择了适宜桃损伤果检测的波长带(800~940nm)。光源采用了可见及近红外两区域放射率均良好的150W,色温3070K照相用灯。

图6-19 桃表面损伤检测装置

经实验验证,利用区域·边缘法对有明确轮廓的损伤果的检测有效,利用判别阈值法,对抽取桃的腐烂、虫害、挤压的损伤图像有效。图6-20为桃损伤近红外图像处理照片。

图6-20 桃损伤近红外图像处理

4.近红外成熟度的检测

果实的成熟度一般用着色、底色脱落、果肉软化程度来主观地进行判断。这些量与通过分光分析得到的物理量间的关系如下:

着色——由可见光分光得到的色调等的颜色信息;

底色——叶绿素吸收

软化——随着果肉比阻力变化的光渗透深度变化。

果实成熟度的定义因厂家不同而各异,日本的三井金属矿业公司通过光检测器测量糖度,同时读出叶绿素的吸收以及随着果肉软化光的渗透深度变化,最终的成熟度由这两个物理量计算得出。因此,这种方法适用于那些叶绿素变化少、外观难以辨别的果实。图6-21表示了桃的目视成熟度结果与检测器测定的结果间的关系,由此可以看出,由成熟度检测器判断的成熟果实与过成熟果间的差异,和人工通过经验检测的结果一致。

图6-21 桃的目视成熟度与测量成熟度之间的关系

成熟度检测器是取代人工检测的客观评价尺度之一,利用这种检测器可以进行果蔬适宜收获期的指导,排除过熟果、粉质化苹果。通过颜色检测器(着色)与成熟度值的组合,可分选像梨一样依据颜色难以进行等级分选的果实。

(五)红外线分析法

通常,我们利用长期积累的经验进行果实成熟度的判断,这主要是利用随着果实成熟度的增加,其颜色、硬度、振动的变化。但对于诸如西瓜、甜瓜等外观难以识别的果实而言、成熟度难以判别。果实的成熟会引起呼吸量、生理现象的变化,由此导致表面温度的变化。红外线显像法就是通过果实表面温度的变化进行果实成熟度判别的。利用这种方法时,由于表面温度差非常小,需要进行加大温差操作处理。例如,先贮藏在5℃环境中,测量时移至20℃室温中进行。图6-22所示为甜瓜的表面温度分析。温度测量是在5℃低温室中贮藏1d后取出,再经过9分钟之后进行的。由图可知,温度按未熟、适熟、过熟顺序逐渐升高。

图6-22 红外线显像法

(六)激光分析法

果实的糖度由果实中含有的蔗糖来决定。充分利用蔗糖只吸收特殊光线的性质,通过测量随蔗糖含量而变化的特殊光线量,即可最终确定甜瓜的糖度。图6-23为 1995年日本住友金属矿山公司开发的激光甜瓜糖度在线检测装置。在暗室的不同位置上,甜瓜受到波长分别为880nm、910nm及930nm激光的照射,通过各波长获得的吸光度算出糖度。据介绍,该装置通过转换开关,还可测量甜瓜的成熟度和西瓜的糖度。其性能达到每小时检测7200个,当取检测总数的68%时,其糖度精度达到±0.5°Bx,96%时为±1.0°Bx以内。该装置于1997年在日本北海道得到应用。

图6-23 甜瓜糖度检测装置

随便看

 

离鸟网收录3541549条中英文词条,其功能与新华字典、现代汉语词典、牛津高阶英汉词典等各类中英文词典类似,基本涵盖了全部常用中英文字词句的读音、释义及用法,是语言学习和写作的有利工具。

 

Copyright © 2004-2024 vtrois.com All Rights Reserved
更新时间:2026/4/21 6:01:18