网站首页  词典首页


请输入您要查询的字词:

 

字词 电火花加工时工具电极的安装和找正
类别 中英文字词句释义及详细解析
释义

电火花加工时工具电极的安装和找正


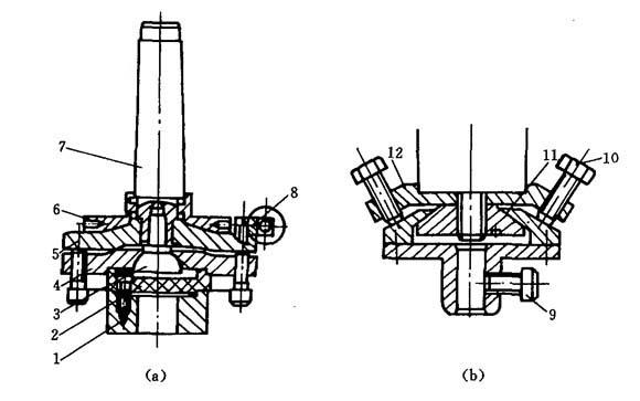
为了能正确地加工出工件,确保质量,必须将工具电极牢固可靠地装夹在主轴电极夹具上,通过调整使其与工作台台面垂直,并与主轴轴线平行,可按x、y坐标和扭转角度,找正工具电极与工件的相对位置.在安装工具电极时要保证加工时不会松动和变形,电极装夹要方便,并具有良好的接触面积,减少电能损耗,同时还要保证电极装置的中心线应与主轴轴线同轴,尽量减少偏心力矩.目前在使用中电极装夹方法很多,常用的有球面铰链工具电极夹头、带调整角装置的球面铰链工具电极夹头等,见图3-16.在国外常用3R系统标准附件,装夹方便可靠,精度高,易于保证加工质量.

图3-16 常用电极夹头

(a)带调整角装置的球面铰链夹头;(b)球面铰链夹头.

1—电极夹头;2—绝缘板;3—球面螺钉;4—摇动盘;5—校正架上板;6—锁紧螺母;7—锥柄;8—调角器座;9—夹紧螺钉;10—调整螺钉;11—球面垫圈;12—下调节板

随便看

 

离鸟网收录3541549条中英文词条,其功能与新华字典、现代汉语词典、牛津高阶英汉词典等各类中英文词典类似,基本涵盖了全部常用中英文字词句的读音、释义及用法,是语言学习和写作的有利工具。

 

Copyright © 2004-2024 vtrois.com All Rights Reserved
更新时间:2026/4/20 7:29:26