网站首页  词典首页


请输入您要查询的字词:

 

字词 电压电流组合互感器
类别 中英文字词句释义及详细解析
释义

电压电流组合互感器


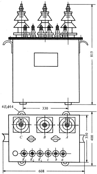
常用的电压电流组合互感器为JLSJW-10型。它能将工频高压线路中的电压及电流,变为低电压及小电流,可直接连接仪表及继电器等,适用于农村户外变电站,其外形见图4-24。其基本参数见表4-42。型号含义如下:

图4-24 JLSJW-10型电压电流组合互感器外形

表4-42 JLSJW-10型电压电流组合互感器的基本参数

本型互感器电压部分在下述的次级极限容量范围和初级电压范围内误差的限值应符合表4-43的规定。

表4-43 JLSJW-10型电压电流组合互感器的最大误差

(电压互感器部分)

次级极限容量范围为:

初级电压范围为:

0.9Ue到1.1Ue

式中 U1——初级电压(V);

Ue——额定电压(V);

Pe——额定容量(VA)。

本型互感器电流部分的比差和相差不超过表4-44的规定。

表4-44 JLSJW-10型电压电流组合互感器的最大误差

(电流互感器部分)

本型互感器的三相油浸自冷式,适用于户外,互感器容器内装用25号变压器油,油面距箱盖约15mm,箱盖上面附有注油塞和防雨雪护盖。

本型互感器铁芯型式:

(1)电压互感器部分为外铁型,用0.35mm硅钢片叠装而成,在中柱上装一次及二次线圈。

(2)电流互感器部分铁芯型式为环型,用0.35mm硅钢片剪成带状卷制而成。在铁芯上穿绕一次和二次线圈。

本型互感器电压部分与电流部分的器身用夹件与箱盖紧固。箱身上装有接地螺丝,并有接地符号标志,供运行时妥善接地。

本型互感器系由单相电压互感器与电流互感器组合而成,互感器三相采用V/V-12接线,如图4-25所示,其线圈数据见表4-45和表4-46。

图4-25 JLSJW-10型电压电流组合互感器接线图

表4-45 JLSJW-10型电压电流组合互感器的线圈数据

(电压互感器部分)

表4-46 JLSJW-10型电压电流组合互感器的线圈数据

(电流互感器部分)

随便看

 

离鸟网收录3541549条中英文词条,其功能与新华字典、现代汉语词典、牛津高阶英汉词典等各类中英文词典类似,基本涵盖了全部常用中英文字词句的读音、释义及用法,是语言学习和写作的有利工具。

 

Copyright © 2004-2024 vtrois.com All Rights Reserved
更新时间:2026/4/19 6:54:36