网站首页  词典首页


请输入您要查询的字词:

 

字词 特种塑料管
类别 中英文字词句释义及详细解析
释义

特种塑料管


(一)径向定向塑料管

径向定向塑料管是由可移动部件组成的特殊模头制造成的。这种特殊模头具有芯模或口模或两者皆能回转式的机头(见图7-11所示)。它具有这样的功能:聚合物管材的内壁上产生圆周方向上的定向,能提高管材的爆破强度。操作条件的严密控制能显着提高其抗冲击性能。图17-12显示了一种所使用的径向定向管模头结构。

图17-11 生产如图17-10所示的螺旋网同轴绝缘旋转芯模机头结构示意图

1-槽 2-加料槽与中心 3-推力轴承 4-驱动轴承 5-轴承

图17-12 用于制造圆周方向定向的塑料管的旋转式芯模的管材模头

1-后轴套 2-主动齿轮 3-轴承

径向定向管材对液体和气体的抗渗透性更高。这使得这种制品可以作为隔离材料,用于仪器和设备包装上。

径向定向管的另一个应用可作为热收缩包装用。

(二)多孔和不同壁厚的塑料管

多孔塑料管是通过轴向模头由销钉和芯模制得的。在图17-13中,芯模装备了一系列液体间歇停留装置。采用销钉在流体流动方向上进行来回摆动可以制成管材壁带有孔的管材。

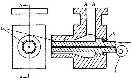
图17-13 用于制造多孔管壁的管材摆动芯模机头示意图

1-间歇停止 2-密封圈 3-摆动轮

图17-14展示了一种能生产具有不同壁厚管材模头结构。这种类型的模头能用于可编程的吹塑挤出机,能用于制造不同壁厚的管材。

图17-14 制造不同壁厚管材的往复运动芯模软管机头示意图

1-密封圈 2-摆动轮

图17-15显示的是常用来制造另一种具有穿孔壁管材的交界面旋转系统。原料与网的原料必须相同。但不同的是,它有小的单丝和大的孔口,相反,单丝很宽而且孔口很小。这种类型的管材常用于滴漏与渗透灌溉系统。如果口模设计得很仔细,那么孔口就做得很小,以使形成管的流量能很精确控制。

图17-15 制造多孔壁管材的模头和旋转口模的模头开度详图

随便看

 

离鸟网收录3541549条中英文词条,其功能与新华字典、现代汉语词典、牛津高阶英汉词典等各类中英文词典类似,基本涵盖了全部常用中英文字词句的读音、释义及用法,是语言学习和写作的有利工具。

 

Copyright © 2004-2024 vtrois.com All Rights Reserved
更新时间:2026/4/20 16:38:39