网站首页  词典首页


请输入您要查询的字词:

 

字词 熔化极氩弧焊设备的组成
类别 中英文字词句释义及详细解析
释义

熔化极氩弧焊设备的组成


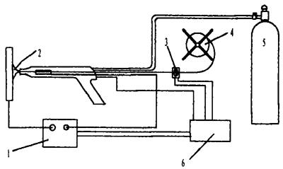
熔化极氩弧焊设备通常由弧焊电源、控制箱、送丝机构、焊炬、水冷系统及供气系统组成。自动熔化极氩弧焊设备还配有行走小车或悬臂梁等,而送丝机构及焊炬均安装在小车上或悬臂梁的机头上。图1-4-1示出了半自动熔化极氩弧焊机的配置图。

图1-4-1 半自动熔化极氩弧焊的配置[2]

1.焊接电源 2.保护气体 3.送丝轮 4.送丝机构 5.气瓶 6.控制箱

1.熔化极氩弧焊电源

熔化极氩弧焊设备使用的电源有直流和脉冲二种,一般不使用交流电源。通常采用的直流电源有:磁放大器式弧焊整流器、晶闸管弧焊整流器、晶体管式、逆变式等几种。

利用细焊丝(直径小于1.6mm)焊接低碳钢、低合金钢及不锈钢时,一般采用平特性或缓降特性的电源,配以等速送丝式送丝机构。这种匹配的优点是,当弧长发生变化时可引起较大的电流变化,电弧自动调节作用强,能够很好地保证弧长的稳定。同时,参数调节方便,通过改变送丝速度可调节电流,改变电源的外特性可调节电压。实际应用的平特性电源并不是真正的平特性电源,其外特性均有一定的倾斜率,但一般不大于5V/100A。这种匹配方式的熔化极氩弧焊设备适用于薄板及中厚度板的焊接。

利用亚射流过渡工艺焊接铝及铝合金时,一般采用恒流特性的电源,配以等速送丝的送丝机构,依靠电弧的固有自调节作用来保证弧长的稳定。利用该类设备焊接时的最大优点是,焊缝成形及熔深非常均匀。

采用粗焊丝(直径大于3.0mm)进行熔化极氩弧焊焊接时,电弧的自调节作用很弱。为了保证弧长自动调节的精度及灵敏度,一般采用均匀送丝(弧压反馈)式送丝机构,配以陡降特性或垂直特性的电源,依靠弧压反馈调节作用保证弧长的稳定。这种均匀送丝熔化极氩弧焊设备通常用于中厚度板及大厚度板的焊接。这种焊接设备的优点是,焊接速度快、效率高,焊接成本低,焊缝质量高。

2.控制箱

控制箱中装有焊接时序控制电路。其主要任务是控制焊丝的自动送进、提前送气、滞后停气、引弧、电流通断、电流衰减、冷却水流的通断等。对于自动焊机,还要控制小车行走机构。

3.气路和水路

熔化极氩弧焊机的气路系统由气瓶、减压阀、流量计、软管及气阀组成。

利用混合气体进行焊接时,要求将两种或三种气体按照一定的配比混合好,然后再输送至软管中。这要求利用一配比器,利用配比器可方便地调整混合气体的配比。采用双层保护气体焊接Ti等活泼金属时,如果两层保护气具有不同的成分,则应采用两套供气系统。

水路系统通以冷却水,用于冷却焊炬及电缆,通常水路中设有水压开关,当水压太低或断水时,水压开关将断开控制系统电源,使焊机停止工作,保护焊接设备不被损坏。

4.焊炬

半自动焊炬是半自动熔化极氩弧焊设备的关键组成部件之一。主要由导电嘴、喷嘴、焊枪体、帽罩及冷却水套等组成。其作用是送丝、导通电流、向焊接区输送保护气体等。按照送丝方式,半自动焊炬可分为推丝式及拉丝式两种。拉丝式焊炬的送丝机构、送丝电机均安装在焊炬上,故焊炬比较笨重,但可在远离焊机的位置作业。而推丝式焊矩结构简单、重量轻、操作灵活,因此应用较广泛。

按照冷却方式,半自动熔化极氩弧焊焊炬可分为气冷式和水冷式两种,额定电流在400A以下的焊炬通常为气冷式,400A以上的通常为水冷式。

自动焊炬按照外形又分为鹅颈式及手枪式两类,图1-4-2示出了两种焊炬的典型结构。表1-4-2为几种国产鹅颈式焊炬的技术参数。表1-4-3为几种国产手枪式焊炬的技术参数。

图1-4-2 熔化极气体保护焊的焊炬[1]

(a)鹅颈式 (b)手枪式

1.喷嘴 2.杠杆开关 3.电缆 4.送丝导管 5.焊丝 6.气体导管 7.控制电缆 8.喷嘴 9.扳机开关 10.出水管和电缆 11.送丝导管 12.焊丝 13.手柄 14.控制电缆 15.进水管 16.送气导管

表1-4-2 国产鹅颈式熔化极气体保护焊炬的技术参数[3]

表1-4-3 国产手枪式熔化极气体保护焊炬的技术参数[3]

5.送丝机

MIG、MAG以及CO2焊所使用的送丝机构是相同的,一般由焊丝盘、送丝电机、减速装置、送丝滚轮、压紧装置以及送丝软管等组成,此外,有些送丝机构还配有焊丝校直装置。送丝机构的主要作用是,将焊丝输送到焊接区,并通过一定的控制方式(等速送丝及弧压反馈)保证弧长的稳定。

(1)送丝机的分类 根据速度调节方式,送丝机构分为等速送丝和均匀(弧压反馈)送丝两种。根据送丝滚轮与送丝软管的相对位置,送丝机构可分为推丝式、拉丝式及推拉丝式三种。

①推丝式 推丝式送丝机构的送丝滚轮位于送丝软管之后,为一种应用最广泛的送丝机构,其特点是结构简单、焊枪轻便。但焊丝进入焊枪前要经过一段较长的软管,阻力较大,因此主要使用于送丝距离小于3m的场合下。

②拉丝式 拉丝式送丝机构的送丝滚轮和送丝电极均安装在焊枪上,其特点是送丝稳定、可靠,但焊枪的重量增加,加重了焊工的劳动强度。

③推拉丝式 推拉丝式送丝机构同时采用推丝电机及拉丝电机,推丝电机提供主要动力,保证焊丝的稳定送进,拉丝电机的作用是将送丝软管内的焊丝拉直,并克服焊丝通过焊丝软管时的摩擦阻力。这种送丝机构的送丝距离可达15m左右,但机构较复杂,目前应用较少。

送丝软管一般用弹簧钢丝绕制,或用四氟乙烯或尼龙等制成。前者适用于不锈钢、碳钢、合金钢等的焊接,后者适用于铝及铝合金等的焊接。应合理选用送丝软管内径,以减小送丝阻力,表1-4-4列出了不同直径的焊丝应选配的送丝软管直径。

表1-4-4 不同直径的焊丝应选配的送丝软管直径(mm)[4]

(2)送丝机的技术参数 表1-4-5列出了国产熔化极气体保护焊送丝机的技术参数。

6.典型国产熔化极氩弧焊机的技术参数

(1)半自动熔化极氩弧焊机 表1-4-6给出了配弧焊整流器电源的国产半自动熔化极氩弧焊机的技术参数。表1-4-7为国产IGBT逆变式半自动熔化极氩弧焊机的技术参数。

表1-4-6 国产半自动熔化极氩弧焊机(配弧焊整流器电源)的技术参数[3]

表1-4-7 国产IGBT逆变式半自动熔化极氩弧焊机的技术参数[3]

(2)自动熔化极氩弧焊机 表1-4-8给出了常用国产自动熔化极氩弧焊机的技术参数。

表1-4-8 国产自动熔化极氩弧焊机的技术参数[3]

随便看

 

离鸟网收录3541549条中英文词条,其功能与新华字典、现代汉语词典、牛津高阶英汉词典等各类中英文词典类似,基本涵盖了全部常用中英文字词句的读音、释义及用法,是语言学习和写作的有利工具。

 

Copyright © 2004-2024 vtrois.com All Rights Reserved
更新时间:2026/4/19 12:15:02