网站首页  词典首页


请输入您要查询的字词:

 

字词 照准部水准管轴应与仪器竖轴垂直
类别 中英文字词句释义及详细解析
释义

照准部水准管轴应与仪器竖轴垂直


1.检验法

1)置经纬仪于平地上,大致安平仪器,放松照准部制动螺旋,转动照准部,使水准管与一对脚螺旋平行。

2)用这对脚螺旋,整平仪器,使水准管气泡居中。

3)将仪器旋转180°,如气泡仍居中,说明轴LL⊥VV。否则,应做校正。

2.校正法

1)用校正针按校正水准仪水准管的方法,拨动水准管校正螺丝,使气泡退回偏离水准管中心距离的一半。

2)用脚螺旋调平,使气泡回到水准管中心。

3)反复检验、校正,直到满意为止。

3.校正原理

1)如图3-19(a)所示,由于水准管的支架高低不平,使水准管轴LL与仪器竖轴VV不垂直,虽调平了LL,但VV仍倾斜,与铅垂线成一交角α。

2)如图3-19(b)所示,照准部旋转180°后,水准管轴LL不再水平,与水平线的交角变为2α,气泡移向水准管高的一侧。

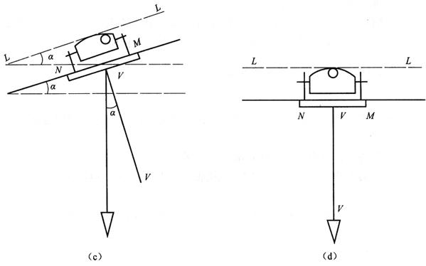
3)如图3-19(c)所示,用校正针将水准管高的一侧放低,使气泡退回偏离中心距离的一半,水准管轴LL的倾斜角也必减少一半,与水平线的交角,也由2α改为α。

4)如图3-19(d)所示,用脚螺旋调平仪器的基座,使气泡再退回偏离中心距离的一半,则竖轴VV取铅垂位置,水准管轴LL也取水平位置,即LL上VV。

图3-19 照准部水准管轴的校正原理(一)

图3-19 照准部水准管轴的校正原理(二)

随便看

 

离鸟网收录3541549条中英文词条,其功能与新华字典、现代汉语词典、牛津高阶英汉词典等各类中英文词典类似,基本涵盖了全部常用中英文字词句的读音、释义及用法,是语言学习和写作的有利工具。

 

Copyright © 2004-2024 vtrois.com All Rights Reserved
更新时间:2026/4/19 10:25:14