网站首页  词典首页


请输入您要查询的字词:

 

字词 焊接应力
类别 中英文字词句释义及详细解析
释义

焊接应力


11.2.1.1 分类

焊接应力的分类见表11-21.

图11-32 焊接过程中温度和应力变化示意图

(a)焊缝;(b)温度变化;(c)应力σx

表11-21 焊接应力分类

11.2.1.2 焊接应力分布与特点

1.焊接瞬时应力

研究焊接瞬时应力有利于控制裂纹,提高焊接质量,图11-32为焊接过程中温度的变化和由此而引起的应力变化示意图.在板上沿X轴向正在堆焊一道焊缝,以速度v移动的焊接电弧正位于原点O处.

图11-33 初始缺口顶端附近在瞬时平面热源作用下的热应力循环

分析对象:HT50,400mm×500mm×32mm,缺口:2mm×2mm,2C=50mm;分析条件:σs=350MPa,σb=510MPa

图11-34 对接焊缝残余应力的典型分布

(a)对接焊缝;(b)沿yy轴的σx分布;(c)沿xx轴的σy分布,若接头的横向收缩受到外部拘束限制时,σy分布如图(c)中曲线2,出现反作用应力

图11-35 塞焊残余应力的分布

σr—径向应力;σ0—切向应力

图11-33是初始缺口顶端附近在瞬时平面热源作用下的热应力循环.

2.焊接残余应力

焊接残余应力的典型分布包括以下几方面:

(1)对接焊缝残余应力的典型分布如图11-34所示.

(2)塞焊残余应力的分布如图11-35所示.

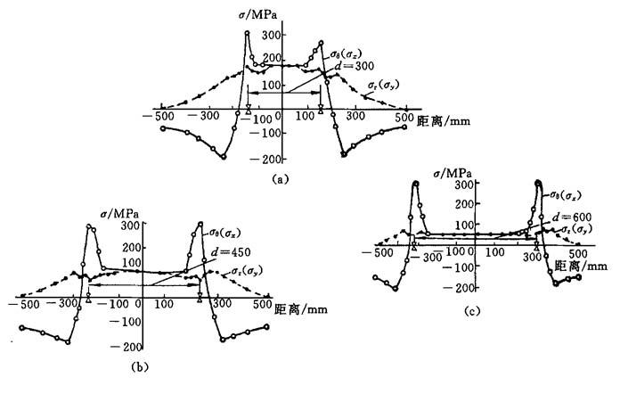
图11-36 圆盘镶块封闭焊缝残余应力的分布

(a)d=300mm;(b)d=450mm;(c)d=600mm

σr—径向应力;σθ—切向应力

图11-37 厚板接头中横向应力的分布

(a)厚板焊接接头;(b)横向焊接残余应力在厚度上的分布;(c)厚板接头中横向应力的分布

(3)圆盘镶块封闭焊缝残余应力的分布如图11-36所示.

(4)厚板接头中横向应力的分布如图11-37所示.

(5)拘束状态下焊接的内应力如图11-38、图11-39所示.

图11-38 横向拘束下焊接的内应力

图11-39 纵向拘束状态下焊接的内应力

图11-40 焊接的型材中横断面上典型纵向残余应力的分布

(a)T形构件的残余应力和变形;(b)工字形构件的残余应力;(c)箱形构件的残余应力

(6)焊接型材中横断面上纵向残余应力的分布如图11-40所示.

残余应力的测量方法很多(表11-22~表11-24).选择测量方法必须考虑下列因素:

(1)允许结构受损伤的程度;

(2)对测量质量的要求,如测量精确度、应力方向和大小、表面应力还是内部应力等;

(3)金属性能变化的影响,如金属局部组织发生变化后,对物理法(如X射线衍射法、超声波法)的测量精度产生影响;

(4)现场应用的可能性;

(5)费用和时间.

目前在国内焊接生产现场应用较多的是在Mathar-Soete钻孔法基础上发展起来的钻小盲孔测量残余应力的方法(表11-25).

表11-22 残余应力测量方法分类

表11-23 测量残余应力的应力释放与调整法比较

表11-24 残余应力测量方法的特性

①ρε—微应变;②给出的是应力灵敏度;③A:空气,W:水;④1→4:较小耗费→昂贵;⑤1→4:短→长;⑥1→4:缺少经验→经验丰富.

表11-25 钻小盲孔测量残余应力法

焊后减小或消除焊接残余应力的措施见表11-26.

表11-26 焊后减小或消除残余应力的措施

图11-41 温度和时间对消除应力的影响

表11-27 碳素钢热处理消除应力加热温度和保温时间

表11-28 常用钢材焊前预热及焊后消除应力热处理(GBJ236—82)

注:1.焊前预热栏中当焊接环境温度低于0℃时,预热温度应比表内数值适当提高;当壁厚小于表内数值时,亦须对焊件进行适当预热.

2.焊后热处理的加热速度、恒温时间及冷却速度应符合下列要求:加热速度:升温至300℃后,加热速度不应超过,且不大于200℃/h.恒温时间:碳素钢每毫米壁厚需2~min,合金钢每毫米壁厚需3min,且不少于30min.冷却速度:恒温后的冷却速度不应超过,且不大于275℃/h,300℃以下可自然冷却.

表11-29 有色金属及其合金消除应力热处理的温度

表11-30 各国标准中可不进行焊后热处理的最大焊件厚度 mm

表11-31 各国有关标准对焊后热处理工艺的若干规定

表11-32 各国标准中关于钼钢及铬钼钢焊后热处理温度范围规定的比较 ℃

①以蠕变特性为主;②以焊缝区软化为主;③以高温性能为主;④以抗拉强度为主.

表11-33 常用钢材消除内应力的回火温度

图11-42 局部热处理加热区宽度

(a)环焊缝;(b)长构件对接缝

B—加热区宽度;R—管道容器半径;δ—壁厚;W—构件宽度

图11-43 温差拉伸法减少焊接残余应力

1—氧-乙炔加热炬;2—喷水排管;3—焊件

表11-34 低碳钢(σh≤500MPa)消除焊接残余应力的工艺参数

注:焰炬宽度为100mm时,每个焰炬乙炔消耗量为17m3/h,耗水量5~6L/min,焰炬与水管距离为130mm.

图11-44 加载降低内应力

(a)加载前的内应力分布;(b)加载后的内应力分布;(c)卸载后的内应力分布

图11-45 循环次数与消除应力效果

(a)未经变载荷作用的内应力分布;(b)试件截面;(c)经过6.2×106次循环后的内应力分布;(d)经过不同循环次数作用后的内应力峰值的变化

随便看

 

离鸟网收录3541549条中英文词条,其功能与新华字典、现代汉语词典、牛津高阶英汉词典等各类中英文词典类似,基本涵盖了全部常用中英文字词句的读音、释义及用法,是语言学习和写作的有利工具。

 

Copyright © 2004-2024 vtrois.com All Rights Reserved
更新时间:2026/4/19 5:34:18