网站首页  词典首页


请输入您要查询的字词:

 

字词 焊接作业的有害因素
类别 中英文字词句释义及详细解析
释义

焊接作业的有害因素


焊接作业时,产生的影响人体健康的有害因素可分为两大类,一类是物理有害因素,另一类是化学有害因素。它们在焊接条件下,长期作用于人体,对人体健康造成危害。在焊接环境中可能存在的物理有害因素有:明弧焊时的弧光、高频电磁波、热辐射、噪声和射线等;可能存在的化学有害因素有焊接烟尘和有害气体等。

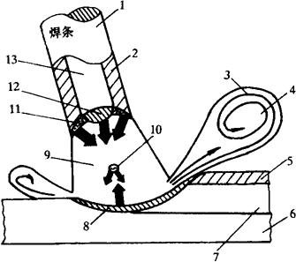
鉴于目前熔焊方法在焊接作业中应用最广,接触焊接烟尘的人员较多,因而焊接烟尘是影响面最大的有害因素。近年来焊工职业病之一的焊工尘肺发病率有上升的趋势。各种焊接方法的焊接烟尘发尘量见表15-1。药皮焊条手弧焊的发尘机理见图15-1。发尘过程实质上是液态金属和药皮的过热-蒸发-氧化-冷凝的过程。常用结构钢焊条焊接烟尘的化学成分见表15-2。焊接烟尘的毒性不仅取决于化学成分,更主要的取决于化学结构,如烟尘中的锰以MnFe2O4尖晶石型晶体存在时,则不易产生锰中毒,以游离的氧化锰存在时,则易产生锰中毒。

表15-1 几种焊接(切割)方法的发尘量

图15-1 药皮焊条手工电弧焊发尘机理示意图

1-焊条 2-药皮 3-烟尘 4-氧化冷凝 5-焊渣 6-母材 7-焊缝金属 8-熔池 9-电弧 10-熔滴 11-熔化焊药 12-熔化金属 13-钢芯

(图中箭头大小表示高温蒸气量的多少)

表15-2 常用结构钢焊条烟尘的化学成分(%)

长期吸入高浓度的焊接烟尘,可导致在肺部积蓄,引起焊工尘肺。据大连造船厂80年代统计,该厂焊工尘肺发病率在10.63%。据统计目前焊工尘肺最短发病工龄为7年。平均发病工龄在20~30年。焊工尘肺是肺组织纤维化的一种病变,其自觉症状以胸闷、气短、咳嗽、咳痰为多,肺活量降低,晚期症状加重。

当进行氩弧焊、等离子弧焊(割)时产生的有害气体不可忽视。主要有害气体是臭氧。各种氩弧焊方法的臭氧浓度见表15-3。臭氧是一种浅蓝色气体,具有强烈的刺激性腥臭味,是极强的氧化剂,容易同各种物质发生化学反应,如使棉织物老化变性。当人体吸入臭氧后,主要刺激呼吸系统和神经系统,引起胸闷、咳嗽、头晕、全身无力和食欲不振等症状,严重时可发生肺水肿与支气管炎。

表15-3 各种氩弧焊方法的臭氧浓度

我国目前明弧焊接在生产中所占的比例最大,因此在物理有害因素中,当属弧光辐射的危害最普遍。弧光是由紫外线、强可见光和红外线组成的。不同焊接方法光辐射强度比较(紫外线部分)见表15-4。弧光辐射对人体健康的影响主要是:紫外线过度照射引起的角膜结膜炎——电光性眼炎;长期慢性小剂量暴露于红外线与强可见光下,可致调视机能减退而发生早期老光;紫外线过量照射皮肤,有人会发生电光性皮炎。

表15-4 不同焊接方法的光辐射强度比较(紫外部分)

随便看

 

离鸟网收录3541549条中英文词条,其功能与新华字典、现代汉语词典、牛津高阶英汉词典等各类中英文词典类似,基本涵盖了全部常用中英文字词句的读音、释义及用法,是语言学习和写作的有利工具。

 

Copyright © 2004-2024 vtrois.com All Rights Reserved
更新时间:2026/4/20 1:39:56