网站首页  词典首页


请输入您要查询的字词:

 

字词 热量计的主要技术特性
类别 中英文字词句释义及详细解析
释义

热量计的主要技术特性


用于测量能量变化,物质或材料的物理变化或化学变化过程中所产生的热量的仪器,称为热量计。

热量计的主要类型有:氧弹热量计、水流式气体热量计、微量热量计、热导热量计、绝热热量计、水热量计、脉冲热量计、差示扫描热量计等。根据热量计体系与环境之间的热交换状况,热量计可分为等温外套型、等温(相变)型、绝热型等类别。

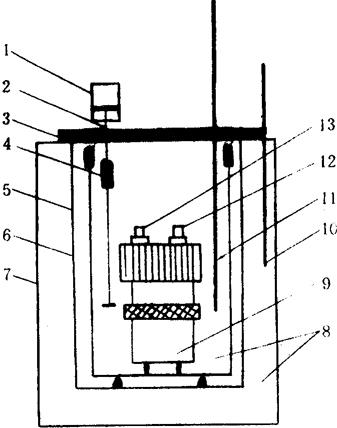
图12.3-1是等温型氧弹热量计的示意图。

1.马达;2.搅拌器轴;3.外套盖;4.绝缘轴;5.量热容器;6.外套内壁;7.热量计外套;8.蒸馏水;9.氧弹;10.水银温度计;11.贝克曼温计计;12.氧弹进气阀;13.氧弹出气阀

图12.3-1 等温型氧弹热量计

热量计的最主要特性是其能当量测量的重复性,这一技术特性反映了热量计的测量精密度。

热量计的能当量是使热量计温度升高1℃所需要的能量。

能当量的测量方法有两种:电能标定法和标准物质标定法。

1.电能标定法。

由于电能测量具有很高的准确度,因此,用电能作为热量计的原始标准是很合适的。

电能测量以焦耳定律为基础:

式中,W——电加热器消耗的能量(J)

V——电加热器电阻的端电压(V)

R——电加热器的电阻(Ω)

t——电加热时间(s)

Q——电加热器的发热量(J)

热量计内设置一个适当的加热线圈,输入一定量的电能。若电能产生的热量全部被热量计吸收,从而使热量计的温度升高△Te(℃),则热量计的能当量定义为:

电能标定法的测量准确度高,最精确的测量不确定度可优于0.01%。

2.标准物质标定法

在模拟使用条件下,用已知燃烧热的标准物质对热量计的能当量进行标定。这是工作热量计使用的方法。称取一定质量(m)的标准物质在热量计内燃烧,使热量计温度升高△T(℃),若标准物质的燃烧热为Q(J/g),则热量计的能当量C为:

工作热量计能当量测量的精密度为0.1~0.3%。

【参考文献】:

[1]王江主编,现代计量测试技术,中国计量出版社,1990。

[2]鲁绍曾主编,现代计量学概论,中国计量出版社,1987。

[3]全浩主编,标准物质及应用技术,中国标准出版社,1990。

[4]潘秀荣编,分析化学准确度的保证和评价,中国计量出版社,1985。

[5]陈复生主编,精密分析仪器及应用,四川科学技术出版社,1988。

[6]赵藻藩等编,仪器分析,高等教育出版社,1988。

[7]国家技术监督局,国家计量检定规程汇编,化学(一)、(二),中国计量出版社,1989。

[8]罗涤明,计量技术,1993年第6期。

[9]罗涤明,计量技术,1994年第8期。

随便看

 

离鸟网收录3541549条中英文词条,其功能与新华字典、现代汉语词典、牛津高阶英汉词典等各类中英文词典类似,基本涵盖了全部常用中英文字词句的读音、释义及用法,是语言学习和写作的有利工具。

 

Copyright © 2004-2024 vtrois.com All Rights Reserved
更新时间:2026/4/19 4:16:33