网站首页  词典首页


请输入您要查询的字词:

 

字词 热挤压工具材料的选择
类别 中英文字词句释义及详细解析
释义

热挤压工具材料的选择


热挤压工具是在温度、压力和磨损等困难运行条件下进行操作的。挤压过程基本上是力迫使塑性状态的材料在高压下通过一个适当的模具形成连续的长条形,某些软金属如铅和铝,具有相当的塑性,可以在接近于室温状态下挤压,但其它大多数金属和合金,则在温度提高的情况下挤压

典型热挤压坯料的温度如表79所示。

表79 典型热挤压的坯料温度

热挤压通常是在卧式挤压机上操作的,这种机床的额定容最自几百Mg~13Gg(几百至13000吨),容量为1.5~2.3Gg(1600~2500吨)压床最为普遍,这种压床可以生产所有各种标准尺寸的铝合金型材和管材。表80为由Φ100~Φ275坯料挤压铝合金型材推荐的压床容量。为了由给定的工作金属满意地挤出不同的产品的需要,可以改变特殊的机械装置。其中主要的变更之一便是影响挤压力的压力腔内径,例如选用2.3Gg(2500吨)压床,变更压力腔内径会产生各种不同的挤压力。举例如下:

表80 推荐挤压铝合金的压床容量

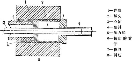
现有商用热挤压工艺(以产品吨位为基础)系用单装料直接挤压,并带有残余切头,这种工艺所用到的工具的基本零件参照图65,说明如下:

图65 挤压无缝钢管典型工具

在本装置中,心轴装在压床的穿孔器上并穿过中空压头进行工作。

·压力腔 压力腔供放入被挤压的热坯料之用。腔体可以加热,通常装入一个里衬,里衬在挤压坯料时必须有抗磨蚀作用,并应在温度提高的情况下,保持相当高的硬度。腔体与里衬具有高抗裂的韧性,并具有良好的抗低频疲劳的性能;

·压头 压头在压力腔里衬内动作,将压力缸内的压力传递给坯料,压头必须能承受高频压缩负载,其材料应具有良好的抗镦粗、抗加工硬化、抗热冲击以及快速施加的应力;

·样块 样块介于压头与坯料之间,用以吸收热量及防腐蚀,否则就会直接作用到压头上。在接近于坯料温度的情况下,样块应能抵抗坯料压出凹痕;

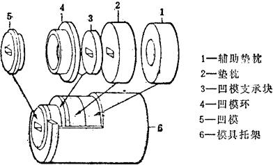
·模具或模具装配 坯料通过模具后被挤压成棒料或所需的形状。模具装配主要包括下述零件(见图66):①一个有挤压型腔的凹模;②一个凹模环(凹模固定座);③一个凹模支承块;④一个或几个垫枕;⑤一个或数个辅助垫枕;⑥模具托架(凹模滑座或凹模套)。凹模本身必须具有高的韧性并在高温下有抗磨损及抗软化的性能。模具装配的其它零件应具有高强度和高韧性;

图66 指出模具托架内各零件的相对位置的典型挤压模装配

·心轴 心轴用于制造中空产品。心轴必须具有高的热硬

性、抗磨蚀性、断裂韧性和屈服强度。

在压头后退时,把一块热坯料放入压力腔内,在压头与坯料之间插入一块样块,热坯料被推入压力腔的里衬内,并在高压下沿着模具向前推进,金属通过模腔被挤出所需的形状,然后从夹持端锯断或剪断。

随便看

 

离鸟网收录3541549条中英文词条,其功能与新华字典、现代汉语词典、牛津高阶英汉词典等各类中英文词典类似,基本涵盖了全部常用中英文字词句的读音、释义及用法,是语言学习和写作的有利工具。

 

Copyright © 2004-2024 vtrois.com All Rights Reserved
更新时间:2026/4/19 17:43:50