网站首页  词典首页


请输入您要查询的字词:

 

字词 烟丝的填充能力
类别 中英文字词句释义及详细解析
释义

烟丝的填充能力


烟丝的填充能力(填充值),系指一定含水率的单位质量烟丝在一定压力下,经过一定时间后所保持的体积,单位是cm3/g。

1.烟丝的含水率对填充值的影响

烟丝填充能力受烟丝含水率的影响,见图4-6-14所示。当烟丝含水率在6%以下时,填充能力随含水率的升高而增大。当烟丝含水率在6%以上时,含水率越高,填充能力越低。

图4-6-14 烟丝含水率与填充容积的关系

表4-6-10 为一配方烟丝含水率每变化1%时,填充能力变化幅度的情况。

表4-6-10 烟丝不同含水率对填充值的影响

2.烟丝的温度对填充值的影响

当烟丝含水率一定时,烟丝的温度升高时,填充能力随之减弱,见表4-6-11所示。

表4-6-11 烟丝温度与填充能力的关系

3.烟丝宽度对填充值的影响

表4-6-12是不同烟丝宽度的填充能力比较结果。

表4-6-12 切丝宽度与填充能力的关系

注:表中所测数据条件:空气温度20℃,相对湿度65%,压力9.8×103Pa,受压时间1min。

4.烟丝长度对填充值的影响

图4-6-15是烟丝长度对填充能力的影响。在烟丝组合中,长度为1.3mm以上的烟丝可提高填充能力,而1.3mm以下的烟丝,会降低填充能力。在一定烟丝长度范围内,烟丝填充能力是随其长度的增加而提高的。但过长的烟丝影响烟支的卷制质量。

图4-6-15 烟丝长度对填充能力的影响

5.烟叶等级对烟丝填充值的影响

烟叶等级不同,其烟丝的填充能力不同,表4-6-13是河南烤烟各等级烟丝的填充值的比较。

表4-6-13 河南烤烟(40级)各等级烟丝填充值测定结果

注:切丝宽度为0.9mm。

6.烘丝条件对烟丝填充值的影响

图4-6-16是烘丝时来料含水率和温度以及烘丝机内热风流向对烘后叶丝填充能力的影响。此外,烘丝机热风温度和热风速度也影响烘后叶丝填充值,见表4-6-14、表4-6-15和图4-6-17、图4-6-18。

图4-6-16 不同热风流向和来料含水率以及温度对烘后叶丝填充能力的影响

表4-6-14 叶丝填充值与热风温度的关系

注:1.来料温度85℃,含水率23%。

2.热风流向为顺流。

表4-6-15 叶丝填充值与热风风速的关系

注:1.来料温度85℃,含水率23%。

2.热风流向为顺流。

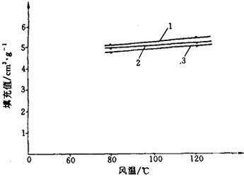
图4-6-17 叶丝填充值与热风温度的关系

1-风速0.5m/s 2-风速1.0m/s 3-风速1.5m/s

(来料温度均为85℃,含水率23%)

图4-6-18 叶丝填充值与热风风速的关系

1-风温120℃ 2-风温80℃

(来料温度均为85℃,含水率23%)

随便看

 

离鸟网收录3541549条中英文词条,其功能与新华字典、现代汉语词典、牛津高阶英汉词典等各类中英文词典类似,基本涵盖了全部常用中英文字词句的读音、释义及用法,是语言学习和写作的有利工具。

 

Copyright © 2004-2024 vtrois.com All Rights Reserved
更新时间:2026/4/20 3:57:13