网站首页  词典首页


请输入您要查询的字词:

 

字词 烟丝加工装备
类别 中英文字词句释义及详细解析
释义

烟丝加工装备


1 概述

烟丝加工装备,又名烟草制丝成套设备。它是将烟叶原料制成符合卷制工艺要求的烟丝的成套设备。主要设备有:真空回潮机、打叶机、切丝机、烘丝机、压梗机、梗丝膨胀设备、白肋烟干燥机、系统控制装备、电子仪表和输送设备等。装备的性能必须满足制丝工艺要求,具有自控、自检和连续生产的功能。所以,制丝成套设备实际上是一条机、电、仪相结合的自动化生产线,保证着制丝生产的质量、水分和流量的稳定。

目前发达国家已全面采用打叶复烤和在线膨胀工艺(叶丝、梗丝),我国的打叶复烤才刚刚开始,在线膨胀工艺已在不断扩大使用。

制丝成套设备,国内已能系列整线提供。其系列产品主要有:1000kg/h、1500kg/h、2000kg/h、3000g/h、5000kg/h(按处理烟叶的能力分),其机械化、自动化程度已达到国外同类设备的先进水平,普遍采用了电子皮带秤、红外水分仪、温度传感器和微处理机等,对制丝过程中的流量、水分、温度等参数实行自动控制,确保了制丝工艺要求。

2 加工工艺(图1-18-1和图1-18-2)

图1-18-1 烤烟型工艺流程

图1-18-2 混合型工艺流程

2.1 烤烟型工艺流程

2.1.1 制叶片工艺流程

(1)烟包回潮 烟包回潮应采用真空回潮。首先排除来料烟包内的空气,再予以增温、增湿,使烟叶松散柔软,增强韧性,提高抗破碎性。

(2)切尖解把 将经过真空回潮的烟叶均匀地摆放在切尖解把机的输送带上,切下烟梗直径小于1.5mm的叶尖部分,实现叶尖、叶基分离。

(3)润叶 经过加温、加湿,提高烟叶(叶基、叶尖)的含水率和温度,使烟把松散,增强抗破碎性。

(4)打叶去梗 通过打叶装置,将烟叶(叶基)的叶片从烟梗上撕离下来,进行梗叶分离。当制丝原料不采用打叶复烤制品时,应采用打叶工艺,并宜采用切尖解把后打叶方式。生产甲级、乙级卷烟为主的企业,可采用解把后全打叶方式。

(5)润叶加料 通过加料机,准确均匀地施加料液,使叶片(叶尖)充分吸收,并增加叶片的含水率和温度。

(6)贮叶 将润叶加料后的叶片(叶尖)输入贮叶柜内,存放一定时间,平衡叶片的含水率和温度,并使料液均匀渗透,调节和平衡制叶片、制叶丝工序间的生产能力。

2.1.2 制梗丝工艺流程

(1)润梗 通过润梗机,采用加温、喷水和水蒸气的方法,使烟梗的含水率和温度提高到适应下一工序的要求,并增加烟梗的弹性和柔软性。

(2)贮梗 将润梗后的烟梗输入贮梗柜内,存放一定时间,使烟梗表层与内部组织的含水率和温度均匀。

(3)蒸梗 通过蒸梗机,对贮梗柜内烟梗进一步加温、加湿,使其软化,便于轧制。

(4)压梗 用压梗机将蒸梗后的湿润烟梗轻压(厚压),使之松软。

(5)切梗丝 用切梗丝机将烟梗切成规定宽度的梗丝。为了有较好的梗丝膨胀效果,一般采用“厚压薄切”工艺,要求切梗丝宽度均匀,宽度允许误差小。

(6)梗丝膨胀 用梗丝膨胀机,通过加温、加湿,增加梗丝的含水率和温度,使梗丝体积充分增大。

(7)烘梗丝 通过烘梗丝机,用高温快速干燥的办法,去除多余水分,达到工艺要求的含水率,提高梗丝的弹性、填充能力和燃烧性。

(8)贮梗丝 将烘干后的梗丝输入贮梗丝柜内,存放一定时间,使梗丝温度和水分均匀,并起到制叶丝与制梗丝工序间的平衡缓冲作用。

2.1.3 制叶丝与掺配

(1)切叶丝 将经过贮叶柜存放一定时间的叶片,用切丝机切成合格的叶丝。

(2)烘叶丝 用烘叶丝机将切后叶丝干燥去湿,通过干燥使叶丝卷曲、松散,提高叶丝的填充能力。

(3)比例掺配 将梗丝(或根据工艺要求掺配的回收烟丝、膨胀叶丝、薄片丝)按产品配方规定,准确均匀地掺配到烘后叶丝中。

(4)冷却 降低烟丝温度,提高烟丝卷曲程度。

(5)加香 通过加香机在烘干并冷却后的烟丝中,按照产品配方规定,准确均匀地加入烟用香料,衬托烟草香气,掩盖杂气,提高烟气质量。

(6)贮丝 将已制备的烟丝输入贮丝柜内,存放一定时间,使烟丝含水率平衡,香料均匀渗透,改善烟丝的物理性能,并起到制丝与卷接间的平衡缓冲作用。

2.2 混合型工艺流程

混合型工艺流程与烤烟型工艺流程的主要区别在于增加了对白肋烟的处理过程。现就白肋烟工艺流程中的不同点予以说明。

2.2.1 润梗加料 将叶梗分离后的白肋烟梗,采用加温、喷水和水蒸气的方法进行润梗,提高烟梗的含水率和温度,并准确均匀地施加料液,改进烟草制品风味。

2.2.2 加里料 在去梗后烘焙处理之前,对白肋烟叶片施加调味剂物质,改进制品风味。

2.2.3 干燥回潮 通过白肋烟干燥机对加过里料的白肋烟叶片进行高温处理,达到增强香气,去除杂气和刺激,改善余味。干燥回潮一般包括烘干、冷却、回潮三个阶段。

2.2.4 烟梗配比 将经过润梗加料后的白肋烟梗和烤烟烟梗,按工艺配比规定进行掺配。

2.2.5 烟叶配比 将白肋烟叶片和烤烟叶片,按工艺配比规定进行掺配。

3 关键设备

3.1 真空回潮机

3.1.1 功能和用途 经过长期贮存的烟叶,在加工处理之前必须加温、加湿,增加柔韧性,以免在加工处理过程中破碎。

达到上述目的的最佳方法是在真空条件下对烟叶注入蒸气。真空既可达到抽除烟叶中空气的目的,使水蒸气易于渗入烟叶,又可降低饱和水蒸气的温度,使烟叶在处理过程中不致因温度过高而变质。

烟叶真空回潮机是为达到这一目的而设计的一种烟叶加工设备,主要用在烟丝生产线和打叶复烤线上。其主要功能有:

(1)提高烟叶的含水率和温度;

(2)去除烟叶中某些易挥发有机化合物,主要是氨、酰胺、挥发性脂肪酸和游离态烟碱,改善卷烟吸食品质;

(3)配备一定的附属设备后,可对烟叶进行熏蒸杀虫处理。

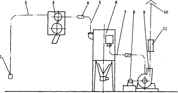
3.1.2 工作原理和结构特点(图1-18-3) 被处理的烟叶由装料装置6装入真空箱体5中。真空系统2抽除真空箱体中的空气,然后通过增湿系统4向真空箱注入湿饱和水蒸气。通过压差、吸附、毛细管和渗透的综合作用,水蒸气渗入到烟叶组织中,达到回潮目的。冷却系统1排出真空系统所产生的热量。真空测试系统3测量真空箱中的真空度和温度,监视回潮过程。控制系统,保证整个系统安全而协调的运行。

图1-18-3 真空回潮机工作原理

1-冷却系统 2-真空系统 3-真空测量系统 4-增湿系统 5-真空箱 6-装料装置

真空回潮机由下列部分组成:

(1)真空箱 真空箱是承受外压的薄壁筒体,箱体断面形状一般为圆形或矩形;箱体材料可用优质低碳钢或不锈钢,前者需进行防锈涂复处理;箱体的设计与加工应注意刚度和密封性;真空箱的一端或两端应开全断面的门,开门机构可用机械、气动或液压;真空箱的容积根据生产能力决定。

(2)真空系统 一般对该系统有如下一些要求:①极限真空度(绝对压强)为650~1000Pa;②有大的抽气速率和低的能耗;③适于抽吸含有尖埃、空气和水蒸气的混合物;④结构简单,便于维修。

真空回潮机通常采用下列型式的真空系统:①水环泵与蒸汽喷射泵组合的系统;②多级喷射泵系统;③应用制冷来使水蒸气凝结以获得真空的系统。

水环泵抽速大、效率高、结构简单、但其极限真空度受水的饱和蒸汽压的限制。当水温为15℃时,只能达到3300Pa(25Torr)。所以不能单独用于真空回潮机。

蒸汽喷射泵抽速大,可以串接成不同级数以获得所需要的真空度。缺点是效率低、蒸汽耗量大。

水环泵与蒸汽喷射泵的组合,既能满足真空度要求,又有较高的综合经济性,是在真空回潮机上应用最普遍的一种真空系统。

(3)增湿系统 它的作用是向真空箱提供低温、低压的湿饱和蒸汽,使烟叶增加水分和温度。对增湿系统的要求如下:①湿饱和蒸汽的含水率应尽量大;②水和蒸汽两相的混合要均匀;③能在短时间内提供足够的量。

现有真空回潮机的增湿系统主要有蒸汽转换器和拉瓦尔喷嘴混合器两种。

(4)装料系统 真空回潮机的处理能力在每小时数百至数千千克之间,物料的运输是操作过程的重要组成部分。通常采用如下方式:①用叉车装、卸料;②用轨道小车装、卸料;③用辊道输送机装、卸料。

(5)冷却水循环系统 它是真空系统的附属设备,应满足真空系统中冷凝器的散热要求,并达到节约用水的目的。通常用逆流式玻璃钢冷却塔作为其主要组成部分。

(6)真空测量系统 绝对压强是回潮过程的主要控制参数。绝对压强可用水银压力计或气压计测量,但仪表的自动化程度较低,不能参与自动控制。用相对压强测量时需根据当时、当地的大气压强换算,使用很不方便。利用水的饱和温度和饱和蒸汽压之间的对应关系,以测量真空箱内水的饱和温度来代替测量绝对压强,有较好的效果,目前已应用于部分真空回潮机的真空测量系统中。

(7)控制系统 真空回潮机具有独立的控制系统,与制丝线上的其他设备无连锁关系。其控制功能如下:①控制烟包的装料和卸料;②控制真空箱门的开、闭;③控制冷却系统的运行;④控制真空系统的运行;⑤根据真空度(绝对压强)或温度控制回潮过程。

在现有真空回潮机上已普遍使用可编程控制器和各种自动化元件,对回潮全过程实现自动化控制。

3.1.3 选用原则

真空回潮机根据下列因素选用:

(1)生产能力。

(2)使用性能:①回潮后的含水率,一般要求不低于16%;②回潮后的烟包温度,要求不高于70℃;③回透率,要求不小于98%。

(3)真空系统的型式 真空系统的型式对真空回潮机的使用性能和工作经济性具有重大影响,一般根据下列因素选择:①极限真空度,一般要求为650~1000Pa;②抽氧速率或回潮周期时间;③能源品种及能源消耗;④结构复杂性与维修方便性。

(4)控制系统的自动化程度与可靠性。

3.2 打叶机

打叶机是烟叶去梗工艺中的重要主机,它的主要功能是将原料烟叶的叶片与烟梗分离,并能分别输送,使叶片、烟梗的尺寸规格和分离精细度达到工艺要求,而烟叶的损耗不超过规定要求,为叶片、烟梗的后处理创造条件。

目前国内外烟草行业在烟叶去梗工艺中采用的设备主要有三大类:立式打叶机、卧式打叶机和复合式打叶机。各类打叶机均有数种不同规格与系列,适用性与结构特征各有特色,如表1-18-1所示。

表1-18-1 打叶机分类

3.2.1 立式打叶机

(1)工作原理 立式打叶机原理图如图1-18-4所示。风分器7座落在打叶器之上,形成一个整体,该整体下部兼作叶片、烟梗的初步分离区,上部为精细分离区;风分所需风力由风机16提供(采用循环风形式);所设置的各种调节阀用来对整体内的风力场的风速进行微调。

图1-18-4立式打叶机原理图

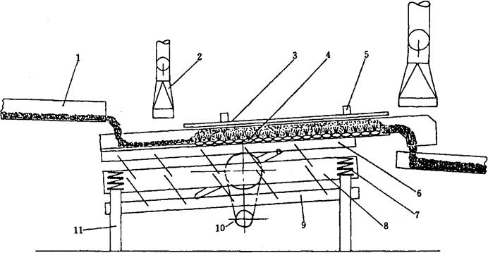
1-出梗器 2-下框栏 3-上框栏 4-进风圈 5-辅助分离室 6-主分离室 7-风分器 8-落料器 9-圆管 10-方管 11-回叶系统 12-总控制阀管 13-连接管 14-落叶器 15-袋式除尘器 16-风机 17-低阻除尘器 18-电动阀控制柜 19-风管 20-动力系统 21-进风基座 22-进风道 23-甩烟叶盘 24-上打辊 25-下打辊 26-打刀 27-打叶器 28-门 29-落梗转盘

在工作状态时,打叶器27在动力系统20的驱动下,上、下打辊24、25作顺时针旋转;烟叶从落料器8定量喂入后,穿过风分器7中心料管落到打辊顶部的甩烟叶盘23上,由于离心力的作用,烟叶被甩向上框栏3,并被上框栏杆阻挡;烟叶在各种力的作用下(重力、上升气流托浮力和离心力等),沿栏杆缓慢下降过程中,由于打刀26的旋转运动,使烟叶与框栏杆发生强烈摩擦(打刀刀头与框栏杆间隙较小),并随着打刀的逐级撕打,使烟叶本身梗与叶之间组织薄弱的环节被撕裂。撕打下的产物穿过上框栏栏杆后,受到上升气流的作用而初步分离,较轻的打叶产物(主要是叶片)上升,进入风分器的主分离室6、辅助分离室5进行最终精细分离;分离出的叶片进入落叶器排出,而较重的带梗叶片和经风分器分离出的打叶产物又重新返入上下打辊区撕打;撕打后的打叶产物穿过框栏后在上升气流作用下再次初步分离,较轻的叶片上升带走,较重的烟梗则落到落梗转盘29上,而仍含梗的叶片再次落下,进入下打辊区撕打。经过数次重复撕打与分离,最终使烟叶片撕净,烟梗因密度大而掉在落梗转盘上,由出梗器1扫出机外。

对烟叶的撕打力取决于打刀刀头与栏杆之间作用于烟叶的摩擦力。当打刀刀头与栏杆间隙减小,或栏杆间距减小,或打刀打叶线速度提高时,都有利于增大撕打力,从而起到提高一次打净率和提高打叶产量的作用。当然,打刀线速度过高或栏杆间距过小,会引起大片率和长梗率降低。

立式打叶机的打叶过程是一个比较复杂的过程,打叶器内存在着重复撕打、分离等运动,在风送、风分的联合作用下,打叶才能连续、自动、顺利地完成。

(2)结构特点 立式打叶机的打辊轴竖直放置;风分器与打叶器连成一体,风分方式为立向逆流式;风送系统采用循环风形式,风机可设置在远离主机的除尘房内,以便隔离噪声源,使主机部位的噪声控制在85dB之内。

立式打叶机结构紧凑,占地面积小,动力消耗低。主要供卷烟厂新增制丝线选用,也可供老厂改造更新设备选用。

3.2.2 卧式打叶机

(1)工作原理 卧式打叶机的打叶和风分是分别进行的,通过多级打叶和风分,实现叶片、烟梗分离和分选。为保证叶片结构的质量和性能指标,各级打叶器的打辊上的打刀排列、间距与框栏结构是不同的,各级风分器的分选风速也是不同的。打叶器结构简图如图1-18-5所示,风分器原理图如图1-18-6所示。

图1-18-5 卧式打叶器结构简图

1-打辊 2-打刀 3-框栏 4-定刀

图1-18-6 风分器原理图

1-风机 2-落叶器 3-顶罩 4--次抛叶轮 5-二次抛叶轮 6-网带

卧式打叶器的打辊1水平放置在打叶器内腔,打辊1上装有按一定要求排列的打刀2;两排定刀4布置在中心平面上方,呈左右对称;框栏3位于中心平面下方,内圆弧面与打刀2顶端留有间隙。物料从打叶器进料口自由落下,打刀2使物料与定刀4、框栏3发生强烈摩擦,使烟叶本身梗与叶之间组织薄弱的部位被撕裂,撕打过的物料从框拦3的孔中掉下,由风送系统或喂料机送入风分器进行分选。

各级风分器的结构形式和风分原理是类同的,为适应工艺流量的变化,风分器宽度有多种规格。图1-18-6所示的风分器采用机械双抛、正压风底吹、双室双速分流的风分方式,整个风分器内有3个分离区:抛射分离区、反向抛射分离区和重力分离区。需分离的混合物料进入后,一次抛叶轮4将这些物料向前抛射散开(调整其转速就可改变抛射轨迹),较重的物料抛射较远,较轻的物料抛射较近,在风力场的作用下,使部分叶片在此分离区内从混合物料中分离出来,最轻的叶片从一室吸走,次轻的叶片从二室吸走;剩余物料落入二次抛叶轮5被再次抛射散开(与第一次抛射方向相反),在风力场作用下,一些符合要求的物料被分离出来,穿过一次抛射层而进入一室或二室;经抛射分离区和反向抛射分离区分离而剩余的物料在向下降落过程中,在重力分离区再次分离,一些符合要求的物料穿越一次抛射层和二次抛射层进而入二室、一室;经上述3个分离区的分离而剩下的物料落在网带6上被排出风分器,进入下一级风分器(或打叶器)继续进行处理;分离出的叶片通过落叶器2进入成品输送带。

风分器风力场中的分选风速是可调的,每一台风分器只分离物料中悬浮速度为某一数值的叶片,通过多台串接成组的风分器的逐级分选,使得某次打叶后的绝大多数叶片得到精细分离。一般情况下,第一次打叶后需安排4台风分器才能将该次打叶后的物料分离干净,达到最佳效果;而第二次打叶后则安排3台风分器;第三次打叶安排2台风分器;经第四次打叶只需安排1台风分器就可分离干净。

(2)结构特点 卧式打叶机并非是1台单机,而是整套机组或1条生产线,通常由铺烟喂料机、烟叶分料机、打叶器、风分器、风送系统(或喂料系统)、回梗系统、排风除尘系统和电控系统等组成,一般采用四打十分一回梗或四打十一分一回梗的布置方式。

随着打叶复烤技术的推广,卧式打叶机的技术正向着采用超柔打、追求高品质叶片结构和烟梗结构的方向发展,其结果是设备越来越庞大,装机容量越来越大。以6000kg/h卧式打叶机为例,当采用四打十分一润梗、一筛梗、一回梗的编排方式时,占地面积达80m×8m(不包括排风除尘系统),装机容量超过1000kW。卧式打叶机主要供打叶复烤线选用。

3.3 切丝机

切丝机是切叶丝机和切梗丝机的统称,是烟草制丝生产线中的关键设备之一。切丝机的基本功能是将经过处理的烟叶、烟梗,切成符合制丝工艺规范要求宽度的叶丝、梗丝。切丝机因刀体装置和切削运动的不同,可分为直动式、旋转式、滚刀式。在烟草制丝生产线中,直动式和旋转式切丝机已趋于淘汰。

切丝机一般由主机和辅机两部分组成。如图1-18-7所示,除去布料装置1、中间料槽2和推料装置3,即是切丝机的主机部分。辅机部分一般包括:①装料器部分(含进料斗、布料装置、中间料槽和推料装置等,一般用于切叶丝机);②送料小车(分送叶及送梗两种,实用中送梗的居多);③除尘器。

滚刀式切丝机的一般工作原理,如图1-18-7所示,物料经布料装置1、中间料槽2,进入由上、下排链及机架壁组成的料槽中。布料装置可使物料均匀地分布在料槽里。在推料装置3的协助下,由上排链4和下排链5的同步运动,将物料连续不断地传送到刀门7。上刀门与上排链一起,在刀门升降油缸6的作用下,对传送中的物料施加持续和恒定的压力,使物料形成“饼”状,以便于切丝。连续转动的刀鼓9上均匀安装的数片切刀,依次切割不断输出的“烟饼”。切丝宽度可由刀鼓与送料排链两者的速比来确定。带有滑动支架的磨刀砂轮10,可沿着与刀鼓转动轴线平行的方向往复运动。金刚石11在砂轮装置每一往返后,自动修整砂轮。修整后的砂轮随同滑动支架运行到另一端时,沿刀鼓径向方向进给一次。刀片8在刀鼓运转中不断伸出。上述过程周而复始,既使切刀和砂轮始终保持锋利,又使砂轮与切刀、切刀与刀门刃口之间的相互关系保持不变,加上刀鼓与排链之间恒定的速比关系,确保了切丝宽度均匀一致。在切丝过程中,除尘装置不断地将烟丝中的粉尘、磨刀和修整砂轮时产生的微粒吸走,以提高烟丝的纯净度。

图1-18-7 切丝机工作原理

1-布料装置 2-中间料槽 3-推料装置 4-上排链 5-下排链 6-油缸 7-刀门 8-刀片 9-刀鼓 10-磨刀砂轮 11-金刚石 12-出料槽

3.4 烘丝机

烘丝机的功能是将切丝后的叶(梗)丝进行干燥去湿,使其水分降低到卷制烟支的工艺要求(一般为13%);并使烟丝松散卷曲,增加弹性和填充能力。在烘丝过程中,随着烟丝水分的蒸发,可去除部分杂气,充分显露烟草具有的香气,改善烟气质量。

烘丝机一般以蒸汽为加热能源,供热方式以传导为主,同时有热风(或称热空气流)以对流方式供热。热风与烟丝流向一致的称为顺流干燥;热风与烟丝流向相反的称为逆流干燥。相应的烘丝机称为顺流式烘丝机和逆流式烘丝机。烘丝机的工作原理如图1-18-8和图1-18-9所示。

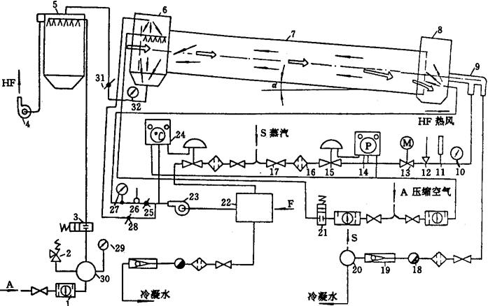
图1-18-8 顺流薄板烘丝机原理图

1-温度计 2-前室 3-烘筒 4-后室 5-筛鼓 6、28-风门 7-除尘器 8、26-风机 9-脉冲电磁阀 10-安全阀 11-贮气瓶 12-空气过滤减压器 13-旋转接头 14-疏水阀 15-止回阀 16-汽水分离器 17-压力表 18-压力变送器 19-电动调节阀 20-气动压力调节器 21-薄膜调节阀 22-过滤器 23-截止阀 24-空气加热器 25-带角执行器的风门 27-温度传感器

图1-18-9 逆流薄板烘丝机原理图

1-空气过滤减压器 2-安全阀 3-脉冲电磁阀 4、23-风机 5-除尘器 6-前室 7-烘筒 8-后室 9-旋转接头 10、29-压力表 11、27、32-温度计 12-压力变送器 13-电动调节阀 14-气动压力调节器 15-薄膜调节阀 16-过滤器 17-截止阀 18-疏水阀 19-止回阀 20-汽水分离器 21-电磁阀 22-空气加热器 24-气动温度调节器 25、28、31-风门 26-温度变送器 30-空气瓶

切好的烟丝经过喂料机和电子皮带秤组成的恒流量控制系统,电子皮带秤计量流量并输出入口流量信号;红外水分仪检测烟丝入口含水率。烟丝由振动输送机送入烘丝机烘筒内壁的热交换器表面。纵向热交换板具有抄板作用,随着烘筒的转动把烟丝抄起又洒落,同时在进入烘筒内的热风作用下使烟丝翻滚,得到充分均匀的热接触。烟丝水分在表面蒸发,并被对流热风带出烘筒,经除尘器后排入空气中。

烘筒具有一定的倾角。随着烘筒的转动,烟丝在重力的作用下,由较高一端(入口)移动到较低一端。干燥完毕,烟丝在出口处落入振动输送机而输出,并经红外水分仪检测烘后含水率。

滚筒式烘丝机由烘筒、传动装置、蒸汽管路系统、冷凝水管路系统、压缩空气系统、热风系统、前室、后室及机架等部分组成。

烘筒由滚筒、热交换器、进出汽环形管、旋转接头及支承辊轮装置组成。热交换器是烘丝机的主要载热体,有管式热交换器和板式热交换器。板式热交换器具有结构紧凑、传热效率高、热惯性小、调节灵敏的特点。旋转接头是传递流体介质的装置,将蒸汽从静止管道输送到装在旋转的烘筒内的热交换器中,并将蒸汽的冷凝水输送到静止管道,它是一个动密封装置。按输送介质的种数分为单介质、双介质、多介质旋转接头。

滚筒转速根据需要可调,调速可用变频调速或齿链式无级变速器调速。

蒸汽管路系统是保证烘筒热交换器和热风加热器所需热能的供给系统。为了适应自动控制的需要,蒸汽压力具有调节、检测仪表。蒸汽应为干饱和蒸汽,压力为0.8~1.0MPa。

冷凝水系统是伴随蒸汽系统而存在的一个系统,它的作用是使蒸汽介质的流动形成一个畅通的回路,使汽水分离。

烘丝机采用自动控制,烟丝含水率精度为±0.5%。实现其控制的方法很多,一般有如下几种:①采用组合仪表控制;②采用专用微机控制;③采用PC可编程控制器控制。无论采用何种控制装置,对烘丝机的控制系统,均可分为几个相对独立的子系统。即:①热风温度控制系统;②滚筒转速控制系统;③筒壁蒸汽压力控制系统;④辅助控制系统。采用PC控制后,能简化操作,使控制参数调整方便,干燥过程更符合工艺要求。

烘丝机一般采用独立的控制柜控制。

薄板烘丝机的技术具有当代世界先进水平。除此之外,还有隧道式烘丝机和塔式烘干机。它们的技术指标也很先进,其生产能力高,且具有烟丝填充能力高的特点。但进入烘丝机的烟丝(或梗丝)必须是高温湿态烟丝。即梗丝经梗丝膨胀机,烟丝经烟丝膨胀机。

选用烘丝机时,应以干燥后的叶丝和梗丝的主要质量指标填充值、弹性、水分精度、色、味为最佳效果来考虑。梗丝生产线一般采用膨胀工艺,选用以顺流式烘丝机、塔式烘丝机或隧道式烘丝机,其填充值可达到4.8~6cm3/g。叶丝生产线,当采用叶丝膨胀机进行全叶丝在线膨胀时选用顺流式烘丝机,其填充值可提高8%~12%。

另外,依据湿物料(叶丝、梗丝)进入烘丝机的物理状态(含水率、温度)选用烘丝机。当湿物料烟丝表面和内部水分基本一致,温度在80℃以上,一般选用顺流式烘丝机;当湿物料烟丝表面水分部分散失,其内部水分大于表面水分,且温度在40℃左右,只能选用逆流式烘丝机。

3.5 梗处理设备

烟叶中一般含有占质量约20%~25%的烟梗。目前国内有多种方法对梗丝进行膨胀处理,以提高梗丝的填充能力,降低原料消耗,改善卷烟品质。梗处理设备是为达到这一目的而设计的烟梗加工设备,主要用于梗丝生产线上。

本节重点介绍ZS1和ZS2两种梗处理成套设备,其主要设备配置如表1-18-2所示。

表1-18-2 高温高湿法梗处理线主要设备配置

除表1-18-2所列主要工艺设备外,在各主要设备之间,配备有连接输送设备、贮柜,还有电子皮带秤、喂料机、限量管等流量控制设备。还要根据自动控制的需要,配备红外水分仪、金属探测器、电气控制柜等自动控制、检测、显示设备。

3.5.1 隧道式加温加湿机(图1-18-10) 该机可作为YG74型润梗机、YG73型蒸梗机和YG72型梗丝膨胀机用,其主要结构由隧道式槽体、盖板、振动装置、管路系统、操作面板和机架组成。

图1-18-10 隧道式加温加湿机结构原理图

1-输入振槽 2-排气罩 3-盖板 4-槽体底板 5-盖板拉手 6-槽体 7-减振弹簧 8-机架 9-平衡架 10-传动系统 11-支腿

其工作原理为烟梗或梗丝经进料槽1被连续地输送到隧道式槽体6的工作室时,物料随槽体的振动向前移动,槽体底板上的喷孔4喷出高温高速的蒸汽流,把物料吹成翻滚状态,物料被迅速提高温度并充分吸收水分,以提高烟梗或梗丝的温度和含水率,整个处理过程仅为10s左右。在梗丝膨胀机中,由于梗丝的宽度仅为0.13~0.15mm左右,且该机使用的饱和蒸汽压力较高,在含水率为30%左右的梗丝进入工作室后,在很短的时间内温度被升高到水沸点以上2~4℃,梗丝内部的木质纤维细胞中的水分发生沸腾汽化,导致梗丝体积的高速膨胀,然后立即进入顺流式烘丝机中,进行快速干燥定型。

YG72型梗丝膨胀机和YG74型蒸梗机的蒸汽喷入量可根据生产线设定流量进行调节。YG73型润梗机的蒸汽和水的喷入量由电子皮带秤根据梗的进入量按比例进行跟踪自动控制。

3.5.2 液压式压梗机(图1-18-11) 经蒸梗机处理后的烟梗,送入压梗机两个压辊(6,7)之间,两压辊由两台减速机分别驱动,反向旋转将烟梗压扁。压制后的烟梗落入下方的振槽内输出。梗片的厚度取决于两压辊间的间隙,可通过机身上的两根螺杆调整。两压辊间装有光电监测器,当喂入的烟梗过量,在压辊间阻塞将光电通道遮断时,光电信号使液压系统驱动一个压辊退出工作位置,开放50mm的间隔,以排除阻塞的烟梗。同时通过时间继电器使出料振槽上的活门开启,将未压扁的烟梗排出生产线外。阻塞现象消除后,液压系统推动压辊回到原工作位置。该机无单独电气控制柜,由所属生产线控制柜进行控制。

图1-18-11 液压式压梗机

1-机架 2-减速机 3-光电监测器 4-液压系统 5-刮板 6-前压辊 7-后压辊

3.5.3 梗丝分离机(图1-18-12) 该机主机由机架、振动筛、风选室、抛料器、螺旋输送器、排料十字门等部分组成。与主机配套的还有落料机、风机、除尘器等风路系统设备。

图1-18-12 梗丝分离机工作原理图

1-平衡柜 2-振动筛 3-机架 4-出料口 5-风选室 6-入料口 7-抛料器 8-电机 9-螺旋输送器 10-排料十字门 11-落料机 12-碟阀 13-除尘器 14-风机

待分离的梗丝由喂料振槽送入抛料器7,由电机8直接带动的抛料辊子将梗丝松散地抛入风选室5,合格的梗丝因细薄、重量轻,由风机经出料口4被向上抽走,经落料机11落下,其中所含尘土随风流继续向前经除尘器13排出。梗签梗块及其他杂物,因较重不能被风抽走,落到振动筛2上,被送到螺旋输送器9,通过十字门口10排出。分离的精细程度,可通过碟阀12改变风量来调整。

3.5.4 筒式润梗机(图1-18-13) 该机主要由机架、筒体、料斗、传动系统和管路系统组成。筒内壁设有耙钉。

图1-18-13 筒式润梗机

1-机架 2-料斗 3-筒体 4-管路系统 5-传动系统

当烟梗输入筒体后,通过设置在筒体两端的双元喷嘴将蒸汽和水混合成雾状喷射到烟梗上,从而达到使烟梗增温增湿的目的。烟梗在转动的筒体内不断翻动,以达到使所有进入筒体的梗或梗丝能均匀增温增湿的目的。喷射量的大小是根据物料流量和含水率经微机处理后按设定的增湿比例进行自动控制。该机可用于梗丝增湿。

3.5.5 螺旋蒸梗机 螺旋蒸梗机的功能与隧道式蒸梗机相同,其工作原理如图1-18-14所示。

图1-18-14 螺旋蒸梗机结构原理图

1-螺旋输送装置 2-密封盖 3-管路系统 4-排潮装置 5-操作平台及机架 6-槽体 7-接水槽

烟梗由进料口进入螺旋蒸梗机,由螺旋输送装置1从低向高输送。在输送过程中被U型蒸汽夹套和喷入的蒸汽加热,使烟梗温度由35℃提高到50℃左右,水分由30%增加到32%,并变得松软。对不同规模的生产线可通过调节无级变速器改变螺旋输送装置1的转速,并调节蒸汽喷入量以适应不同的工艺流量。排潮装置4不断排出部分空气,使槽内形成轻度负压,以防蒸汽外溢。

3.5.6 梗丝膨胀干燥塔(图1-18-15) 梗丝膨胀干燥塔系统的工作原理为当梗丝落入进料口后,在热湿气流作用下,使梗丝很快进入膨胀装置1内的文丘里管的收缩段,高速喷入的蒸汽在文丘里管的喉部形成高温高压,迅速穿过喉部进入扩张段。使梗丝中的水分急剧蒸发,梗丝中的木质纤维高度疏松扩张,从而达到膨胀的目的。然后立即进入各干燥塔进一步膨胀和快速干燥。经落料器3进行料气分离,梗丝落下,废气经除尘器4净化后,再由风机送入热交换器加热后再次应用。该系统配有独立的PC控制柜,全部生产过程可自动控制,并具有基本参数屏幕显示和自动记录功能。

图1-18-15 梗丝膨胀干燥塔

1-膨胀装置 2-干燥塔 3-落料器 4-除尘器 5-风机 6-风道 7-热交换器

图1-18-16 梗丝膨胀干燥塔工作原理方框图

3.6 输送设备

制丝生产线是连续生产的,为了保证其连续性并实现自动控制,各主要设备间必须设置物料的输送设备。本节将叙述常用的弹性连杆振动输送机、带式输送机和气力输送设备。

3.6.1 弹性连杆振动输送机弹性连杆振动输送机是通过激振机构强迫输送槽作简谐运动,使槽内物料沿输送方向产生连续微小的抛掷或滑行运动,实现输送物料的机械。

一般进入回潮、加料、烘丝、加香等设备的物料输送,以及切丝机出口物料输送宜采用振动输送机。

最常用的有双槽平衡式、带隔振弹簧的单槽式和摇杆单槽式振动输送机,其结构如图1-18-17、图1-18-18和图1-18-19所示。

图1-18-17 双槽平衡式振动输送机

1-簧板 2-平衡体 3-缓冲胶块 4-输送槽 5-偏心连杆 6-机架 7-电机 8-小皮带轮 9-三角胶带 10-大皮带轮

图1-18-18 带隔振弹簧的单槽式振动输送机

1-大皮带轮 2-偏心连杆 3-三角胶带 4-小皮带轮 5-电机 6-输送槽 7-簧板 8-平衡重 9-下质体 10-隔振装置 11-机架

图1-18-19 摇杆单槽式振动输送机

1-大皮带轮 2-三角胶带 3-小皮带轮 4-电机 5-偏心连杆 6-摇杆 7-输送槽 8-下质体 9-机架

3.6.2 带式输送机 带式输送机在制丝生产线上也是应用较多的输送设备,它是利用带的运动和物料与带间的摩擦力实现物料的输送的。

在制丝生产线上除了输送物料进入筒体类设备和输送距离特别长且需空中转弯的情况外,一般都宜选用带式输送机。如贮叶柜和贮丝柜进出口料的输送。

带式输送机的结构一般如图1-18-20所示,并按带辊的形式可分为平形、V形和槽形,如图1-18-21所示。

图1-18-20 带式输送机的结构

1-毛刷辊 2-软帘 3-头部传动装置 4-主动带辊 5-链罩 6-驱动装置 7-机身前段 8-机身中段 9-机身后段 10-进料口 11-尾部装置 12-被动带辊 13-机架 14-输送带 15-托辊

图1-18-21 带式输送机的带辊形式

3.6.3 气力输送设备 气力输送是利用气流输送物料的一种输送方式,在制丝生产线上得到广泛的应用。主要用于制丝线上需长距离输送物料可以空间转弯,而且需分离物料中尘土等杂物的场合。

按配置形式和工作特点可分为吸送式、压送式和混合式,制丝生产线一般都用低压吸送式,其系统配置如图1-18-22所示。

图1-18-22 气力输送系统配置

1-吸料口 2-输料管道 3-气力输送落料器 4-风门 5-含尘管道 6-除尘器 7-排气管道 8-电机 9-风机 10-风帽 11-消音器

3.7 白肋烟干燥机

白肋烟干燥机是生产混合型卷烟的关键装备,主要用于对打叶后的白肋烟叶片进行干燥、冷却及回潮处理。

白肋烟与烤烟相比,白肋烟含糖分很低,总氮量高,氮基化合物多,必须对其进行加糖和高温干燥处理,以消除白肋烟中的阿摩尼亚气味、苦涩叶、青杂味,改善白肋烟的香气和吸味。

各型白肋烟干燥机的主体结构均为绝热保温箱体式分段组合结构。箱体由干燥区、冷却区、回潮区三大段组成。有网板制成的旁链式传送带贯穿于三大箱体内循环运行。三大区的温度采用电器或微机自动控制,回潮区的加水和喷射蒸汽采用手动调节。图1-18-23所示的白肋烟干燥机就是这种结构的具体化。该机箱体分隔为干燥区、冷却区、回潮区,各区段间用不锈钢板分隔;隔板和箱体两端板上设有烟片运送网常通过的窄长矩形通道;传送装置的主动轮轴和被动轮轴分别安装在尾架和头架上;运送网带由主动轮轴带动,沿安装在箱体内壁上的上导轨和安装在底架上的下导轨作定向运动;管路系统和控制系统按其功能配置在相应的区段和部件上。

图1-18-23 白肋烟干燥机

1-尾架 2-传送系统 3-箱体 4-喂料机 5-底架 6-管路系统

该机工作原理是喂料机4定量地将白肋烟片均匀地铺放在运送网带上,首先进入干燥区,在干燥区内用120~140℃的热空气对烟片进行干燥处理,经轴流风机的作用形成热风和定向风场,热风吹过烟片,加速烟片表面的水分蒸发,并带走蒸发出来的水分,同时烟片内部的水分也由里向外溢出,使烟片干燥,白肋烟中的青杂气、刺激性气味也随着烟片内外部水分的汽化、蒸发而去除。烟片进入冷却区后,由轴流风机经进风管吸入冷却区箱内的冷空气进行冷却,使烟片降温。烟片进入回潮区,用加温加湿的方法使烟片回潮。回潮区保持工作温度的热量是由向箱体内喷入一定量的蒸汽提供的;回潮区配有双组圆喷嘴,向烟片喷洒汽水混合物,给烟片增湿,汽水混合物中汽水比,根据回潮后含水率要求,可手工调整或自动控制。经过干燥、冷却、回潮处理后的烟片由出料口排出。

在干燥和回潮区中均各分设有Ⅰ区和Ⅱ区,目的在于使烟片干燥或回潮均匀,有好的处理效果。

随便看

 

离鸟网收录3541549条中英文词条,其功能与新华字典、现代汉语词典、牛津高阶英汉词典等各类中英文词典类似,基本涵盖了全部常用中英文字词句的读音、释义及用法,是语言学习和写作的有利工具。

 

Copyright © 2004-2024 vtrois.com All Rights Reserved
更新时间:2026/4/18 14:54:42