网站首页  词典首页


请输入您要查询的字词:

 

字词 火焰光度计的构造及安装
类别 中英文字词句释义及详细解析
释义

火焰光度计的构造及安装


(一)构造 火焰光度计国产的型号较多,如630-A型,燃料是乙炔;630-B型,燃料是煤气;630-C型与HG-1型,燃料是气油。上海新生产的6400型,用汽油,同时测读K,Na,很好。进口的有蔡氏三型,燃料为乙炔等。各种型号的构造大同小异,都主要包括三个部分,即光源、单色器和光度计。光源包括气体供应、喷雾器、喷灯等。单色器有简单的也有复杂的。简单的像有些国产火焰光度计所用的几个滤光片。复杂的是利用玻璃或石英的棱镜与狭缝来选择光线,正和普通光谱仪所有的一样。图2-8为一般火焰光度计的构造。

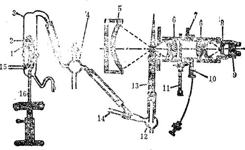
图2-8 火焰光度计构造图

1.压缩空气嘴 2.液体喷出嘴 3.喷雾器 4.球形冷凝管 5.凹镜 6.透镜 7.光栅 8.火焰焦距调节的圆形毛玻璃 9.硒光电池 10.开关 11.滤光片座 12.混合气体球形管 13.喷灯 14.可燃气体进口 15.压缩空气进口 16.液体吸管

(二)仪器主要部分的安装——以国产630-A型为例

(1)乙炔钢瓶和减压器的安装:先将钢瓶和减压器擦洗干净,并将钢瓶的开关小心地开放,使气体溢出少许再关紧,这样可使气体出口地方的灰尘吹掉。安装减压器时,先衬垫一块无油污的橡皮垫圈,然后将减压器固定在钢瓶上,再用橡皮管和减压器接好,橡皮管的另一端依次连接硫酸、水、空气三个洗气瓶,以纯化乙炔。然后把洗气瓶的出气口用橡皮管与乙炔压力计相接。

试验减压器的安装是否紧密,可将有星形把手的开关拧紧,旋开有十字形把手的开关,再将钢瓶开关轻轻旋开,于是减压器上的压力表指出钢瓶里气体的压力。在钢瓶开关关紧以后,减压器的指针假如稳定不动,表示并无气体漏出,连接是够紧密的。假如指针摆动压力减少,表示有的地方漏气,需要找出漏气的地方。检查漏气时,可用肥皂水抹涂在每一个接头的地方,观察有无肥皂泡出现来判断是否漏气。勿用其他有危险性的方法来检查。

(2)空气压缩泵的出气处,接上两个5000ml的缓冲瓶,中间有一个三路活塞和二个带有脱脂棉的过滤瓶放在木匣子里,以防玻璃瓶破裂伤人,最后用橡皮管与空气压力表接好。

(3)喷雾器的安装:首先将喷雾器部分的仪器擦净,检查是否完整,各接头部位要旋紧,然后用布罩把光学部分盖好,小心取下喷雾器的上半部,调节压缩空气使压力约在0.4-0.6kg/cm2间,用蒸馏水喷雾,轻轻旋转喷口,交换位置,调节到能使蒸馏水喷起的最高位置(一般喷雾1m以上),然后盖上喷雾器上半部,并使其固定。

(4)灯管火焰的调节:火焰必须稳定,无嘶嘶的声音。内焰(蓝绿色,小圆锥形)的高度应为2-3mm,边缘清晰。在蓝绿色圆锥形的上面是火焰的温度最高部分,必须将这部分照在光电池最灵敏的部位,可以把光圈打开,启开快门开关,由仪器右端的毛玻璃板上,可以看到火焰的形象。如果所看到的形象位置不适当,可以移动灯管的位置,使校光器上的正倒影像重合在一起,同时火焰的蓝绿色的小圆锥形部分恰在校光器的黑色圆圈外,而圆圈所包括的部分正好是光电池最灵敏部分,调整后就固定下来,一般情况就不移动了。

随便看

 

离鸟网收录3541549条中英文词条,其功能与新华字典、现代汉语词典、牛津高阶英汉词典等各类中英文词典类似,基本涵盖了全部常用中英文字词句的读音、释义及用法,是语言学习和写作的有利工具。

 

Copyright © 2004-2024 vtrois.com All Rights Reserved
更新时间:2026/4/21 12:50:14