(一)用途与特点
滚筒式清洗机结构简单,生产效率高,清洗彻底,对产品损伤小。这种清洗机多用于苹果、柑橘、番茄、马铃薯等圆形果蔬的清洗。
(二)结构与工作原理
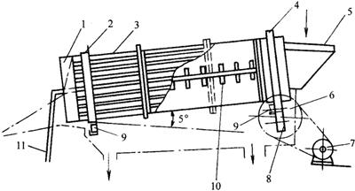
滚筒式清洗机由进料斗、出料口、滚筒、水槽、喷水装置和机架组成,结构如图4-1-2所示,旋转滚筒与水平地面成3°~5°倾斜角放置,由电动机带动皮带轮和轮传动。滚筒的型式根据原料的不同有所差异,有布满筛孔的金属板滚筒、有钢条排成的滚筒,有的滚筒内部装成阶梯形或制成多角形,还有的滚筒中部装有上、下、左、右皆可调节的毛刷,在滚筒中,一般沿其轴线设有喷淋装置。

图4-1-2 滚筒式清洗机
1-出料口 2-滚筒 3-滚筒 4-滚筒齿轮 5-进料斗 6-传动皮带轮 7-电动机 8-传动齿轮 9-支承滚轮 10-喷头 11-喷水管
当物料通过带式输送机均匀地从进料斗进入滚筒时,在滚筒的转动下,物料也不断地翻转,由于物料与滚筒、物料与物料间的相互磨擦,物料上的污物被清洗下来。在污物被清洗的同时,喷头喷射出高压水流冲洗物料表面,使物料进一步得到清洗。清洗物料的污水和泥沙通过滚筒的孔隙流入清洗机底槽,然后从排污口排出。物料在清洗过程中,由于重力的作用,由高向低移动,最后从卸料口排出。有的滚筒内装有螺旋导板,用以控制物料的移动速度。
(三)主要技术参数

注:合肥轻工业机械厂制造。