滑动导靴主要分固定滑动导靴和弹性滑动导靴两种。
固定滑动导靴的靴头可在轴向位置固定,主要用于对重侧,由靴衬和靴座组成。靴衬采用聚氨酯橡胶,靴座采用钢板压制而成。
弹性滑动导靴的靴头可在轴向位置浮动,由靴座、靴头、靴衬、橡胶垫或弹簧组成。靴头能在橡胶垫或弹簧的压缩方向上作浮动,使靴衬的工作面始终压贴在导轨工作面上,从而使轿厢保持稳定的水平位置,同时在运行中具有减小振动与冲击的作用。
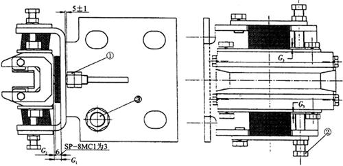
典型的滑动导靴如图7.3-7所示。调整方法如下:

(a)平面图

(b)结构图
图7.3-7 典型的滑动导靴结构
(1)导靴安装前,必须要先完成轿架的组装工作。
(2)确认导轨间距的准确性。
(3)按表7.3-1确认导靴的各项间隙是否符合,如果不符合,则调节导靴的三个调节螺母。
表7.3-1 导靴间隙

(4)如果导靴的各项间隙符合表7.3-1,则通过移动导靴底座,使导靴靴衬刚好贴在导轨端面上,然后将4个导靴固定螺栓拧紧,最后松开如图7.3-7中调节螺母①,使导靴导向板距离导轨端面如图7.3-6所示为(5±1)mm,并锁紧调节螺母。