网站首页  词典首页


请输入您要查询的字词:

 

字词 渔用饲料机械
类别 中英文字词句释义及详细解析
释义

渔用饲料机械


渔用饲料机械包括鱼饲料采集、加工和投喂的机械。

1.采集机械 主要有割草机和吸螺蚬机两种。

(1)割草机:有侧挂式和手推式两种。按切割方式又可分为梳状切割和旋转切割两类,主要由发动机、离合器、传动机构、套管、割刀及倒扶装置等组成。使用割草机的优点是作业质量好,留茬短而不损伤根,效率高。以苏丹草为例,单轮手推式每小时割0.35亩,侧推式的工效更高。

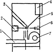
图45—2 DG2型割草机械结构示意图

1.发动机 2.离合器 3.吊挂机构 4.传动部分 5.操纵部分 6.套管 7.减速箱 8.工作件 9.支架

表45—6 DG2型割草机主要技术参数

(2)吸螺蚬机:吸螺蚬机主要由吸管、隔膜真空泵、弹簧拉杆、减速器、偏心轮、柴油机及船体组成,其工作原理是由于隔膜的往复运动,使泵体形成真空来吸汲螺蚬。使用时,主要是掌握好耙吸管的长度、耙吸口和河底的角度以及耙吸的速度(行船速度)。耙吸管的长度一般以超过水深3m左右为宜。耙吸管口与河底的角度以25—35°较为理想。为了合理利用螺蚬资源,应调节好泥水分离筛的间距,达到捕大留小。

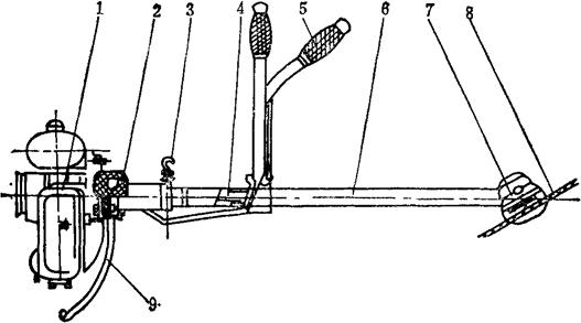
图45—3 机动船上吸螺蚬机构造图

1.吸管 2.船 3.隔膜真空泵 4.弹簧拉杆 5.减速器 6.偏心轮 7.柴油机 8.牵绳

表45—7 几种吸螺蚬机的技术性能

2.加工机械 饲料加工机械按工艺流程主要包括粉碎、搅拌、成形及后处理(筛选、输送、烘干)等四大部分。就机种而言可分为单一机械和成套机组两个大类。就饲料品种划分,则有粉状、浆状、粒状等多种加工机械。在粒状饲料中,又有软颗粒、硬颗粒、膜颗粒、膨化颗粒等多种,根据颗粒饲料的粒径又有与各种规格相应的加工机械。

(1)青饲料打浆机:它可将水花生、水葫芦、水浮莲等水生植物及蔬菜、青草和豆类、薯类植物等各类青饲料打成浆状。它由电动机(或拖拉机)、传运装置、筒体、圆刀盘等组成,其工作原理是片刀切碎和转盘差磨使青草类植物打成浆状。其切碎程度可以由出料口挡板的调节加以控制。

几种国产打浆机的技术参数如表45—8:

表45—8 几种型号青饲料打浆机的主要技术参数

图45—4 青饲料打浆机

1.料斗 2.筒体 3.垂直动刀 4.出料口 5.水平动刀 6.刀盘 7.皮带轮及传动皮带 8.电机 9.固定刀

(2)螺蚬碾碎机:用于碾碎螺蚬等有贝壳动物,主要由电动机、传动装置和一对轧辊组成。电动机通过传动带,使两只带有沟槽的钢质轧辊作相对转动,将从料斗送入的螺蚬等贝壳类挤轧碾碎。机上装有调节手轮,可以根据螺蚬大小和碾碎程度来适当调节两轧辊的相对距离。江苏省吴县黄桥渔机厂生产的螺蚬碾碎机主要技术参数如下表。

图45—5 螺蚬碾碎机

1.料斗 2.轧辊 3.轴承座 4。调节丝杠及手轮 5.传动齿轮 6.出料斗 7.电机

(3)粉碎机:按其结构可分为齿爪式和锤片式两大类。其中锤片粉碎机使用较为广泛,它由进料、粉碎、输送等机件组成。粉碎部由粉碎室、活动锤片、圆盘及筛网等组成。粉碎室内主要工作部件是四组(每组2—4个锤片)活动锤片对物料进行打击粉碎。

粉碎室内下壳体装设铁皮筛网,筛孔多种规格,可按加工要求选用。粉料的输送由电离心风机完成。

使用粉碎机要注意不可让金属、石头等硬物混入,以防损坏锤片。粉碎机是高速工作部件,安装必须牢固,并注意好传动部分的同心度、垂直度和平行度。应经常检查锤片的磨损情况,当锤片—角磨损到距孔边缘5—6mm时,要翻转使用,一个锤片可翻转使用四次。

图45—6 锤片式粉碎机

1.下箱体 2.锤片轴 3.上箱体 4.喂料滑板 5.轴承座 6.锤片 7.出料管 8.风机叶轮 9.筛网 10.主轴 11.皮带轮

饲料粉碎机的型号规格较多,现将上海市松江县佘山渔机厂的DB-22型饲料粉碎机的主要技术参数介绍如下:

(4)EP型浮颗粒饲料机:该机主要是由电动机传动装置、挤出装置、降温水箱、加料斗、机架、切粒电动刈刀、配电箱等组成。螺杆、套筒为该机的主要工作部件,螺杆在套筒内顺时针旋转,迫使物料连续挤出。当含有一定量淀粉质的粉状饲料加水搅拌后,由加料斗进入套筒,经螺杆粉碎压缩与摩擦,物料在螺杆套筒内相对滑动,迅速升温呈糊状从模孔射出,由机体内外压差作用,使物料发泡膨化成结晶状,迅速冷却、水份蒸发、体积膨胀、比重变小,并由切刀切成颗粒。

使用时在启动前用手转动皮带盘,看是否能灵活转动,并清除机中残存杂物。如使用禽粪原料必须经过烘干处理,水分不超过13%,并经粉碎机粉碎。混合饲料中应含淀粉质20%以上,粗纤维为30%左右,总含水量25—30%左右。各种原料应先经搅拌混合。加料时应先少量加入,待升温到120℃以上时方可加满物科,应经常检查防止结拱断料。停车前应走空螺杆剩物,卸出螺杆清理好套筒及模孔板,以免干结,影响使用。

图45—7 EP型浮颗粒饲料机结构图

1.电动机 2.主动皮带盘 3.三角带 4.后轴承盖 5.轴承座 6.60312轴承 7.传动轴 8.进料斗 9.皮带轮罩壳 10.毛毡座 11.冷却水箱 12.轴承档衬套 13.搅料筒前套 14.搅料筒 15.螺杆轴 16.切料刀 17.0.55kW电机 18.切料刀轴 19.出料口网罩 20.出料斗

表45—9 EP型浮颗粒饲料机主要技术参数

(5)SLP-85型膨化颗粒饲料机:该机能将各种原料混合后加工成膨化颗粒饲料,具有使淀粉α化、蛋白质组织化、颗粒膨松化、饲料灭菌化等优点。膨化饲料具有很好的漂浮性能,长时间不沉不散,可减少浪费和防止水质污染。该机主要由电机、减速箱、膨化腔、远红外加热装置、自动控温装置、模头、切粒机构等组成。使用时先将自动控温器调至预定温度,通电使膨化腔预热,当料斗处温度约110℃,模头处130℃时,自动切断加热电源。把搅拌混合好的粉状饲料,加至含水率23—27%左右装入料斗,膨化腔的螺杆由转动机构带动旋转,将物料卷进膨化腔。螺杆的螺距和螺杆深度从料斗处到模头逐渐变小,所以物料随着螺杆的转动向前推进。从模孔处挤喷出来,再经切粒刀切割成各种规格的膨化颗粒饲料。

图45—8 膨化颗粒饲料加工机结构图

1.主电机 2.三角皮带传动装置 3.减速箱 4.自动温度控制箱 5.料斗 6.远红外加热元件 7.螺杆 8.模头 9.切粒刀 10.软轴 11.切粒电机

表45—10 SLP-85型膨化颗粒机主要技术参数

(6)SLY-Z17型硬颗粒饲料加工成套设备:可供中、小饲料厂和500—1000亩水面养殖场使用。主机采用平模结构,由电动机、粉碎机、料斗、鼓风机、旋风机、提升机、冷却器、振动筛、出料斗、鼓风机等设备配套组成。可将谷物、干稻草、麦秆、树叶等粉碎、混合,压粒加工成颗粒饲料后装袋,整个过程连续生产。

加工时先将物料用粉碎机粉碎,由鼓风机送至卧式双螺旋叶片混合搅拌。同时在料斗内亦可加入各种微量成分,经充分搅拌混合后,通过旋风器进入制粒机,由于机内的转动滚轮挤压,从模孔中挤出时,被切刀切成颗粒。颗粒由提升机送到冷却器中冷却,以防止因潮湿、发热而粘着。冷却后经粉粒分离筛选后包装入袋。

图45—9 SLY-Z17型硬颗粒饲料加工成套设备结构示意图

1.粉碎机 2.进料口 3.锅炉 4.关风机 5.配电箱 6.搅拌机 7.造粒机 8.斗式提升机 9.振动筛 10.冷却器 11.水泥座 12.四联除尘器 13.风机

表45—11 SLY-Z17颗粒饲料机主要技术参数

(7)SLD-Z200型配合颗粒对虾饲料机组:主要用于加工粉状饲料和鲜活饲料配合的对虾颗粒饲料。机组主要由造粒机、输送机、粉碎机、搅拌机等组成。

机组的主要技术参数

①造粒机型号:SLP-Z200型,造粒形式:平模辊轮挤压式

配套功率:4kW 生产能力:200kg/h

平模孔径;2.5,3.5,5mm 成型率:大于95%

②搅拌机型号:SLD-Z200—02

搅拌形式:卧式双筒双螺旋

配套功率:1.1kW 搅拌能力:单筒15kg/次

搅拌时间:3min

③输送机型号:SLD-Z200—03

输送形式:倾斜式螺旋输送

配套功率:0.37kW 输送能力:大于280kg/h

粉碎机和打浆机为选配单机,粉碎能力应在300kg/h以上。打浆机选用FFC-37或FFC-23型均可。

图45—10 SLD-Z200型饲料机组工艺流程图

3.投饲机械 主要分为液状投饲和固体状投饲两大类。液状饲料一般采用小型多用泵、抗阻塞泵、隔膜喷雾机或用管道施放。固体投饲有粉状、块状、粒状等几种。现将主要几种颗粒投饲机介绍如下:

图45—11 喷射式自动饲料投饲机结构图

1.喷管 2.复位弹簧 3.下料喉口链 4.电器自动控制器 5.机壳 6.电振器 7.鼓风机

图45—12 离心甩料式自动饲料投饲机原理图

1.机壳 2.搅拌器 3.落料控制片 4.下料漏斗 5.甩料盘 6.皮带传动 7.电机

(1)喷射式自动投饲机:该机操作时,电动机起动后,风机开始工作,受电气自控器的控制,自动打开下料口,料斗中饲料落入鼓风机出口处被鼓风机喷射投入池中。电振器的动作时间和周期,可按选定的要求进行调节。

(2)离心式自动投饲机:它的控制机构与喷射式相近,工作原理是由电动机带动甩料盘和搅拌器旋转,利用离心力作用将料斗中落入甩料盘上的颗粒饲料投入池中。因此投饲的范围成扇状。

表45—12 几种自动投饲机的主要技术参数

(编者:王进胜 审者:丁永良、沈宗武)

随便看

 

离鸟网收录3541549条中英文词条,其功能与新华字典、现代汉语词典、牛津高阶英汉词典等各类中英文词典类似,基本涵盖了全部常用中英文字词句的读音、释义及用法,是语言学习和写作的有利工具。

 

Copyright © 2004-2024 vtrois.com All Rights Reserved
更新时间:2026/4/21 7:13:03