网站首页  词典首页


请输入您要查询的字词:

 

字词 润滑系
类别 中英文字词句释义及详细解析
释义

润滑系


(一)润滑系的功用和润滑方式

润滑系的功用是将润滑油输送到零件的摩擦表面进行润滑,减少摩擦阻力和磨损,并起到清洗、散热、密封和防锈作用。

润滑有压力润滑、激溅润滑和综合润滑3种方式。柴油机多采用综合润滑方式,即有些零件靠激溅起来的润滑油润滑,有些零件靠机油泵对机油产生一定的压力后送到摩擦表面间进行润滑。

(二)润滑系的组成和润滑路线

综合式润滑系一般由油底壳、集滤器、机油滤清器、机油压力表(或机油压力指示器)油尺组成。有些大中型多缸柴油机润滑系中还设有机油散热器。小型单缸柴油机和大中型多缸柴油机的润滑系分别见图1-40和图1-44。

图1-40 小型单缸柴油机润滑系

1.机油集滤器 2.油底壳 3.曲轴 4.缸套 5.活塞 6.机油压力指示器 7.机油管 8.主油道 9.机油泵 10.油尺

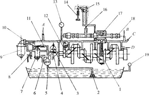
图1-44 大中型多缸柴油机(LR100)润滑系

1.曲轴 2.集滤器 3.分流离心式机油滤清器 4.限压阀 5.机油泵 6.机油泵限压阀 7.机油冷却器 8.机油滤清器限压阀 9.机油滤清器 10.安全阀 11.机油滤清器旁通阀 12.正时齿轮 13.油压表 14.气门 15.摇臂 16.挺杆 17.活塞 18.凸轮轴 19.油温表

A.至增压器 B.至增压活塞冷却喷嘴 C.至喷油泵 D.至曲轴后油封

小型单缸柴油润滑油路如图1-41、图1-42、图1-43所示。

图1-41 S195型柴油机润滑油路

图1-42 X195型柴油机润滑油路(改进后)

图1-43 山东195型柴油机润滑油路

大中型多缸柴油机润滑油路如图1-45所示。

图1-45 大中型多缸柴油机润滑油路

图1-44中机油泵限压阀用来限制机油泵的出口压力,当压力达到700kPa±20kPa时,限压阀开启,部分机油流回油底壳,从而限制机油泵出口压力过高;机油滤清器限压阀的功用是限制主油道的压力,当机油温度为80℃±5℃时,其开启压力为300kPa±98kPa;安全阀的功用是当滤芯堵塞或机油黏度过大时,机油不经滤芯,直接进入主油道,以保证润滑,其开启压力为110kPa±19.6kPa;机油冷却器旁通阀的功用是当机油温度较低时,机油黏度大,流动阻力大,油压增加,当油压达到98kPa时,旁通阀开启,机油不经冷却器直接进入机油滤清器,以缩短柴油机起动预热时间,当机油温度提高后,压力低于98kPa时旁通阀关闭,机油先经过冷却器散热后再到机油滤清器。

(三)润滑系主要部件

1.机油泵 机油泵的功用是把机油从油底壳吸出,并以一定的压力输送到有关零件的摩擦表面,保证零件的润滑。柴油机上多采用齿轮式和转子式机油泵。

(1)齿轮式机油泵:齿轮式机油泵的构造如图1-46所示。

图1-46 齿轮式机油泵

1.主动齿轮 2.从动齿轮 3.出油道 4.限压阀 5.油泵壳体 6.进油道 7.集滤器

泵体内腔被主、从动齿轮啮合线分成两腔,靠吸油口的一腔称吸油腔;靠出油口的一腔称压油腔,由于齿轮轮齿在吸油腔脱离啮合,使吸油腔容积增大,产生一定的真空吸力,将机油吸入泵体,并充满齿间,随着齿轮旋转被带入压油腔,由于轮齿在压油腔进入啮合,使压油腔内的油压提高,机油在一定压力作用下被压出泵体。

(2)转子式机油泵:转子式机油泵的构造如图1-47所示,工作原理如图1-48所示。

图1-47 转子式机油泵

1.机油泵体 2.机油泵轴 3.固定销 4.内转子 5.外转子 6.垫片 7.机油泵盖 8.定位销

图1-48 转子式机油泵工作原理

当内转子带动外转子一起旋转时,内外转子齿间容积不断变化,靠进油槽处的容积由小变大,产生真空吸力,将机油吸入,并充满齿间,随着内外转子旋转,被带向出油槽一边,由于齿间容积靠出油槽一边由大变小,油压提高,机油在一定压力作用下被压出泵体。只要内外转子不断地旋转,机油泵就会不停地进行吸油和压油的泵油作用。

机油滤清器 机油滤清器的功用是过滤机油中的机油杂质,减少零件的磨损。柴油机的润滑油多采用粗、细两级过滤。有的柴油机粗、细机油滤清器串联运用;也有的是采用并联运用,即一部分机油经细过滤器后,不到主油道,直接返回油底壳。

小型单缸柴油机采用的机油细滤器的构造如图1-49所示。机油泵供来的机油经进油口先进入滤芯和壳体之间,再通过滤芯将机油中的细微机械杂质过滤掉,清洁机油流入主油道,再去润滑零件的摩擦表面。滤清器上的安全阀的作用是当滤芯堵塞或机油黏度过大时,机油可顶开安全阀,直接进入主油道,以保证润滑。回油阀的功用是控制主油道机油压力。当主油道压力过大时回油阀打开,主油道内一部分机油回流到油底壳,使主油道机油压力下降到正常压力。大中型柴油机上还采用离心式机油细滤器,其构造如图1-50所示。当机油压力超过限压阀弹簧预紧力时,顶开限压阀,进入转子内腔并快速从转子底部的两个喷嘴喷出,喷射产生的反作用力对转子产生旋转力矩,使转子产生高速旋转,机油中的机械杂质在离心力的作用下,抛向转子内壁,清洁的机油再流回油底壳。离心式机油滤清器正常工作时,转子的转速不应低于5500r/min,限压阀的开启压力不高于171kPa±2.5kPa。

图1-49 小型单缸柴油机机油细滤器

1.滤清器座 2.进油道 3.出油道 4.回油道 5.调压阀 6.安全阀 7.橡胶垫圈 8.滤芯 9.外壳 10.弹簧 11.长螺栓

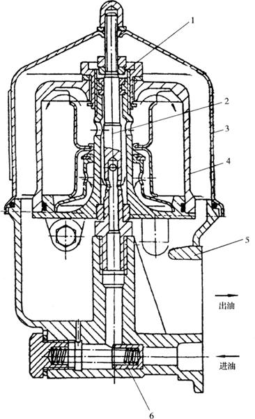
图1-50 大中型柴油机离心式机油细滤器

1.止推垫 2.转子轴 3.外罩 4.转子总成 5.底座 6.限压阀

随便看

 

离鸟网收录3541549条中英文词条,其功能与新华字典、现代汉语词典、牛津高阶英汉词典等各类中英文词典类似,基本涵盖了全部常用中英文字词句的读音、释义及用法,是语言学习和写作的有利工具。

 

Copyright © 2004-2024 vtrois.com All Rights Reserved
更新时间:2026/4/19 5:25:24