网站首页  词典首页


请输入您要查询的字词:

 

字词 测距仪的辅助设备
类别 中英文字词句释义及详细解析
释义

测距仪的辅助设备


1.反射棱镜

反射棱镜是光电测距时必不可少的辅助设备之一,它是由三个相互垂直的反射面和一个斜交的入射面构成的四面光学玻璃锥体,如同在正方体玻璃上切下的一角,如图18-49所示。图中ABC为测距光束的入射穿透射面,呈等边三角形;另外三个面ABD、BCD和CAD为反射面,呈等腰直角三角形。反射面镀银,面与面之间相互垂直。这种结构的棱镜能够使光线无论从哪个方向入射,反射光线能基本上沿着平行于入射光线的方向反射回到测距仪。因此测量时,只要棱镜的透射面大致垂直于测线方向,仪器便会接收到回光信号。

图18-49 反射棱镜

由于光在玻璃中的折射率为1.5~1.6,而在空气中的折射率近似等于1,也就是说,光在玻璃中的传播要比在空气中慢,因此,光在反射棱镜中传播所用的超量时间会使所测距离稍增大一些数值,它是产生棱镜常数的原因之一。棱镜常数的大小与棱镜直角玻璃锥体的尺寸、玻璃的类型及安装定心等因素有关,可按下式确定pc(棱镜常数):

pc=-[NG/NR(a-b)]

式中 NG——光通过棱镜玻璃的群折射率;

NR——光在空气中的群折射率;

a——棱镜前平面(透射面)到棱镜锤顶的高;

b——棱镜前平面到棱镜装配支架竖轴之间的距离,如图18-50所示。

图18-50 棱镜直角玻璃锥体尺

1-棱镜;2-支架竖轴;3-棱镜“零位”

通常棱镜常数已在厂家所附的说明书或在棱镜上标出,供测距时使用。在精密测量中,为减少误差,应使用经检定过的棱镜。

观测时采用一块棱镜,称为单棱镜。根据测程的不同,可以选用三块棱镜、九块棱镜等。根据测量的精度要求和用途,可以选用三脚架安置棱镜或测杆棱镜。

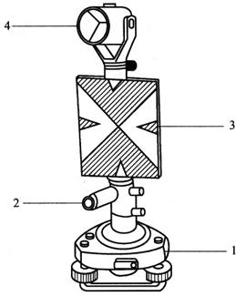
(1)在三脚架上安置棱镜

如图18-51所示。将棱镜装在照准牌框上,再将其装在棱镜底座上,然后通过三脚架的连接螺旋固定。棱镜觇牌应便于仪器精确瞄准。棱镜框上设有瞄准器,可使棱镜面朝测线方向。棱镜底座上设有圆水准器、水准管和光学对中器,用来对中和整平。松开基座上的固定螺旋,上部即可与基座分离,便于采用“三联脚架法”进行导线测量。另外,棱镜底座能调整其高度,使棱镜中心至基座的高度等于仪器横轴中心至基座的高度。

图18-51 三脚架安置棱镜情况

1-基座;2-光学对中器目镜;3-照准觇牌;4-反射棱镜

(2)测杆棱镜

在放样测量和精度要求不高的测量中采用测杆棱镜是十分便利的。如图18-51所示,它由棱镜、测杆、圆水准器和轻型三脚架组成。必要时也可以安装觇标。

使用时,将测杆尖部对在测点上,利用圆水准器使测杆垂直,并用轻型脚架固定。放样测量时则可手持测杆,加快放样的速度。

2.温度计和气压计

大气折射率随大气条件而改变。由于仪器作业使的大气条件一般不与仪器选定的基准大气条件(通常称为气象参考点)相同,光尺长度会发生变化,使测距产生误差,因此必须进行气象改正(或称大气改正)。大气条件主要是指大气的温度和气压。精密的测量,还应考虑大气湿度。

若t温度为15℃,p气压为1013mb(1.013×105Pa)时,则大气改正的ppm值为零(ppm=parts per million),即×10-6。这里可理解为1km的距离改正的毫米数。当输入观测时的温度和气压时,仪器的ppm值应按以下式计算,单位(mm):

ppm=278.96-[(0.294×p)÷(1+0.003661×t)]

将上式计算出的ppm值乘以观测距离(公里数)即可得到该段距离的大气改正数。也可将观测时的温度和气压输入测距仪,测距仪就自动按上式对距离进行改正。

测定气温通常使用通风干湿温度计。测程较短或测程精度要求不高时,可用普通温度计。

测定气压通常使用空盒气压表。气压表使用的单位为:mb(毫巴)和mmHg(毫米汞柱)两种,其换算关系为:

1mb=0.7500617mmHg

1mmHg=1.333224mb

随便看

 

离鸟网收录3541549条中英文词条,其功能与新华字典、现代汉语词典、牛津高阶英汉词典等各类中英文词典类似,基本涵盖了全部常用中英文字词句的读音、释义及用法,是语言学习和写作的有利工具。

 

Copyright © 2004-2024 vtrois.com All Rights Reserved
更新时间:2026/4/19 2:55:52