网站首页  词典首页


请输入您要查询的字词:

 

字词 流量标准装置
类别 中英文字词句释义及详细解析
释义

流量标准装置


为了获得流量仪表的流量值及其准确度,必须进行流量计标定。流量仪表的标定有直接测量法和间接测量法两种方式,直接测量法是以实际流体流过被检表,再用标准装置测出流过流体的量,与被校仪表的流量值作比较,或将待标定仪表进行分度;间接测量法是以测量流量仪表传感器的结构尺寸或其它与计算流量有关的量,并按规定方法使用,间接地校验其流量值,获得相应的准确度。间接校验法因仪表类型而异,在此不一一分别介绍了。直接测量法虽也因仪表类型而有些差别,但有较多共性,应用普遍,本章对常用的几种标准装置作简要阐述。

1.液体流量标准装置

(1)静态容积法液体流量标准装置

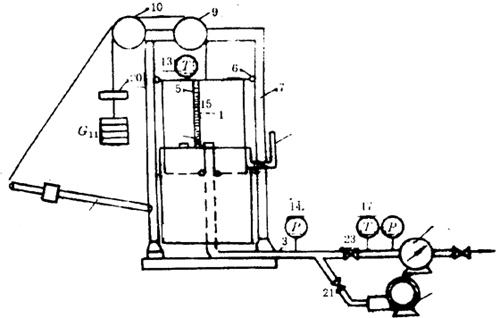
本类装置一般用水作循环流体。高位槽5在校验全过程中处于溢流状态,以维持压头稳定,也有采用稳压容器代替高位槽。首先调整流量到所需的值,然后经换向器10将水流切入计量容器11,并开始计时(计时器与换向器联动),流入水量即将达到所需容积时,切出水流并停止计时,得时间t,待容器内水位静止时读取流入水体积vs,求得标准流量(qv)s=vs/t,与被校仪表流量示值(qv)m比较。本类装置适用于校验瞬时流量仪表及带电脉冲输出的总量仪表。系统准确度在±(0.05~0.5)%之间。

1.下位水池 2.排水管 3.泵 4.进水管 5.高位水槽 6.截止阀 7.试验管段 8.被校仪表 9.控制阀 10.换向器 11.计量容器 12.阀 13.排水管

图4.10-6 静态容积法液体流量标准装置示意图

(2)静态质量法液体流量标准装置

此类装置其系统与静态容积法流量标准装置相类似,只是以称重的秤代替计量容器,此类装置最适合于校验质量流量仪表。如用于测量体积流量必须准确地测量流体密度,经过换算才能得到体积流量。适用于低粘度液体及粘度较高的石油类液体。

(3)动态容积法液体流量标准装置

如图示,在计量容器的上下两端设置液位开关2、4,同步控制计时器17和被校验流量积算器启停。稳压容积13也可用高位槽代替。此类装置结构简单,操作方便,但校验总量仪表时或在流量有变化的装置上校验流量仪表时,仪表必须有高分辨力脉冲输出。

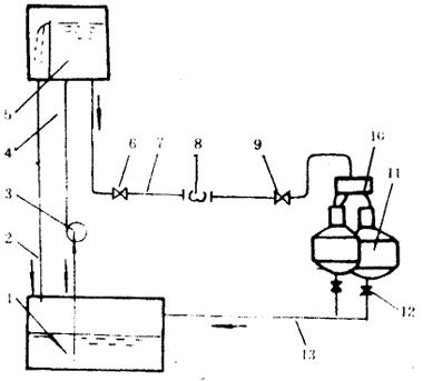
(4)动态质量法液体流量标准装置

如图示,液体以稳定的流量经流量仪表进入称量容器,再经底阀流入贮液池,作校验时先气动快速关闭底阀,当称量容器内液体质量达到预定质量m1时,传感器发出信号启动计时器和流量计脉冲计数器。当称量容器内液体质量达到m2时,停止计时器和计数器。此类装置用于低流速时可获得较高的准确度和复现性。

(5)标准体积管流量装置

标准体积管流量装置结构上有多种类型。图示为单向球型原理示意图。球3经交换器2进入体积管b,在流过被校验流量仪表1的液流推动下,如箭头所示前进。经过探头5时发出信号启动计数器8,经过探头4时停止计数器工作,从计数器的读数和体积管计量段容积求得流量仪表的仪表常数,即单位脉冲的容积值。球则受导向杆阻挡,落入交换器,为下一次试验作准备。近年发展了结构紧凑,小型轻量,尺寸仅为传统标准体积管1/3的活塞式标准体积管,更适合移动到现场校验。此类装置广泛用于石油工业标定液体总量仪表,特别适用于标定大管径涡轮流量计。虽然也能用于标定瞬时流量仪表,但实践上还是使用于总量仪表为多。

图4.10-7 动态容积法液体流量标准装置示意图

1.上容器 2.上液位开关 3.计量容器 4.下液位开关 5.连接管 6.截止阀 7.水池 8.下容器 9.控制阀 10.被校流量计 11.泵 12.截止阀 13.稳压容器 14.转换器 15.流量显示 16.积算器 17.计时器

图4.10-8 动态质量法液体流量标准装置示意图

1.位置传感器 2.称杆 3.称的支点 4.称量容器 5.底阀 6.储液池 7.气动阀 8.控制阀 9.被检仪表 10.流量积算器 11.计时器

1.被校验流量计 2.交换器 3.球 4.终止检测器 5.起始检测器 6.体积管 7.校验容积 8.计数器

图4.10-9 标准体积管流量装置示意图

(6)标准流量计法

该方法是用准确度高一等级的标准流量计与被校验流量仪表串联,流体同时流过二者,比较二者的示值,达到校验或标定的目的,这种方法费用最省、容易携带,操作简便。还可通过并联若干台标准流量计的方法。扩大流量范围 通常选用误差限小于±0.5%,重复性好的高准确度仪表作标准流量计当前以用容积式流量计,涡轮流量计和电磁流量计为主,可校验准确度等级为0.5~1.5级的流量仪表。

图4.10-10 钟罩式气体流量标准装置示意图

2.气体流量标准装置

(1)钟罩式气体流量标准装置

如图示,钟罩置于水或低粘度不易挥发油的液槽内,组成密封容器。钟罩处于高位(用鼓风机顶起),全开阀23后调整阀22开度,钟罩以稳定速度下降,罩内气体以一定流量经流量计流入大气。当下挡板遮住光电发讯器时,计时器开始计时,被检流量计同时也开始记数,钟罩继续下降。当上挡板遮住光电发讯器时,计时器停止计时,被检流量计同时停止计数。记下钟罩内的温度值、压力值以及流量计前的温度值、压力值和大气压力,二挡板之间的钟罩容积事先已标定过,由此即可求得标准流量。

(2)PVTt法气体流量标准装置

按使用时气流对标准容器的进出方向,可分为流入式和流出式;流入式的原理为:先用真空泵将标准容器内抽为真空,开动风机使容器内温度均匀后关闭之。打开开关阀,气体经流量计1流入容器内,后关闭阀门,记下这段时间间隔t,及进气前后容器内气体的绝对压力和温度,由此算得流入的气体质量流量,此类装置主要用于标定音速喷嘴等气体流量标准表。

(3)皂膜式气体流量标准装置

此类装置只能用于校验小流量仪表。由稳压气源流出的气体经被校流量计进入皂膜计量管进口,然后挤压胶球产生皂膜,用秒表测量皂膜经过已知容积两刻线间的时间,求得标准流量与仪表流量示值,比较之。皂膜管容积有10~6000ml之间多种规格,装置系统准确度等级通常为0.5~2级。

【参考文献】:

[1]师克宽等,过程参数检测,中国计量出版社,1990。

[2]王江,现代计量测试技术,中国计量出版社,1990。

[3]鲁绍曾,现代计量学概论,中国计量出版社,1987。

[4]赵琪 原遵东等,用于ITS-90的直流光电温度比较仪,计量学报(1990),Vo1,11,No.4,P.241。

[5]H.Preston-Thomas,The International Temperature Scale of 1990,CCT BIPM,1990

[6]蒋思敬、姚土春编,压力研究。

[7]M·K,若霍夫斯基着,李燕、黄国政等译,压力和疏空计量技术。

[8]Supplementary Information for the International Temperature Scale of 1990,CCTBIPM,1990。

[9]Techniques for Approximating The International Temperature Scale of 1990,CCT BIPM,1990。

[10]王魁汉,温度测量技术,东北工学院出版社,1991。

[11]沈正宇、王凤诚,从计量保证方案(MAP)谈一等标准水银温度计的检定质量,第二届全国温度测量与控制学术会议论文集,P340-345,1990。

[12]压力计量名词术语及定义,JJG,1008-87。

[13]知久明、金田良作等合编,房景富、韩慧文、袁先富译,压力测试仪器的管理。

[14]许第昌编,压力计量测试。

[15]蔡武昌等编,流量测理方法和仪表选用指南。

[16]川田裕郎等编着,流量测量手册。

[17]苏彦勋、盛健、梁国伟编着,流量计量与测试。

随便看

 

离鸟网收录3541549条中英文词条,其功能与新华字典、现代汉语词典、牛津高阶英汉词典等各类中英文词典类似,基本涵盖了全部常用中英文字词句的读音、释义及用法,是语言学习和写作的有利工具。

 

Copyright © 2004-2024 vtrois.com All Rights Reserved
更新时间:2026/4/18 17:09:05