网站首页  词典首页


请输入您要查询的字词:

 

字词 水产罐头加工装备
类别 中英文字词句释义及详细解析
释义

水产罐头加工装备


1 概述

水产品的范围很广,包括所有的水产动、植物。在我国,目前用作罐头原料的主要是鱼贝类。水产罐头加工装备是将鱼、虾、贝、蟹等水产品原料进行处理,加工制成罐头的机械设备,它可分为原料处理和制品加工机械两大类。

由于水产原料品种复杂,个体小,并且大多外有鳞甲、外壳等,在加工时须去除。另外,水产品表面常沾有细小的泥砂等污物,并且容易腐败变质。因此,原料的处理较困难,加工时杀菌要充分,对于大规模工业化生产,原料处理设备则显得很重要。用品加工设备多为通用设备,参见有关章节,本节重点介绍鱼罐头加工工艺和专用关键装备。

鱼类处理机械是对鱼类原料进行清洗、分级、去鳞等处理的机械。主要有洗鱼机、分级机、去鳞机、去头机、剖腹去内脏机、切段机等。贝类处理机械是对贝类进行清洗净化,开壳取肉、壳肉分离等的设备。根据壳肉分离方法的不同,可分为碎壳取肉和开壳取肉两类机械。加工对象主要是贻贝、扇贝和蛤等。

2 加工工艺(图1-12-2)

图1-12-21 水产罐头加工工艺流程图

2.1 原料的清理

选用新鲜或冷冻良好的原料。冷冻的原料要解冻,目前比较先进的有加压解冻法和微波解冻法。解冻后的原料一般要去鳞、尾、鳍、鳃、心、内脏等,并经充分洗涤。

原料处理前的清洗,主要是洗净附于外表的泥砂、粘液、杂质等。清洗方法按原料种类而异。鱼类、软体类一般用机器或人工刷洗;贝类、蟹、虾等用刷洗和淘洗;蛏子等贝类洗涤后,还需用1%~1.5%的盐水静置浸泡40~80min,使蛏充分吐砂。

原料处理后的清洗,主要是洗净腹腔内的血污、黑膜和粘液等,并用小刷顺利刷洗及刮去脊椎瘀血。去壳后的螺肉及鲍鱼肉还应加入适量的盐,搓洗冲去粘液等污物。洗涤时,鱼用清洁流动的冷水,对鱿鱼、墨鱼、虾等易变质的原料,洗涤时还必须加冰降温。

2.2 盐渍

蒸煮或油炸脱水前,大部分鱼料需经清洁盐水浸泡或盐腌处理。其目的是脱去部分血水及可溶性蛋白质,改善产品的色泽和防止蛋白质在肉块表面凝集;使鱼组织收缩变硬,防止鱼皮脱离,并使鱼体吸收适量盐分。

一般同品种的鱼,大鱼比小鱼、大块比小块、肥鱼比瘦鱼、鲜鱼比冻鱼,需要的盐水浓度高,且浸渍时间长。

2.3 脱水

脱水的目的是脱去部分水,使鱼体蛋白凝固,鱼肉组织变得紧密,具有一定的硬度,便于装罐;鱼肉脱水后,能使调味液充分渗入鱼肉,并保证成品的固形物含量;加热脱水,能杀灭鱼体附着的一部分微生物,有助于杀菌效果。脱水的方法主要有以下四种。

2.3.1 蒸汽加热法 可将鱼称重装罐,用清水或用1°Bé清洁盐水注满后,以蒸汽加热脱水。也可直接进行。脱水温度与时间因鱼的种类、大小及设备条件而异。一般采用常压加热,必要时也可用100℃以上温度脱水。

2.3.2 沸水或盐水预煮法蚝、鱿鱼、墨鱼、虾等产品均采用此法。

2.3.3 烘干法 有些烟熏或鲜炸鱼类罐头,熏或者炸前,采用热风干燥,使鱼体表面吹干。

2.3.4 油炸法 鲜炸、五香等鱼罐头可采用此法。一般使用植物油,温度170~200℃,时间2~5min。每次油炸投料量,应为油量的10%左右。此法鱼肉质酥硬稳定,色泽和口味改善。

2.4 装罐

将鱼(整条或切块)称重后,整齐地排列于罐内。鱼体若平放则鱼腹向上,同一罐中鱼体大小和色泽要大致相同。对于豆豉鱼则先将豆豉装入罐底,再装鱼。然后按比例加入一定量的调味液,香料油等辅料。也有将鱼脱水后,趁热浸入调味液中一段时间后,取出沥汁放冷后装罐。

对于蟹、蛏等在装罐前须剥壳取肉,再经洗涤后称量装罐。

2.5 排气密封

排气是食品装罐密封前的一个必要的技术措施。最后一般要求罐头的中心温度达到80℃以上,真空度53kPa下密封。对于不同的产品要求不尽相同。

2.6 杀菌、冷却

水产罐头杀菌的温度一般为118℃,在10~15min内升温、升压,保持1h左右,最后反压冷却至40℃以下。

3 关键设备

3.1 洗鱼机

洗鱼机是用于对鱼类进行清洗的机械,可分为振筛式和筒式洗鱼机两种。

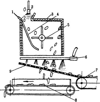
3.1.1 振动筛式洗鱼机(图1-12-22) 振动筛式洗鱼机主要由箱体、振动筛、清水管、排污门,以及电动机和传动机构组成。振动筛是其主要工作部件,起清洗和向前输送鱼体的作用。它由栅板和栅格焊成阶梯状,栅板在运动时将鱼体向前输送,栅格可以防止鱼体在振筛后退时向后回退,并让污水流入箱体和防止鱼落入箱内。

图1-12-22 振动筛式洗鱼机

1-箱体 2-清水管 3-减速箱 4-蜗轮减速器 5-电动机 6-振动筛 7-喷水管 8-排污门 9-偏心连杆

该机工作原理:电动机5通过传动机构,采用蜗轮减速器4,经偏心轮、偏心连杆9和振动筛6相连,从而带动振动筛作往复运动。鱼从进料口落到振动筛内,该筛约2/3浸在盛水箱体1内,当振动筛往复运动时,鱼体被冲洗并向前输送;振动筛的另外1/3露出水面,当鱼被送到此处时,由喷水管7对鱼体喷淋、冲洗。洗净的鱼经出料口由输送带送到下一道工序。箱体两端装有清水管2,用于冲洗残留在斜坡上的污渣,污水从底部排污门8排出箱体。

3.1.2筒式洗鱼机(图1-12-23) 筒式洗鱼机洗鱼筒卧放为圆锥形,稍有倾斜。圆筒的两端装有供水管,上部开有进料口3,尾端内装有拨鱼器,并联在与圆筒成90°的输送带机械上,输送带侧边装有齿轮变速箱和传动装置。

图1-12-23 筒式洗鱼机

1-拨鱼器 2-拨鱼轴 3-进料口 4-卸料带 5-出料口

该机工作原理:鱼由进料口3倒入,由拨鱼器1拨动鱼,同时由高压泵经供水管供水,冲洗鱼体。最后通过卸料带4送至出料口5,落入鱼箱内。

3.2 分级机

分级机是用于将同一种鱼按大小分等级的机械,可分为管式和带式分级机两种。

管式分级机由传动机构、进鱼斗、分级机构、洒水系统、接鱼槽及输送系统组成。它采用不等径回转轴的方法分选鱼的大小。工作时,鱼由进鱼斗进入到达分级机构。该机构采用8根不等径回转轴,每2根轴成一对,彼此相向转动,均由内向外,其轴间间距大小按鱼的分级要求可进行调节。当鱼通过轴间时,会按自身厚度的不同,从各自尺寸的轴间落下,掉在接鱼槽内,从而分选出不同规格的鱼。

带式分级机由输送带、支承杆、盛鱼箱、传动机构等组成。输送带为2条,安装成45°的V形槽,槽底有缝隙,缝隙的间距逐步向前扩大。输送带背部有倾斜排列的支承杆,防止输送带在工作时外移。工作时:鱼放入输送带内,输送带向前移动,鱼会按自身的规格,到达符合自己宽度的缝隙,而向下落入安放在槽底下部的盛鱼箱内。

3.3 去鳞机

去鳞机是用于去除鱼鳞的机械,可分为间歇式和连续式两种。

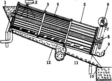
图1-12-24所示为连续式去鳞机。主要工作部件为去鳞滚刀,其有2组,每组配备1把平滚刀和2把不同锥角滚刀。所有刀刃均接触到整个鱼体表面,以达到有效去除鱼体各部位鳞片的目的。

图1-12-24 连续式去鳞机

1-喂料台 2-进料滑板 3-压鱼板 4-传送棘轮 5-去鳞滚刀 6-出料滑板 7-冲水管

该机工作原理:鱼放置在喂料台1上,头向前,逐步推入进料口,然后通过进料滑板2。当鱼体到达压鱼板3与传送棘轮4之间时,鱼便被压鱼板定位,并由传送棘轮向前输送,通过2组去鳞滚刀5完成去鳞工序,同时冲水管7向鱼体喷水,起润滑和冲洗作用。

间歇式去鳞机为筒形,主要由1只底箱和1只脱鳞箱两部分组成。底箱装有电动机、减速装置,脱鳞箱装有环形水管、活动转盘和胶棒。工作时,将鱼倒入筒内,通过活动转盘上的螺旋形胶棒与固定在筒内壁上的胶棒,将鱼翻滚、摩擦而脱除鱼鳞。同时,喷水管喷水,将鱼鳞及杂物排出箱外。

3.4 去鱼头机

去鱼头机是用于切除鱼头的机械,可分为单刀去头机和双刀去头机。

单刀去头机结构简单,其主要由圆切刀、输送带、夹子、电动机等构成。切刀由单独的电动机带动。切刀的刀刃嵌在3~4mm宽的槽内,高速旋转。工作时,先将鱼放在输送带上的夹子内,鱼的腹部朝上,由弹簧压板压紧,鱼头顶住调节板。然后,输送链向前移动,经过切刀时,将鱼头切除。该机切口平直,对原料浪费大。

图1-12-25所示为双刀去鱼头机。其主要由切刀电机、刀具、夹紧装置、输送带及传动机构组成。

图1-12-25 双刀去鱼头机

1-切刀电机 2-刀具 3-夹紧装置 4-输送带

两把切刀分别由2台电动机1控制。切刀呈V形排列,并可根据鱼体大小进行调节。输送带上设有盛鱼槽,呈12°倾斜,盛鱼槽前部均有一副鱼头夹紧装置3,可避免切头时鱼体产生外移。工作时,将鱼置于盛鱼槽内,利用鱼体的自重使鱼头向下倾斜,鱼腹向上,同时鱼头被夹紧装置夹住。然后,输送带向前输送,当通过V形的切刀时,鱼头被切除。

3.5 剖腹、去内脏机

剖腹、去内脏机分为无头鱼剖腹、去内脏机和带头鱼剖腹、去内脏机。

3.5.1 无头鱼剖腹、去内脏机(图1-12-26) 无头鱼剖腹、去内脏机主要由夹鱼输送带、导向器、剖腹刀、去内脏轮及传动系统组成。

图1-12-26 无头鱼剖腹、去内脏机

1-剖腹刀 2-导向杆 3-背压轮 4-夹鱼输送带 5-传动系统

该机工作原理:当鱼进入导向器后,鱼腹即被定向,剖腹刀1快速旋转将鱼腹剖开。再由导向杆2扩大腹壁,随后进入旋转的去内脏轮。当腹腔通过该轮时,内脏及韧膜都被刮出。由于去内脏轮的作用力较大,故在2根夹鱼输送带4外部装有背压轮3,使鱼体在加工时不会偏离去内脏轮。

3.5.2 带头鱼剖腹、去内脏机(图1-12-27) 带头鱼剖腹、去内脏机,工作时将鱼置入机内的输送带上,鱼腹部朝上,鱼头顶住卡子1。进料口2的平板可以调节,调试到卡子恰好通过进料口。鱼由输送带输送至剖腹刀具4装置处,有2根导向杆来摆正鱼的位置。旋转刀将鱼的腹部切开,并将内脏取出。然后通过旋转刷5除去残留的内脏。与此同时,喷水器6将水喷至切刀与旋转刷之间,在冲洗同时可保证鱼的腹部敞开,以便旋转刷进入鱼腹。另一喷水器将水喷向旋转刷的背部,使鱼得到彻底冲洗。剖腹时由凸轮控制切刀和旋转刷的旋转周期。鱼体清理后由出料口8送出。

图1-12-27 带头鱼剖腹、去内脏机

1-卡子 2-进料口 3-输送带 4-刀具 5-旋转刷 6-喷水器 7-刀具调节机构 8-出料口

3.6 鱼体切段机

鱼体切段机供鱼处理中鱼体按所需规格切段用。机体由机架、斗式输送机、圆片切刀轴、喷水器及安全联轴器等部分组成。电动机经联轴器直联切刀轴,另一端则由蜗轮副再经斜齿轮减速带动斗式输送链。

作业时,需切段的鱼体由人工按条状放入斗式输送链内,经过安装在机身头部的圆片切轴后,即完成切段任务,输入盛料斗内。在圆刀切段时,用水喷淋起润滑与冷却作用。

3.7 贝类碎壳取肉法加工机械

贝类碎壳取肉法加工机械由破碎机、取肉机等组成。破碎机一般采用爪式,由机体、动齿盘、定齿盘等组成。依靠高速旋转的动齿盘的圆齿和扁齿的冲击,并在离心力的作用下,贻贝由动齿盘中心向外移动,不断地与定齿盘发生撞击,将贻贝破碎成12mm×12mm大小方块后从下部排出。

如图1-12-28所示,取肉机的主要工作部件为1个筒形的转鼓。工作时,将从破碎机出来的碎贻贝从入料口4喂入,通过喷嘴2喷洒在转鼓3内壁上。转鼓壁上有钻孔,底部的支撑盘8为孔板式结构。由于转鼓随主轴11在电动机9的带动下高速旋转,受离心力的作用,贝肉从转鼓壁孔甩出,经排肉浆口12排出。而壳渣无法通过钻孔,被截留在转鼓内壁上,待积到一定厚度后,将转鼓转速降至60r/min左右,由刮板7将壳渣刮落,经排壳渣口10排出。

图1-12-28 生贻贝取肉机

1-压盖 2-喷嘴 3-转鼓 4-入料口 5-定位杆 6-上盖板 7-刮板 8-支撑盘 9-电动机 10-排壳渣口 11-主轴 12-排肉浆口

3.8 贝类开壳取肉法加工机械

开壳取肉法有蒸煮、微波、红外线、激光开壳等多种方式,其中常用的是蒸煮式。蒸煮式开壳机械主要由滚洗分粒机、蒸煮机、脱肉机等组成。

(1)图1-12-29所示为滚洗分粒机的结构。其主要作用是清洗、除杂,获得适于加工的生贝。主要工作部件是一个两端开口的转笼,倾斜放置,周围均布许多栅条,栅条间距上小下大。

图1-12-29 滚洗分粒机

1-入料口 2-喷水嘴 3-转笼 4-上栅条 5-下部栅条 6-减速器 7-链条 8-转轴 9-排石槽 10-盛贝器 11-导贝槽 12-排污槽

该机工作原理:当生贝从入料口1进入转笼3,在转轴8的带动下随转笼转动。同时,转笼上方的喷水嘴2对生贝进行喷淋,从而使得泥砂等细小杂质及幼贝通过上部栅条4间隙从排污槽12排出。生贝在翻动中缓缓下移通过下部栅条5间隙进入盛贝器10,而贝壳、大石等杂物则从转笼的下开口进入排石槽9。转笼的栅条间隙随加工的贝类不同而异。对扇贝,上端栅条间隙约31.75mm,下端栅条间隙约50.8mm。

(2)蒸煮机按加热方式可分为热水槽式和蒸汽喷射加热两种。

热水槽式的上层链带浸没在热水槽中,当链带上的生贝通过水温为65~100℃的热水槽时,生贝就被蒸煮。浸没时间为20~30s。

蒸汽喷射式蒸煮机,在链式钢丝带间装有蒸汽排管,管上开孔,蒸汽由孔喷到钢丝带上的贝。蒸汽温度为88~105℃左右,喷射时间10~30s。

(3)脱肉机有重力冲击式、转轮冲击式和振动冲击式。经过蒸煮的贝类,依靠冲击使贝开壳、壳肉分离。

图1-12-30所示为转轮冲击式脱肉机的结构图。该机工作原理:将蒸煮后的生贝从入料口1喂入脱壳箱3,通过导板4使贝受到高速转动的柔性叶片5撞击,并将其抛向内壁,脱壳箱内壁衬有橡胶层,使贝开壳,分离而不致破碎。同时,从入料口处的喷水嘴2向脱壳箱内喷淋冷却水。开壳后的贝掉在网状斜面9上,用高压水喷射,使壳肉分离,贝肉经网状斜面9上的孔落到贝肉输送带8上送出脱肉机,贝壳沿网状斜面9滑到贝壳输送带7,从另一端排出机体。

图1-12-30 转轮冲击式脱肉机

1-入料口 2-喷水嘴 3-脱壳箱 4-导板 5-叶片 6-高压喷水管 7-贝壳输送带 8-贝肉输送带 9-网状斜面

随便看

 

离鸟网收录3541549条中英文词条,其功能与新华字典、现代汉语词典、牛津高阶英汉词典等各类中英文词典类似,基本涵盖了全部常用中英文字词句的读音、释义及用法,是语言学习和写作的有利工具。

 

Copyright © 2004-2024 vtrois.com All Rights Reserved
更新时间:2026/4/21 11:45:16