网站首页  词典首页


请输入您要查询的字词:

 

字词 氡气法
类别 中英文字词句释义及详细解析
释义

氡气法


15.1.1 基本原理

通过天然放射性元素随地质活动的变化规律进行地质构造研究,是核地球物理勘探(Nuclear Geophysical Exploration)的内容之一。用航空γ能谱测量方法进行区域断裂研究是比较成功的,但用地面γ射线测量方法调查活动断层,虽有一些成功实例,但总的来看效果不好,因为异常与背景相对差值较小,且干扰因素较多,目前还难以控制到最有效程度。目前比较有效的方法是各种以测氡为基础的放射性测量方法。

自发产生核衰变的天然放射性元素有铀系、钍系和锕铀系三个系列,以及一些单独的放射性核素。三个天然放射性系列的共同特点是:①每个系列都有一个长寿命的起始核素。铀系的起始核素是(铀),半衰期为4.5×109年;钍系是(钍),半衰期为1.4×1010年;锕铀系是(铀),半衰期为7.385×108年。它们衰变很慢,可以认为数量基本不变,每个系列的各个子体核素的数量相对稳定。②每个系列经过多次核衰变后,最后一个子体都是稳定的铅同位素。③三个衰变系列中间都有一个放射性气体氡的同位素,铀系是(Rn)、钍系是(Tn)、锕铀系是(An),他们的半衰期差别很大(见表15-1),在实际测量中根据这一特点,很容易把它们分别测出。219Rn半衰期仅为3.93秒,且含量很低难以利用。作为测氡方法主要是测量222Rn和220Rn。在活断层研究中主要是测量222Rn,因为它迁移距离远,有利于传递深部构造信息。

天然放射性元素在自发进行核衰变时,放出α射线的称为α衰变,放出β射线的称为β衰变。由于α射线是高速运动的质量数为4、带两个正电荷的氦原子核,所以α衰变形成的子体核素是比母体质量数少4,原子序数少2的新核素。而β射线是高速运动的电子,所以β衰变形成的子体核素与母体质量数相同,只是原子序数增加一位。此外,α衰变或β衰变形成的子体核素,有的处于高能级的激发态,这种激发态是不稳定的,很快会退激到低能级的稳定基态,并以电磁波的形式放出多余的能量,称为γ光子或γ射线。由此可见,γ射线总是伴随着α衰变或β衰变同时产生的。如果激发态保持时间较长,就构成独立核素。因为它与基态核素有相同的质量和相同的原子序数,只是能量不同,所以叫同质异能素。

氡()是α衰变的辐射体,经过α衰变后转变为,再衰变后连续生成几个短寿命的放射性子体核素,包括氡在内都是系列中较强的α、γ辐射体,如表15-1所列。通过测量这些核素的α射线(粒子)或γ射线强度,可以确定土壤中氡气浓度分布,并依此确定地质构造特征。

表15-1 氡同位素及其子体的特征

注:s-1为衰变常数λ的量纲,秒-1

镭的同位素衰变成氡的同位素,而氡的同位素又衰变生成新的子体,因此氡的同位素按下述规律由镭同位素积累,并达到数量上的平衡。

式中:N2为第二种物质,即氡同位素(子体)在t时的原子数;N1为第一种物质,即镭同位素的初始(t=0)原子数;λ1、λ2为母体和子体物质的衰变常数(s-1);t为第二种物质,即氡同位素的积累时间。

考虑到镭同位素的衰变常数λ1=1.37×10-11,氡同位素222R的衰变常数为λ2=2.1×10-6,即λ1《λ2,因此上式可以简化为:

可见氡同位素是按指数规律积累的。

如果已知镭的质量CRa(以贝克(1)计),氡(222Rn)的积累量CRa,可用下式计算:

CRn=CRa[1-exp(-λRnt)] (15.3)

岩石中镭经过核衰变产生氡,但这些氡只有一部分可以析出到岩石的孔隙或裂隙中,并向周围逸散、迁移,这一部分氡称为自由氡,不能析出的氡称为束缚氡。在一定时间内,析出氡量(N1)与产生的氡总量(N2)之比,称为射气系数η=N1/N2×100%。射气系数大小与土壤、岩石的结构关系密切,松散、破碎、孔隙度大的岩石射气系数大,且受湿度、温度影响明显。地下水与岩石作用时,使氡溶于水,其溶解系数(ω)与温度、压力关系密切,在常温下ω为0.25~0.30,在0℃时约为0.51,温度升高到30℃时变为0.20。岩石受挤压,射气系数迅速增大,所以岩层裂隙射气浓度增大是地震的前兆。

自由氡在岩石和土壤中主要通过扩散和对流作用进行迁移。断裂和破碎带使地层由封闭变为开放状态,有利于氡的迁移和聚集,也使氡的子体在这里沉积,形成氡及其子体的分布异常,成为断裂、滑坡、地面塌陷、地裂缝以及地面沉降、地震、火山、煤田自燃等的标志异常。地面沉降(挤压)和扩张都会使射气系数增大。

测定断层含氡气的方法是一个应用比较广泛的方法。气体氡是放射性核素,既有气体的迁移特点,又具有方便现场测量的放射性特色,是极有前景的应用方法。

15.1.2 测量方法

放射性测量主要是测量放射性核素在核衰变过程中放出的α,β,γ射线,以及其作用于周围介质,引起的电离或激发所留下的痕迹。

α射线(或称α粒子)质量大,在气体中的径迹是一条直线,在穿过介质时使介质产生电离或激发,收集所产生的电离电荷就可以探测α射线,电离室、硫化锌闪烁体,以及常用的金硅面垒半导体探测器都是利用这个原理。氡及其子体都是主要的α辐射体,因此这些都是测氡的常规方法。α射线又是带正电的重粒子,而金属薄片的表面具有大量带负电的自由电子,所以α辐射体容易沉积在金属薄片的表面。1913年,卢瑟福就是利用这个方法收集氡及其子体,测量α射线,现在常用的α卡测量方法也是利用这个原理。如果设法使卡片带上负电性(或静电),可以更有效地收集α辐射体,这就是常用的带电α卡或静电α卡测氡方法。α粒子打到醋酸纤维胶片上或某些结晶物质表面,使其造成电离损伤的斑点或痕迹,氡浓度越大,单位面积上产生的斑点就越多,这就是α径迹测氡方法。天然放射性元素放出的α射线能量为4~8MeV(2),在温度T=15℃,气压P=101324.72Pa情况下,在空气中的最大射程为8.62cm,这决定了测氡电离室的大小。

β射线通过物质时主要产生三种作用:①产生电离和激发;②与原子核及核外电子作用,产生多次散射;③当被原子核库伦场阻止时伴生有电磁辐射,称为轫致辐射。对β射线的探测就是利用了这些作用原理。

γ射线通过物质时能量最强。当一个γ射线与原子壳层电子(主要是K或L层电子)碰撞时,将全部能量传给电子,使电子抛出原子之外,而γ光子全被吸收。这种光子消失产生电子的作用叫做光电效应。较高能量的γ光子与壳层电子作用时,将部分能量传给电子,使电子呈一定方向抛出,而光子由于碰撞损失能量改变了原来的运动方向,这种作用叫康普顿效应。当γ光子能量大于1.02MeV时,与物质原子作用产生电子对效应,即入射光子能量被全部吸收,而抛出正负电子对。这些作用一方面说明γ射线的基本特征,另一方面表明探测γ射线和γ射线能谱的基本原理。

铀系222Rn及其子体中218Po、214Po和210Po都是强α辐射体,占铀系α辐射体总能量的57.1%:214Pb和214Bi是强γ辐射体,占铀系γ辐射体总照射量率(3)的98%,是测氡各种方法的主要测量辐射体。测量α射线的方法有:瞬时测氡法、径迹蚀刻(SSNTD)法、α聚集器测量法、钋-210法、硅半导体α仪方法、液体闪烁测量方法等。α和γ兼用的有活性炭吸附器测量法和热释光测量方法等。

下面主要述及几种活断层探测的实用方法。

15.1.2.1 瞬时氡测量方法

瞬时氡测量方法,又叫传统氡测量方法,目的在于区别20世纪70年代发展起来的多种累积测氡方法。这是最早用于土壤氡测量的方法,不断发展至今仍是测氡的主要方法。它的特点是仪器轻便,现场测量并直接给出测量结果,有异常可以立即重复测量,并加密测点。

土壤氡测量可分为浅孔测量,取样孔深一般为0.8m;深孔测量,取样孔深2m左右;浅井测氡,取样孔深从几米到十几米。主要根据覆土层厚度和结构选择测量方式。对于厚度为十几米左右的覆土层,如果透气性较好,通常作浅孔测量,既可达到要求又比较方便。

目前常用的测量仪器,主要有FD-3017(RaA测氡仪),FD-3016和RM-1003等。无论使用哪种仪器,首先要检查仪器读数的稳定性,然后检查仪器的刻度,确定仪器的刻度系数JRn(Bq/L),以利于从仪器的读数,换算出每个测点的氡浓度(Bq/L)。对于小面积的构造调查,可以不要求刻度系数的准确性,利用仪器出厂给定的刻度系数即可。如果对断裂成因进行研究,观测氡浓度的变化,最好利用氡室对仪器进行刻度。

野外测量工作程序如下:

(1)根据地质推测断裂方向,并考虑地表环境有利于测量工作,进行测线布置和测点距的确定,例如西安地裂缝断距不大,一般采用2~5m点距,甚至更小;

(2)在测点上先用六棱钢钎打取气孔(浅孔测量打0.8m深),把取气器插入孔中,将周围压实避免大气渗入;

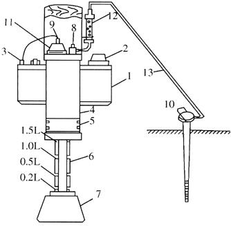
(3)注意取样器与仪器连接的橡皮管不宜过长,避免橡皮管对氡吸附过多。测量方式如图15-1所示;

图15-1 FD-3017 RaA测氡仪野外测量概况图

1-操作台;2-探测器;3-高压输出;4-抽气筒;5-活塞;6-导向空向滑杆;7-脚蹬;8-进气三通阀门;9-高压输入;10-取样器;11-收集片;12-干燥器;13-橡皮管

(4)抽气次数一般5~6次,每点保持一致;

(5)抽完气静置10~20秒,进行读数,然后立即进行排气,准备下一点测量;

(6)发现异常,可适当加密测点,或对部分测点重复检查;

(7)逐点计算氡浓度N=nJRn,JRn为刻度系数;

(8)用氡浓度N直接制作剖面图、等值图或平面剖面图,取两倍于背景值以上的值为异常值。

15.1.2.2 α聚集器测量方法

222Rn衰变的第一代子体218Po(RaA)为α辐射体,半衰期3.05m。设法将此α辐射体沉积在一个薄片上,再用α测量仪测量薄片上α粒子的活度。实验证明,α活度与土壤中222Rn浓度成正比。此薄片称为α聚集器,是地质构造探测的常用方法。由此原理出发,演化出的测量方法有多种,主要有如下四类。

(1)α卡测量方法

20世纪70年代,加拿大卡尔顿大学J.W.卡特等根据1913年卢瑟福用金属片收集氡子体的启示,研究成功了α卡测量方法。

该方法属累积测氡方法,探测灵敏度和探测深度都比瞬时测氡方法有很大提高,可达100~200m,或者更深,而且不污染仪器。使用的α卡有金属片(银片、铜片或铝片)和塑料片,卡片面积一般为3.8cm×4.5cm。测量仪器有FD-3005、FHS-1α闪烁辐射仪、WAY-80型五通道α辐射仪等。

将α卡片预先放置在专用的T-702型探杯内的支架上固定好,在根据需要布置的测线测点上,挖埋卡探坑,深20cm左右,将杯倒置坑中,上面用塑料布封盖,如图15-2所示。3小时后取出,用仪器测量卡片上沉积218Po的α射线活度。如果埋置时间延长到10小时或更长,则卡上沉积的还会有214Po等子体。根据测量的α活度,可以作剖面图,等值线图或平面剖面图。

图15-2 探坑埋杯示意图

在天然环境下,218Po大约有20%带正电性,为了提高探测效率,提出了带电α卡测量方法,即在埋卡同时给α卡加上负300V电压。使用一段时间之后,感到野外应用很不方便,于是进一步提出了静电α卡方法,即:聚乙烯类塑料片通过摩擦易带负电,在野外用一简单的充电设备,在埋片之前先使卡片带静电-600~-800V(每片电压基本一致)。实验证明带电α卡和带静电α卡相对于不带电的天然α卡,可以提高探测灵敏度2.5倍左右。

(2)α膜测量法

为了提高探测灵敏度,用比α卡大25倍的16cm×8cm的透明塑料膜代替α卡,放入特制探杯周围,埋入坑中,取出后反转放入RM-1003型射气仪的闪烁探测室进行α活度测量,它的计数比α卡提高约10倍。其他操作与α卡一致。

(3)α管测量方法

此法与α膜法类似,不同的是用一个专门的取样器,在倒扣探杯下方装一根约半米长、直径1.3cm、带小孔的深部取气导管,在测点打孔深70~80cm,后插入导管,累积取样10小时左右,取出后用RM-1003射气仪测量α活度。此法的特点是对较厚覆盖地区比较有利,缺点是效率较低。

(4)带电瞬时α测量法(亦称218Po法)

是用充电器使塑料α膜带静电-1000V,放入探杯,埋入坑中5~8分钟,取出测量(2分钟)α活度。由于收集时间短,只是测量218Po,工作效率较高。15.1.2.3 钋-210(210Po)测量法

美国海军部下属机构的格雷等人,于1978年报道了他们对210Po测量方法的研究成果,测量精度达3.7×10-3Bq。

222Rn衰变后的长寿命子体有三个,210Po是其中之一,半衰期为138.4天,不同于218Po的是210Po为氡的长时间累积体。210Po的量直接反应222Rn的平均值,它的特点是化学性质稳定,一旦形成,基本上不再离开岩层、裂隙、破碎带以及这些构造上方覆盖的土壤中。因此测量210Po的α射线活度,成为确定断层、裂隙和破碎带的重要方法。

(1)野外取样:按照预先布置测线测点,取土壤样品,深度一般为20~40em,取土样50g。

(2)样品处理:一般取土样4g(等重量)置于100ml烧杯中,加入0.5g抗坏血酸及一片直径16mm一面涂漆的紫铜片,再加入20ml、3mol/g盐酸溶液,放入恒温摇床振荡箱,保持60℃振荡2.5小时(或40℃振荡3小时),期间铜和钋发生置换反应,钋被吸附在铜片表面。然后取出铜片、清洗、晾干。

(3)α活度测量:用FD-3005或WAY-80型五通道α辐射仪测量铜片上的α活度,一般测量10分钟。有时为了消除218Po的干扰,需放置30分钟(218Po的10倍半衰期)后进行测量。用测得的α活度绘制出剖面图、等值线图或平面剖面图。在断裂带、破碎带、塌陷、采空区上方,与瞬时氡一样为高值异常。

15.1.2.4 径迹蚀刻测量方法

固体核径迹探测器(SSNTD)技术,是20世纪60年代初发展起来的。一片透明的云母片或塑料片,被带电粒子照射之后,化学键被打断,成为辐射损伤微区,易受化学侵蚀,在固体片的表面显出照射粒子的径迹,用一般光学显微镜可读出,由此成为粒子探测器。在地质工作中主要应用的是α粒子径迹探测器,探测氡及其子体放出的α粒子,与α聚集器方法类似,属于累积测氡方法。这一方法的优点是均化了自然环境的影响因素,有效地提高了探测灵敏度,对探测深层构造比较有利。

我国常用的α径迹探测器主要是聚碳酸脂片或美国引进的CR-39探测器。

径迹探测工作程序如下:

(1)根据构造延伸方向和方便野外工作布置测线和测点距。

(2)α径迹探测片切成一定形状的片子,一般大小取0.8cm×1.5em,将探测片固定在探杯(T-702)的支架上,并在径迹片和杯上编号。

(3)在测点挖埋杯探坑,一般深40cm,将探杯倒置坑中,如图15-2所示。用石片或塑料袋装土盖坑,再用覆土盖好,插上标志。埋杯时间20天左右。

(4)将取出的探测器放入10mol的KOH溶液中,加温到60℃左右并保持恒温半小时,取出后用清水冲洗、晾干(注意:CR-39与聚碳酸脂的化学蚀刻溶液条件不同,可按《环境空气中氡的标准测量方法GB/T14582-93》进行处理)。

(5)用一般光学显微镜,计数探测器上的径迹密度,或用径迹扫描仪进行密度计数。

(6)用径迹密度绘制剖面图、等值线图或平面剖面图。

α径迹与α卡方法类似,可以根据已有的设备情况选用。在覆盖土层比较厚的地区,例如几十米,甚至一百米以上的地区,用α径迹法探测基岩构造、活断层比较好,与瞬时测氡、α卡等方法一样,在这些构造上方为高值异常显示。该方法的缺点是工作程序多,不如α卡方便。

15.1.2.5 活性炭吸附器(ROAC)测氡法

20世纪60年代瑞典最早使用活性炭吸附氡方法寻找铀矿。活性炭微细孔隙丰富,有较高的比表面积,是氡的强吸附剂。以GH-18型(9mm2×0.2mm层状)活性炭对氡吸附容量最大,且对氡的吸附在很大容量范围内呈线性关系。其次是Φ3柱状活性炭。

吸附器的用法有两种:一种是连接在用抽气筒抽取土壤气的回路中,通过抽气过滤吸附氡,叫瞬时法。但主要用法是累积测氡,作为氡的捕集器。目前使用的是直径3cm左右的塑料瓶,先装炭层4~5cm厚,再装干燥剂硅胶置瓶口处,既去湿也能消除钍射气的影响。像α卡一样,将塑料瓶埋入测点探坑中,上盖一个罩杯,埋置时间4~7天为宜,取出后在铅室内进行γ射线测量。一般用多道γ谱仪,测量214Bi放出的γ射线的照射量率。

15.1.2.6 热释光(TLD)测量方法

热释光测量有三种方法:α热释光,γ热释光和天然土壤热释光。前两种都是利用对α射线或γ射线能量储存灵敏的人造结晶物质作为剂量探测器,累积测量α或γ射线。天然土壤热释光是以天然环境下土壤中存在的石英、方解石等结晶矿物为热释光探测器。因为接受照射时间长,探测灵敏度高,受干扰小,异常稳定。热释光与α径迹方法一样,属累积测量方法。

在地质工作中主要应用γ热释光。一般选用对γ射线能量响应较宽的氟化锂(LiF)热释光探测器。目前主要应用的是GR-200系列中的LiF(Mg,Cu,P)(氟化锂镁铜磷)热释光探测器,它对γ射线的能量响应范围为30Kev~3Mev,其相对误差<20%,重复使用退火温度控制在240±2℃(不得超过245℃),并保持恒温10分钟。

探测元件要放在α径迹使用的T-702型探杯支架上(其他杯亦可),挖探坑深40cm,装好元件的探杯倒扣埋入坑中,一般放置30天左右。取出后用RGD-3型、FJ-369型或其他热释光剂量仪进行热释光测量,计算γ热释光强度(TL),用以制作剖面图等。

15.1.3 仪器设备

氡气法仪器设备见表15-2。

表15-2 氡气测量仪器一览表

【参考文献】:

A.H.苏尔坦霍贾耶夫等着,蔡祖煌,石慧馨译.1983.放射性气体在研究地质过程中的应用,北京:地震出版社

陈善.1986.重力勘探,北京:地质出版社

高清武.1991.用放射性气体测量方法研究活断层,断层气测量在地震科学中的应用,北京:地震出版社

韩许恒,郁春霞.1996.氡气探测在采空区勘查中的应用,工程勘查

韩许恒,郁春霞.1997.氡气测量在西安地裂缝勘查中的应用研究,工程地质学报

金培杰,唐玉立.1992.静电α卡法在探测滑坡地下水中的应用,中国地质灾害与防治学报

刘广才,刘金和.1991.探测隐伏断裂及其赋存地下水的α热释光法,物化探译丛

刘正林.1994.钋-210法探测煤矿地质构造的实例与效果,物探与化探

王谦身,张赤军等.1995.微重力测量——理论、方法与应用,北京:科学出版社

吴慧山.1998.氡测量方法与应用,北京:原子能出版社

远山忠昭1984.重新探讨调查活断层的γ射线测量方法,[J].地震(日文),第2辑,37卷,539~547

随便看

 

离鸟网收录3541549条中英文词条,其功能与新华字典、现代汉语词典、牛津高阶英汉词典等各类中英文词典类似,基本涵盖了全部常用中英文字词句的读音、释义及用法,是语言学习和写作的有利工具。

 

Copyright © 2004-2024 vtrois.com All Rights Reserved
更新时间:2026/4/21 19:28:21