网站首页  词典首页


请输入您要查询的字词:

 

字词 气稳等离子喷涂设备
类别 中英文字词句释义及详细解析
释义

气稳等离子喷涂设备


5.5.2.1 设备组成

如图5-25所示,设备由整流电源、高频振荡器(引弧装置)、控制柜、送粉器、喷枪、冷却水供给装置(增压水泵及热交换器)及气瓶等部分组成,辅助设备包括喷涂柜、通风除尘装置、带动喷枪及工件运行的机械装置等,喷涂设备应置于有隔音效果的喷涂室内,喷涂室内还应有供给压缩空气的管道,在喷涂操作时作冷却气体及向防护头盔供给新鲜空气.

图5-25 气稳等离子喷涂设备的组成

1—整流电源;2—高频振荡器;3—控制柜;4—送粉器;5—喷枪;6—增压水泵及热交换器

5.5.2.2 整流电源

喷涂用的整流电源是向喷枪提供电能的装置,其外特性、动特性及供电参数都应满足喷枪产生等离子弧的要求,目前采用的整流电源类型,仍主要是磁放大器硅整流电源及可控硅整流电源,电源的性能要求及主要技术参数列于表5-10.

表5-10 等离子喷涂电源的性能要求及主要技术参数

等离子喷涂一般采用一台电源,为了适应大功率喷涂(喷枪功率≥80kW),可以采用两台同样规格型号的电源并联运行,

由于电源输出电流大,与喷枪在电路上连接时,不通过接触器而直接接触,向喷枪供电的通断是通过整流电源变压器原边交流接触器来控制.

5.5.2.3 控制柜

控制柜集中安装电气控制系统和气路控制系统,实现对整个喷涂过程的动作程序和工艺参数的控制及调节,并在面板上显示工作状态.

气路控制系统的原理如图5-26所示,向喷枪供给工作气体的流量控制与调节,一般采用浮子流量计,通过调节阀调节流量;也有采用板孔式流量计,通过调节板孔两端的压差来调节流量.

图5-26 气路控制系统原理

1—电磁气阀;2—储气包;3—流量调节阀;4—浮子流量计;5—混气包;6—离子气;7—送粉器

电气控制系统一般包括:工艺动作程序控制电路、送粉器及其他执行机构的调速电路、整流电源电流调节器的控制电路、信号显示电路等.

工艺动作程序控制电路,是将各输入的条件信号(包括操作的开关信号、工作状态检测信号、输出反馈信号等),经过逻辑组合(编程),输出控制信号来控制执行机构(电气元件、电路单元等),使其按工艺要求的顺序动作,并具有在不正常的工作状态时自行停止动作的保护功能,下面为目前采用的程序控制电路的类型.

(1)固定程序继电器控制电路 通过继电器接点的串并联来实现程序控制,由于可靠性差,程序固定,已逐步被淘汰.

(2)矩阵式顺序控制器 采用基本逻辑式控制器,核心部分是二级管矩阵板,通过在矩阵板上安插二级管实现逻辑组合,由于简单、经济、制造方便,目前正在应用,但改变程序不方便,不适于复杂的控制程序.

(3)可编程序控制器 又称PC机,是采用微电脑的可编程序的逻辑控制器,它是继计算机应用于工业控制后迅速发展起来的一种小型控制装置,由于编程采用继电器电路的梯形图,指令简单,容易掌握,编程方便,尤其是检查和修改程序很简便,而且工作可靠,抗干扰能力强,适应于复杂程序的编程,现在已开始在设备上应用,采用PC机的控制电路原理如图5-27所示.

图5-27 采用PC机等离子喷涂控制电路

XD1~XD11—信号指示灯;DF1~DF4—电磁气阀;1JD—交流接触器;1TL—电流调节器;1TS~5TS—可控硅调速电路;SY—水压开关;QY—气压开关;K—转换开关;AQ—启动按钮;AT—停止按钮;AJ—急停按钮

(4)计算机控制系统 采用微型计算机可对整个喷涂系统的动作程序、工艺参数自动控制和将数据存储,并在荧光屏上显示工作状态和工艺参数,该系统工艺控制精度高,是最先进的控制系统.

在设计工艺动作程序电路(编程或编写逻辑组合式)时,依据工艺动作程序图,对于一般等离子喷涂,工艺动作程序如图5-28所示.

图5-28 等离子喷涂工艺动作程序

5.5.2.4 送粉器

送粉器是贮放和向喷枪定量供给粉末的装置,基本要求是:供粉均匀,启闭灵敏,密封性好,能在较宽的范围内连续、定量地调节送粉量,送粉器结构形式较多,目前常用的是刮板式送粉器和带有小孔的转盘气吹式送粉器,前者适用于固态流动性好的粉末,后者可用于固态流动性差的粉末和微细粉末.

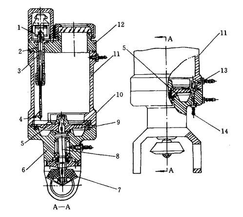
B5锤击式送粉器是国内常用的转盘气吹式送粉器,结构原理如图5-29所示.

图5-29 B5送粉器结构原理

1—电磁铁;2—同步振动器芯轴;3—复位弹簧;4—同步振动器压粉板;5—送粉孔盘;6—底座;7—锥齿轮;8—主轴;9—下密封垫;10—上密封垫;11—贮粉筒筒体;12—贮粉筒盖板;13—进气销;14—出粉口

5.5.2.5 供水装置

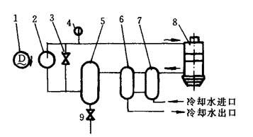
供水装置是向喷枪供给一定压力和足够流量的冷却水的装置,为了使喷枪有良好的冷却效果,最好采用蒸馏水循环使用.因此,供水装置包括增压水泵和热交换器,供水装置的技术要求列于表5-11,供水系统原理如图5-30所示.

图5-30 供水系统原理图

1—电机;2—增压水泵;3—调节阀;4—压力表;5—贮水箱;6—热交换器Ⅰ;7—热交换器Ⅱ;8—喷枪;9—放水阀

表5-11 等离子喷涂供水装置技术要求

5.5.2.6 喷枪

喷枪是等离子弧发生器,旨在产生高焓、高速等离子射流和将喷涂粉末流畅地送入射流中,喷涂工艺参数的优化选择及喷涂过程的稳定性,在很大程度上取决于喷枪的性能,喷枪汇集水、电、气、粉,功率大、质量轻,且结构较复杂,喷枪关键在于喷嘴、电极和水路、气路的设计.

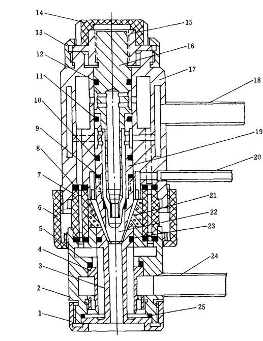
(1)喷枪结构 喷枪的总体结构,从绝缘体所处正、负电极间的位置,分为前后绝缘结构和内外绝缘结构,前后绝缘结构是由前枪体、后枪体及中间绝缘体三大部分组成;前枪体固定喷嘴,后枪体固定电极,图5-31中所示的大功率喷枪为这种结构形式,内部绝缘结构是由枪体、中间绝缘套及电极杆三大部分组成;枪体前端固定喷嘴,电极杆前端固定电极,大功率喷枪结构如图5-32所示.

图5-31 前后绝缘式等离子喷枪结构

1—盖帽;2—下枪体;3—喷嘴;4—挡水环;5、9、10、11、12、23、25—“O”形密封圈;6—联接螺帽;7—绝缘环;8—密封圈;13—锁紧螺帽;14—盖帽;15—调节螺母;16—电极杆Ⅰ;17—上枪体;18—水管;19—电极杆Ⅱ;20—气管;21—隔热环;22—电极头;24—水管

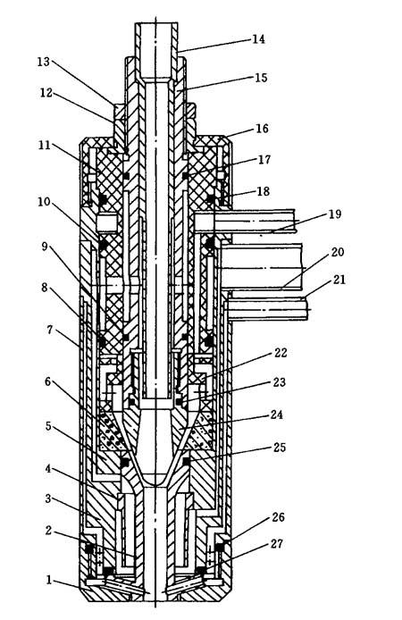
图5-32 内外绝缘式等离子喷枪结构

1—盖帽;2—喷嘴;3、5、7—外枪体;4—挡水环;6—隔热环;8、9、10、17、18、23、25、26、27—“O”形密封圈;11—绝缘套;12—调节螺母;13—并紧螺母;14—电极杆Ⅰ;15—电极杆Ⅱ;16—锁紧压盖;19—气管;20—水管;21—气(粉)管;22—分气环;24—电极头

对于电极前后位置调整,在喷枪结构上可设计成可调式或固定式;在送粉位置上,可设计成枪内送粉或枪外送粉.

无论采用什么样的结构形式,在设计和制造上都要保证喷嘴和电极的同心度,绝缘强度和对水、气的密封性,对喷枪使用性能十分重要.

(2)喷嘴 喷嘴是喷枪的关键部件,也是易损件,喷嘴材料用紫铜,喷嘴的设计在于确定压缩孔道参数和几何形状,喷嘴几何形状的设计重点是围绕提高喷枪功率、解决喷嘴烧损问题,以及强制冷却所采用的措施.

喷嘴压缩孔道参数影响对电弧的压缩性和电弧的稳定性,一般采用的参数列于表5-12.

表5-12 等离子喷涂枪喷嘴压缩孔道参数

对喷嘴的冷却是对流换热过程,即通过冷却水的流动,使流体和喷嘴壁面之间产生热量传递,根据对流换热原理,要提高对流换热量,就要增加换热面积,降低流体的平均温度和提高对流换热系数,为此喷嘴在水冷结构上所采取的措施如图5-33所示,图中3种几何形状的结构以(c)冷却效果最佳.

在喷嘴前端钻送粉孔,即内送粉喷嘴,如不钻孔即为外送粉喷嘴,内送粉喷嘴一般钻三孔对称分布,粉孔中心线离端面距离一般在5mm左右.

图5-33 喷涂枪喷嘴水冷结构

(a)环形;(b)孔形;(c)槽形

(3)电极 电极(阴极)由于热电子发射和承受很大能量的正离子轰击,使电极端部温度高达24000K,在较小面积上流过近千安的电流,局部热负荷相当高,尽管电极由高熔点钨-铈或钨-钍材料制成,也很难避免烧损,电极一旦烧损就会断断续续喷射出熔化了的钨粒子,直至烧秃,破坏原设计的几何形状,造成电弧不稳和偏向喷嘴一侧,加速喷嘴烧损,同时钨粒子也污染了涂层.

提高电极承受热负荷能力,主要措施仍是加强冷却水对钨极端部的对流换热效果,同时电极杆应对钨有良好的传热效果,除增大钨极的换热面积外,电极头端部离水冷壁(对流横热面)的距离要短,对大功率喷枪可缩短到10mm左右,电极的头部结构如图5-34所示

图5-34 电极的头部结构

(4)气流结构 工作气体(离子气)在喷枪内流动状态称为气流结构,它主要取决于进气方式和气室结构,进气方式指气流进入喷嘴压缩锥面和电极锥面之间的狭小间隙,进而流向压缩孔道的路径,气室指工作气进入喷枪后,在进入狭小间隙前的空腔.

进气方式主要分切向旋流进气和径向直流进气两种,对于等离子喷涂来说,为了加强对等离子弧的压缩,并为获得电弧阴极斑点沿孔道壁面旋转的效果,大都采用旋流进气,为了造成强烈的旋涡,采取加装陶瓷导流环,环上有切向分布的导气孔,当工作气通过导气孔时形成旋流,为了获得强烈的旋流进气效果,气室不宜过长.

随便看

 

离鸟网收录3541549条中英文词条,其功能与新华字典、现代汉语词典、牛津高阶英汉词典等各类中英文词典类似,基本涵盖了全部常用中英文字词句的读音、释义及用法,是语言学习和写作的有利工具。

 

Copyright © 2004-2024 vtrois.com All Rights Reserved
更新时间:2026/4/20 8:06:55