网站首页  词典首页


请输入您要查询的字词:

 

字词 概述
类别 中英文字词句释义及详细解析
释义

概述


在工业项目投资决策中,我们把经济上和技术上相互关联的众多项目称作项目群。在现实经济生活中,一个企业在某一时期所面临的也许只是某一个项目的决策问题,但是随着决策层次由企业上升到行业、部门、地区和参预投资开发的银行系统,就会面临大批项目的筛选、组合和投建次序的决定这类与项目群有关的决策问题。在我国现实的商品经济条件下,除了要由企业一类的经济实体进行大量的单个项目评价外,高层次的决策部门还应在此基础上作好项目群的选择评价工作。

项目群的最主要特征是项目之间在技术上和经济上存在着复杂的相关关系。相关关系的表现形式及产生相关性的原因是多种多样的。例如,由于资金、能源和原材料的可用量有限,致使选择某些项目方案就不得不放弃另外一些方案;由于项目之间在生产运行上具有关联性,在项目选择阶段无法独立确定各项目的投入量与产出量;由于项目产品之间具有互补性或替代性,从而使各项目产品的市场需求量之间有相关性;由于项目之间在技术上具有匹配性要求,从而造成项目选择的依存性,等等。

根据对相关方案评价方法的讨论,对于具有复杂相关关系的项目方案,不能按独立方案或完全互斥方案的评价方法处理。实际上,在项目众多且多种相关关系并存的情况下,也不能象处理少数现金流量相关或因资金限制相关的项目方案那样,简单地采用“互斥方案组合法”,一一列出可供选择的互斥组合方案,逐一进行计算比较。其原因在于:一方面,由各个方案组成的组合方案的数目与方案个数成指数关系,若有n个方案,可能的组合方案就有2n-1个。如果n=20,则组合方案总数将达220-1=1048575个。用常规的互斥方案组合法评价这20个方案就要穷举100多万个组合方案,并逐一进行筛选、计算、比较。显然,当项目众多时,常规的互斥方案组合法在实践上会因工作量过大而难以使用;另一方面,当项目之间在生产运行上具有关联性或项目产品市场需求量之间具有相关性时,由于生产状态和市场状态的连续性,实际上会有无穷多个方案组合,使互斥方案组合法无法使用。因此,需要采用方便有效的优化技术对项目群进行评价与选择。项目群优化评价与选择技术,是根据项目群的技术经济特点和决策需要,将有待决策的问题构造成数学模型,利用电子计算机进行方案组合和优化选择并给出最优方案,经济分析人员和决策人员可在此基础上进行分析与决策。

由于项目群在空间上和时间上都比单个项目有了扩展和延伸,项目之间的相关性又进一步造成了决策的复杂性,因此有必要先就项目群及其优化选择技术的一些基本概念作一简要叙述。

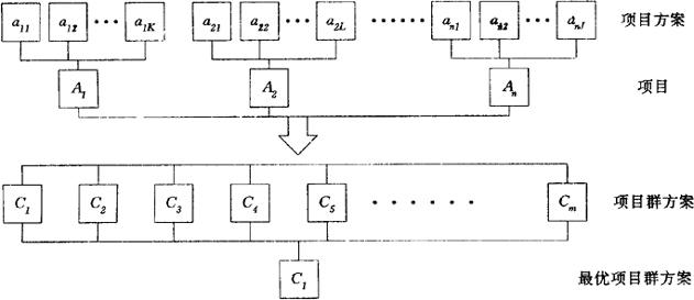
1.项目、项目方案和项目群方案

项目,一般指工程项目,它是一个独立的投资单元。习惯上称已经投产和投入服务的项目为已建项目;称正在建设的项目为在建项目;称准备进行论证的项目为备选项目。显然,我们所关心的主要是备选项目,这是项目群选择评价的主要对象。

对于一个具体的投资项目来说,可供选择的技术方案可能不止一个,比如一个地址已定的水电站项目有高坝方案(H)和低坝方案(L)之分;一个生产平板玻璃的项目有浮法生产方案(F)和垂直引上方案(V)之分。一个项目所具有的各种不同方案均称作项目方案。项目方案的最本质特征是其互斥性,即在同一项目的各个方案中至多可以选择其中一个方案。方案互斥是多个方案之间进行比较的基本形态,不论这种互斥性是客观存在的,还是由决策的主观需要决定的,任何方案之间的比较都只能在方案互斥的基础上进行。

项目群包含两个或两个以上的项目。为了能对项目群中的项目方案作出评价选择,须将各项目方案组合成可供选择的各种互斥方案,这些方案称为项目群方案。例如,某投资公司拟对前面例举的水电站项目和平板玻璃项目投资,项目群方案就包括H、L、F、V、HV、HF、LF、LV等8个互斥方案,所谓的项目群选择评价就是在这些互斥方案之间进行。

项目、项目方案与项目群方案之间的关系如图3.1-1所示。

图3.1-1 项目、项目方案与项目群方案的关系

2.评价的目的及用途

项目群的选择评价,其根本着眼点是从经济效果角度进行资源的最优配置,即把有限的资金、物力和人力资源配置到经济效果最好的项目上去,最大限度地提高资源的利用效率。具体些讲,我们采用项目群优化选择技术,通常用于解决下述问题:

(1)当多个项目竞争使用同一资源且资源有限的情况下,如何对资源进行最优配置即保证所选项目的经济效果最优?

(2)在满足同一需求或同一服务要求的前提下,如何保证服务于同一目的项目的最优选择?

(3)当某一项目的寿命终结于计算期内时,如何在可供选择的各种接续方案中进行最优选择?

(4)备选项目之间及备选项目与已建、在建项目间在生产运营上是如何相互影响的?最佳运营状态是怎样的?它们对项目选择具有怎样的影响?

简而言之,项目群优化选择的目标是使所选项目在整体上最为经济,所要回答的是下列问题:

(1)何时何地上何项目;

(2)各项目的动态运营状况。

根据项目方案技术经济数据的完备性和精确性水平,项目群的优化选择技术可用于项目初选和最后决策之间的任一阶段。当所有项目的数据质量都达到了项目可行性研究所要求的水平时,可以将项目群优化选择的结论作为决策的重要依据。当近期拟建项目的数据质量较高而远期项目的数据质量较差时,项目群的优选结论可作为近期项目决策的重要依据,并对远期发展规划有参考价值。当项目众多且其技术经济数据仅是粗略的估算值,精确度较差时,项目群评价在于筛选掉没有进一步研究价值的项目,而只保留下有发展前途的项目,形成与总体发展规划相联系的有价值的备选项目库,以便集中人力物力对保留项目逐个进行深入研究,在这种情况下,项目群优选结论不是作为项目决策的最终依据,而是作为各个项目详细论证前的前期选项工作的参考。这是项目群评价可以广泛应用的一个领域,体现了项目群评价与单个项目评价的有机联系。

当我们明确了决策的目标与条件,掌握了各个项目方案的有关数据以及各项目之间相互制约、相互依存的关系之后,就可以着手构造项目群优化选择的数学模型,再通过上计算机运算和对运算结果的分析,就可以得到项目群优选结论。图3.1-2给出了项目群优化选择的流程图。下面,我们讨论项目群优化选择数学模型的构造。

图3.1-2 项目群优化选择流程图

随便看

 

离鸟网收录3541549条中英文词条,其功能与新华字典、现代汉语词典、牛津高阶英汉词典等各类中英文词典类似,基本涵盖了全部常用中英文字词句的读音、释义及用法,是语言学习和写作的有利工具。

 

Copyright © 2004-2024 vtrois.com All Rights Reserved
更新时间:2026/4/20 18:20:44