网站首页  词典首页


请输入您要查询的字词:

 

字词 概述
类别 中英文字词句释义及详细解析
释义

概述


烘焙设备也称为烤炉。按使用热源不同,烤炉可分为煤炉、煤气炉和电炉等;按结构型式不同,烤炉分为箱式炉和隧道炉。

(一)箱式炉

箱式炉外形如箱体。按食品在炉内的运动形式不同,分为烤盘固定式箱式炉、风车炉和旋转炉等,见图3-1-12所示。

图3-1-12 几种典型的箱式烤炉

(a)箱式烤炉外形 (b)风车炉结构

1-转篮 2-转轴 3-焦炭燃烧室 4-空气门 5-炉内壁 6-保温层 7-炉外壁 8-炉门 9-烟道 10-烟筒 11-挡板 12-排气罩 13-炉顶 14-底脚 15-燃烧室底脚

(c)水平旋转炉结构示意图

1-炉门 2-加热元件 3-烤盘 4-回转支架 5-传动装置 6-保温层

(d)ZDTM25-50旋转式热风循环焙烤箱

1-防偏件 2-热风调节器 3-控制箱 4-排风手柄 5-吊钩 6-排风口 7-吊钩限位装置 8-截止阀 9-电磁阀 10-电机 11-皮带张紧器 12-风机轴承座 13-电器箱 14-电机 15-蜗杆减速器 16-电器门 17-吊钩轴承座 18-加热装置 19-关门手柄 20-烤室门

烤盘固定式箱式炉炉膛内安装有若干层支架,用以支撑烤盘,电热元件与烤盘相间布置。隔层式烤炉将各层烤室隔开,彼此独立,每层烤炉的底火与面火分别自动控制,可实现多种制品同时进行烘焙。在烘焙过程中,烤盘内的食品与电热元件间没有相对运动。

烤盘固定式箱式炉的特点是:体积小,使用灵活,烘焙范围大,但其内温度、湿度分布不均匀,影响烘焙质量,且生产能力小,适合于中小型食品厂使用。

风车炉主要由炉体、转盘吊篮、燃烧室及传动系统等部分组成。这种烤炉多采用无烟煤、焦炭、煤气等为燃料,其特点是热效率高,产品质量高,尤其适用于烘焙面包,但手工装卸食品,劳动强度大。

水平旋转炉内有一水平布置的回转烤盘支架,摆有生坯的烤盘放在回转支架上,烘焙时,食品在炉内回转,使得制品烘焙均匀。旋转式热风循环烤箱,烤室顶部装有吊钩,用于悬挂烤车,下部有防偏件,以固定烤车(见图3-1-13)。烤箱分为加热器和烤室两部分,加热器上方设置有风机,以强制气流循环。在热风的出口设置有风量调节器和加湿装置。加湿装置由时间继电器控制电磁阀来控制进入蒸发器的水量。通过调节风量,可保证食品的色泽和成熟度一致。烘焙时,在吊钩的传动下,烤车缓慢旋转,加之强制循环的热风,使食品各部分均匀受热,有效地保证了食品的烘焙质量。

图3-1-13 烤车固定示意图

1-吊钩 2-烤车 3-推车把手 4-防偏件

(二)隧道炉

隧道炉炉体很长,为60~100m,烤室为一狭长的隧道,食品在沿隧道做直线运动的过程中完成烘焙。根据传动方式不同,隧道炉分为链条隧道炉、钢带隧道炉和网带隧道炉。链条隧道炉生产能力大,产品质量好,能适应多种产品生产,但设备利用烘盘作载体,要求配备大量的烘盘,且进炉和出炉操作比较麻烦。钢带和网带炉易与食品成形机械配套组成连续的生产线。钢带强度大,热损失小,运转过程中会产生弹性振动,跑偏现象较网带大;网带网眼空隙大,在烘焙过程中制品底部水分容易蒸发,不会产生油滩和凹底,运转过程中不易产生打滑、跑偏现象,缺点是不易清理,网带上的污垢易粘在食品底部。

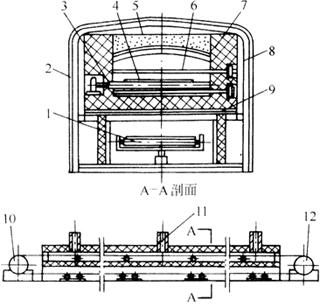
隧道炉主要由炉体部分、加热系统和传动系统三部分组成(见图3-1-14)。各种隧道炉的炉体部分和加热系统基本相同,而传动系统差异较大。

图3-1-14 隧道炉结构示意图

1-下托辊或调偏机构 2-炉体外罩 3-上托辊装置 4-炉带 5-炉顶 6-电加热管 7-炉墙 8-炉体机架 9-石棉保温板 10-驱动滚筒 11-排汽管 12-改向滚筒

1.炉体

炉体的结构有3种形式:砖砌炉体、金属构件炉体和预制构件炉体。表3-1-3所列为3种炉体结构的特点。

表3-1-3 隧道炉结构形式和特点

2.加热系统

隧道炉的热源可采用电或煤气,以远红外电加热居多。食品烤炉常用的远红外电热元件有管状辐射元件和板状辐射元件,管状辐射元件有远红外金属管、碳化硅管等;板状辐射元件多采用碳化硅板。图3-1-15所示为几种辐射元件结构。表3-1-4为几种辐射元件对食品烘焙的对比。

图3-1-15食品烤炉常用辐射元件结构

(a)金属氧化镁远红外辐射管结构

1-接线装置 2-导电杆 3-紧固装置 4-金属管 5-电热丝 6-氧化镁粉 7-辐射管表面涂层

(b)碳化硅管远红外辐射元件结构

1-普通陶瓷管 2-碳化硅管 3-电阻丝 4-接线装置 5-辐射涂层

(c)碳化硅板式辐射元件

1-远红外辐射层 2-碳化硅板 3-电阻丝压板 4-保温材料 5-安装螺栓 6-电阻丝 7-接线装置 8-外壳

表3-1-4 几种辐射元件对食品烘焙对比表

3.传动系统

链条隧道炉传动系统包括调速电机、减速器、链条、链轮等,通常由2条或4条平行的输送链条构成。钢带炉和网带炉的传动系统由钢带(或网带)、传动辊、张紧机构、托辊及自动纠偏机构组成。

随便看

 

离鸟网收录3541549条中英文词条,其功能与新华字典、现代汉语词典、牛津高阶英汉词典等各类中英文词典类似,基本涵盖了全部常用中英文字词句的读音、释义及用法,是语言学习和写作的有利工具。

 

Copyright © 2004-2024 vtrois.com All Rights Reserved
更新时间:2026/4/21 9:15:22