检查的内容包括:牛腿、门口、预埋件等。
牛腿 为了安装电梯候梯厅的门槛,建筑物地面向井道内侧延伸突出的部分,如图3.7-1所示。检查牛腿能否允许层门地坎的安装以及安装后能否保证层门地坎到门口样线的基本尺寸是否符合图纸要求。

图3.7-1 门口样板检查示意
门口宽度、高度 井道厅门口预留的宽度和高度要大于门的真实宽度和高度50mm以上。
按照放置好的样板线,按照图纸检查所有层门的宽度、高度,门口线、导轨距离,底坑深度、顶层高度;对于发现不符合的土建尺寸,应该马上联系甲方,尽快解决。
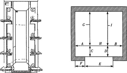
为了保证施工的准确性,最后还要如图3.7-2所示,使用门口两条地坎样线来检查每层井道的各项尺寸,保证样线和井道在施工标准之内。建议在测量的同时,填写样线测量表(表3.7-1)来记录测量的结果。
表3.7-1 样线测量表


图3.7-2 放线检查示意(测量)
按照图3.7-3所示,测量井道高度各项尺寸。

图3.7-3 井道高度尺寸测量