网站首页  词典首页


请输入您要查询的字词:

 

字词 果蔬饮料加工装备
类别 中英文字词句释义及详细解析
释义

果蔬饮料加工装备


1 概述

果蔬饮料加工装备用于以水果、蔬菜和浓缩果汁等为原料进行果蔬饮料的生产。选择不同的原料品种、采用不同的加工方法和设备可加工出不同的果蔬饮料。本节主要介绍果肉果蔬汁饮料、果粒果汁饮料和果汁(清凉)饮料的加工方法和设备。

果肉果蔬汁饮料的原料处理设备主要是在70~80年代用于加工果酱设备的基础上加以改进发展起来的,调配后的设备是在果汁饮料和乳品加工设备的基础上加以发展的。到目前为止,中、小型加工装备(年产5000t以下)基本可以配套,但与国外相比还存在着很大的差距。主要表现在配套性和个别单机如连续式预煮器、杀菌设备、灌装设备等自动控制水平和生产能力以及半成品贮藏等方面。

果粒果汁饮料在国际市场上问世不久,日本在70年代末期开始研制粒粒橙汁,并马上投放市场。我国在80年代末期开始生产粒粒橙汁,经过几年的发展,加工工艺和设备均已基本成熟。除粒粒橙汁外,还有粒粒菠萝、粒粒马碲和粒粒胡萝卜汁等。生产能力在1000kg/h左右。从原料处理到产品分装均可配套,并形成连续化生产线作业,基本可以满足国内生产的需要。

果汁(清凉)饮料受消费习惯、消费水平和原料品质等影响,在我国发展比较缓慢。国产浓缩果汁由于加工过程中芳香损失严重影响产品质量,人们在饮用果汁饮料时总觉得没有碳酸饮料实惠、解渴,又没有果肉果蔬汁饮料和果粒果汁饮料货真价实。近年来,随着人们生活水平的提高,果汁饮料的消费呈上升的趋势,其加工装备除大型生产线中的个别单机(如灌装机)外,中、小型设备可以配套。果汁(清凉)饮料的发展趋势是100%纯果汁,包装形式是聚脂(PET)瓶和无菌包装。

2 加工工艺

果肉果蔬汁饮料、果粒果汁饮料和果汁(清凉)饮料加工工艺差别较大,现分别加以介绍。

2.1 果肉果蔬汁饮料加工工艺

果肉果蔬汁饮料可由单一原料制成,如带肉桃汁、带肉草莓汁和番茄汁等,也可由多种原料制成复合汁如山楂果茶(含胡萝卜)、复合蔬菜汁等。其加工工艺流程可概括如图1-17-22。对于不同原料品种,前处理工艺略有区别,有些品种可省去某些加工过程。对于复合汁饮料,可对不同原料分别进行加工,按工艺配方进行混合调配。加工出的原浆(Nectar)可以贮存起来,以备果蔬淡季或非果蔬产地进行分装。

图1-17-22 果肉果蔬汁饮料工艺流程

2.1.1 挑选 挑选的目的是为去除霉烂变质的原料。有些原料要求较高,如胡萝卜要求红色完全成熟。山楂要求红色或粉红色,不带青色。原料挑选一般在输送带上由两侧人员手工操作。

2.1.2 清洗 清洗是为洗净果蔬上粘有的泥土和可能残存的农药等杂质。不同的果蔬品种,清洗方式不同,一般采用水沸式或滚筒式清洗机。在众多果蔬品种中,桃是最难清洗的水果之一,除一般清洗外,还要进行刷洗。刷洗采用滚刷式刷洗机。

2.1.3 去皮 有些果蔬在加工过程中不需打浆,经破碎后直接进入胶体磨细化即可,如胡萝卜等,但要先进行去皮处理。去皮可采用化学方法,用2%NaOH溶液浸泡,浸泡时间视溶液的浓度和胡萝卜的品种及成熟度而定。胡萝卜去皮后切除顶部青头和黑斑,一般为人工操作。还有些蔬菜如莴苣和瓜类,可采用人工去皮。

2.1.4 淋洗 淋洗作为最后一道清洗工序用于洗去去皮或刷洗后滞留在果蔬表面上的杂质。一般是在输送带或升运器上加喷淋水管或人工用流动水进行冲洗。

2.1.5 去核 去核特指桃、杏、李子等水果而言,其他水果可在打浆过程中将果核去掉。去核的目的是防止在破碎和打浆过程中将果核的硬尖带入到果肉浆中并减少果肉的损失。去核采用的设备为对辊式去核机或网眼较大的单道打浆机。有些水果如芒果有专用去核打浆机。

2.1.6 破碎 大部分水果在预煮前都要进行破碎,以增加预煮效果并减少预煮时间,有利于打浆。对于体积较大的根、块、茎类蔬菜,破碎前可适当切分成块、条、片等形状。根据加工对象,可采用齿式或锤片破碎机进行破碎,破碎粒度没有严格要求,视预煮效果而定,有些水果如山楂等,体积较小,可不破碎直接进行整果预煮。

破碎后要立即进行预煮,以防氧化产生褐变,特别是对于易氧化的水果如苹果、梨等,在破碎时要加适量的抗坏血酸溶液加以保护。

2.1.7 预煮(软化) 预煮的目的主要是防止氧化发生褐变,并使果蔬软化,便于打浆和提高出浆率。预煮一般采用连续式预煮器或夹层锅。在预煮过程中防止蒸汽与果蔬直接接触。预煮的温度和时间根据不同果蔬品种和成熟度来确定,对于山楂来说,以95℃左右的温度预煮15min,均匀受热至果肉变软为止。

2.1.8 打浆(榨汁) 打浆是果肉果蔬汁加工的重要操作过程之一。其作用是将果蔬从块状变成浆状,同时去除种子、粗纤维和皮渣等杂质。打浆根据原料品种和生产规模,可采用单道打浆机、双道打浆机和三道打浆机,最后一道打浆机筛网孔径一般为0.5~0.6mm左右。在打浆过程中要防止将种子打碎,因此有些果蔬如番茄,在打浆之前要先去籽,番茄去籽用番茄去籽机。

在打浆过程中可适量加入饮料用水,以利打浆并使果肉浆的稠度和温度降低、便于输送和保持原果蔬的风味。对于要保存的原浆,则应尽量控制加水量,果肉浆浓缩比较困难。

有些果蔬打浆比较困难,在生产复合汁需添加时,可采用榨汁的办法取汁。榨汁可采用螺旋榨汁机或液压式榨汁机等。

2.1.9 细化 细化的作用是将打浆后的果肉浆的粒度进一步微化、均匀。使用的设备多为胶体磨或超微磨。细化后的果肉浆粒度可达2~5μm。细化的另一个作用是可以减轻高压均质的负担,因胶体磨本身具有均质的效果。

细化可在调配前进行,也可在调配后进行。对于不进行打浆直接进行胶磨的原料,细化必须排在调配之前。否则粒度太大影响调配操作。

2.1.10 调配 经打浆和细化的果肉浆原料(可以是单一品种,也可以是多品种)、糖水溶液和其他辅料按工艺配方和先后顺序加入到带搅拌和保温的调配罐中用经过处理的饮料用水进行调配,用量较大的原辅料可用计量泵控制进料量,有些辅料需先用饮料用水进行溶解后再添加。调配罐应能控制温度以保证后续脱气效果,一般采用冷热缸。在调配过程中,搅拌和加热同时进行,搅拌时间不易过长,视调配罐容积、搅拌器和原辅料情况而定,以搅拌均匀为度。调配后物料温度一般为50~55℃。

有关水处理和溶糖的操作参见本章第1节。这里要说明的是在生产果肉果蔬汁饮料时,对水处理的要求某些方面没有生产碳酸饮料那么严格,因后续还有脱气和杀菌的工艺操作。

2.1.11 脱气 脱气主要是去除物料中的氧气,一般采用真空脱气器。脱气真空度为0.082~0.095MPa,物料温度一般为50℃左右。

有关脱气的其它内容参见本章第2节。

2.1.12 均质 均质的作用是将物料中残存的果蔬微粒进一步破碎,形成液相均匀的混合物,防止成品沉淀和分层并提高口感,均质使用的设备为高压均质机。均质压力一般为20~30MPa,有些生产厂家采用10~15MPa压力的均质机均质两次,效果也很好。

均质和脱气的先后顺序对产品质量有一定的影响。

完整的果实细胞间隙存在氧和二氧化碳等气体,在破碎、打浆和调配等操作过程中外界的空气还会进入饮料中,这将大大加速果汁的氧化过程并迅速破坏果汁的色泽、风味和营养成分,特别是经过高压、高温等处理,上述作用更加明显。所以理想的操作方法是在未均质和加热杀菌之前进行脱气处理。如果利用浓缩果汁生产果汁饮料或用果蔬原浆生产果肉果蔬汁饮料,情况有所不同,因在半成品加工过程中一般已经进行过脱气和杀菌处理,脱气和均质的先后顺序对产品质量影响不大,考虑到均质时仍可能混入空气,故可将均质放在脱气前面。

2.1.13 加热 加热的目的是为了杀菌和提高灌装温度,以利于在灌装后封盖前排气。由于果肉果蔬汁果蔬浆含量较高,浆质粒子较大且粘度高,一般采用管式热交换器进行加热。加热温度一般为93~96℃,时间为15~30s。

2.1.14 灌装、封口 根据果肉果蔬汁的特点,一般采用250g或更小包装容器进行分装,以适应消费者的需求。灌装使用常压定量杯式灌装机或强制式柱塞式灌装机。灌装温度一般为80~85℃。采用热灌装主要目的是灌装后利用物料的温度进行排气,使之封口后在顶隙形成一定的真空度,有利于产品的保存。

封口根据包装容器不同可使用压盖机(玻璃瓶)或真空封罐机(马口铁易拉罐)。在灌装温度能够保证的情况下,真空封盖显得意义不大。

2.1.15 杀菌、冷却及其他杀菌的目的是为了杀灭微生物,提高产品保质期。由于国内管式热交换器自动控制水平较低,虽然加热温度可以达到,但时间不易控制,而且由于灌装容器及后续作业的再污染等,灌装前的加热一般不能达到预期的杀菌效果,产品保质期不能得到保证。所以国内大多数中、小型果肉果蔬汁饮料厂将真正的杀菌放在灌装封口之后。杀菌可采用连续式杀菌机、立式杀菌釜或简易杀菌槽用蒸汽加热水进行水沸式杀菌。杀菌温度为85~90℃,杀菌时间20min左右。杀菌后分段冷却到30~40℃。

国外果肉果蔬汁饮料采用波纹管式或其他先进的杀菌设备,杀菌温度和时间均能得到很好地控制。国内大型饮料厂也有采用这种进口杀菌设备,在这种情况下,注意包装容器和灌装环境的污染,封口后不再进行杀菌,增加倒置工艺操作,利用物料的温度对瓶(罐)盖进行杀菌后直接分段冷却至40℃以下即可。

成品入库前要按行业或企业标准定期抽样检查,确认合格后方能入库和销售。果肉果蔬汁产品可在常温下贮存。

2.2 果粒果汁饮料加工工艺

果粒果汁饮料的生产除造粒方法不同外,其余基本相同。这里以国内市场常见的粒粒橙汁为例,介绍果粒果汁饮料的加工工艺。

粒粒橙汁饮料加工过程分两部分。一是原料加工,即橘瓤分离;二是粒粒橙汁饮料的灌装。橘瓤分离后可以贮藏以供水果淡季或非水果产区进行分装,其加工工艺流程如图1-17-23所示。

图1-17-23 橘瓤加工工艺流程

粒粒橙汁饮料的灌装根据包装容器不同,工艺流程略有区别。易拉罐口径较大,可以把果粒和果汁分别灌装,这种灌装方式的优点是每罐果粒含量比较均匀,且避免了果粒和果汁混合搅拌造成的果粒的破碎。相反,玻璃瓶因口径较小,需将果粒和调配果汁混合后由液体将果粒带入瓶中。两种工艺流程分别如图1-17-24和图1-17-25所示。

图1-17-24 罐装粒粒橙汁饮料工艺流程

图1-17-25 瓶装粒粒橙汁饮料工艺流程

2.2.1 挑选 用于制作橘瓤的原料主要有蜜橘、红橘、芦柑和潮柑等易于剥皮和分离的柑橘品种,挑选主要目的是去除霉烂果。一般为手工操作。

2.2.2 热烫、剥皮和分瓣 热烫是为了便于剥皮,一般是在烫果槽内用蒸汽加热水。水温和加热时间根据原料品种确定。蜜橘水温为80℃左右,烫果时间为25~80s;红橘水温为50℃左右,烫果时间为20~60s。以手按橘尖心部有软感为度,不可热烫过度,以免影响风味和破碎率增加。

剥皮和分瓣是为后续酸、碱处理及橘瓤分离做准备。一般采取人工剥皮和分瓣,在分瓣的同时去掉可去的橘筋和橘络、分瓣后不要过多的积压,以免压损橘瓤颗粒

2.2.3 酸、碱处理及漂洗 酸、碱处理的作用是为了去除橘瓣内皮和囊衣,使橘瓤颗粒裸露出来以便分离。碱处理除上述作用外,还将对酸处理后的物料起中和作用。漂洗是为了洗去原料上残存的酸碱溶液。酸、碱处理和漂洗是在处理槽中进行,大规模生产则采用连续式流槽。

酸处理一般采用0.5%~0.7%HCl溶液,在25~30℃的温度下浸泡40~50min,并进行均匀搅拌。碱处理一般用0.2%~0.5%的NaOH溶液,在25~30℃的温度下浸泡20~30min,同样进行均匀搅拌。漂洗分别在酸、碱处理后用清水进行。具体操作条件应根据柑橘品种和成熟度确定,以囊衣脱掉、橘芯易于去除为准。

酸、碱处理过度会造成果粒脱落或囊胞破损,使橘瓤得率降低;处理程度不够会造成分离困难。

2.2.4 去核 对于果核较多的柑橘品种如红橘,分离前要先去核,一般为手工操作。

2.2.5 分离 分离是制取橘瓤最重要的操作过程之一。其目的是将原料由橘瓣分散成颗粒状,同时去除剩余的茎络和果核等杂质。使用的设备为橘瓤分离机。在分离过程中一方面要求分离彻底,避免有块状或成垛状的橘瓤存在于产品中,另一方面要尽量减少果粒的破损。

2.2.6 捡选 经分离机分离出的橘瓤会存在一些与果粒大小、形状基本相同的果核,需经人工捡选方能去除干净,人工捡选同时可以去除产品中可能残存的茎、络等杂质。捡选一般可在网带式输送台上进行。

2.2.7 装罐 橘瓤半成品装罐后便于贮藏。国内一般用3~5kg马口铁罐或50kg塑料桶。灌装一般用简易灌装设备辅以手工操作。装罐时应加一定比例和浓度的糖液,以利贮藏。糖液浓度一般为13~15°Bx,糖液与橘瓤颗粒的比例根据包装容器和贮存方式而定,糖液一般占产品的10%~40%。

2.2.8 排气和封口 装罐后用蒸汽加热排除产品内的空气,以便在封口后在顶隙形成一定的真空度,提高贮藏时间。排气用连续式排气箱或简易排气装置。排气后立即封口,根据不同的罐型采用不同型式的封口机。封口后顶隙的真空度应达到26~40kPa。

2.2.9 杀菌、冷却及检验 杀菌是为了杀死微生物以利贮藏。一般使用连续杀菌机、立式杀菌釜或简易杀菌槽用蒸汽加热水沸式杀菌。由于生产和投资规模等原因,国内多采用后两种杀菌设备。杀菌温度一般为85℃左右,杀菌时间15~20min,杀菌时间不要过长,以免果粒破损。杀菌后立即分段冷却到40℃以下。

对于塑料桶装的产品,一般在灌装前用85~90℃热水杀菌,杀菌时间10~20min,经冷却后灌装。

半成品入库前按企业标准进行抽样检查。半成品的贮藏根据不同的包装形式而定,马口铁罐装产品由于杀菌比较充分,可在4~5℃的冷库或常温下贮存,塑料桶则需在低温下贮存。

以下操作为粒粒橙汁饮料生产过程。

2.2.10 调配 将果汁(一般为浓缩柑橘汁)、糖液、添加剂及饮料用水按比例和先后顺序加入到带搅拌的调配罐中进行充分的混合,调配罐一般采用冷热缸,可以升温,以减轻热交换器的负担。

2.2.11 过滤 过滤的目的是为了滤出原、辅料中带入的杂质,一般采用管间过滤器进行过滤,滤网孔径一般为0.5mm左右。

2.2.12 加热 加热的目的是为了杀死微生物和提高灌装温度,主要是后者。加热一般采用板式热交换器或管式热交换器,加热温度为90~95℃。

2.2.13 灌装及封盖 根据包装容器不同,灌装方式有所区别。采用易拉罐灌装时,果粒和果汁分别灌装。果粒灌装采用颗粒灌装机,个别小型饮料厂也有用简易灌装设备或手工操作。果汁灌装使用液体灌装机。果粒灌装一般为常温,果汁灌装温度为85℃左右。

由于易拉罐成本较高且不可回收,国内有些生产厂家采用玻璃瓶灌装,此种情况下多将果粒和果汁混合后一起灌装,一般使用强制式柱塞式灌装机或常压定量杯式灌装机。灌装温度一般为80℃左右。

灌装后立即进行封盖。封盖使用真空封罐机或压盖机,根据所使用的包装容器而定。

2.2.14 杀菌和冷却 杀菌主要是为了杀死微生物,保证产品的保质期,使用的设备为连续杀菌机、立式杀菌釜或简易杀菌槽用蒸汽加热水沸式杀菌,国内多采用后两种方式。杀菌温度85℃左右,杀菌时间20min左右。杀菌后立即分段冷却到40℃以下。

2.2.15 混合 混合专指采用玻璃瓶灌装而言,目的是将橘瓤颗粒均匀混入调配后的果汁中,以利小口径玻璃瓶灌装。混合一般在带搅拌的高位罐中进行,有的在灌装机上装有带搅拌的贮罐,不再另配混合罐,但连续生产有一定的困难。

2.2.16 摇匀 果粒的均匀悬浮主要靠工艺配方来保证,但由于操作过程及温度变化等影响,有时不尽人意。尤其使用玻璃瓶灌装时,由于透明度很高,因此增加摇匀操作。一般是在装箱前附带手工操作。

有关水处理、溶糖及洗瓶(罐)等参见本章第1节。

2.3 果汁(清凉)饮料加工工艺

果汁(清凉)饮料加工工艺由于包装容器不同略有区别。这里以瓶装和金属易拉罐为主介绍果汁(清凉)饮料的加工工艺,同时对无菌纸质容器包装略加说明。图1-17-26所示果汁(清凉)饮料工艺流程。

图1-17-26 果汁(清凉)饮料工艺流程

2.3.1 调配 果汁(清凉)饮料的原料多为浓缩果汁或水果原汁。采用杀菌浓缩果汁或原果汁时,可直接加入调配;采用冷冻浓缩果汁时则需进行自然解冻或用解冻机强制解冻,国内很少有冷冻浓缩果汁。

水经处理,糖经溶化和过滤(参见本章第1节),其他添加剂如甜味剂、有机酸、维生素C和香料等,如需溶解先用饮料用水进行溶解。

以上原辅料按比例和先后顺序加入到带搅拌的调配罐中进行充分的混合。加料过程大致为:在糖溶液中加入果汁和其它甜味料,用水调到接近于成品的糖度,加入有机酸和维生素C,最后加入香料。这时测定一下糖度和酸度并根据需要做适当的调整。

调配是生产果汁(清凉)饮料的重要操作过程,必须根据工艺配方要求和原辅料情况严格加以控制,必要时调配后经有关技术人员试饮。国外大型现代化饮料厂采用计量泵进行连续配比生产。

原果汁的含量可以在10%~100%之间,一般来说,原果汁含量为10%~50%时,称为果汁清凉饮料;原果汁含量在50%以上时,称为果汁饮料。若生产100%纯果汁则将浓缩果汁稀释到原果汁的浓度。为方便起见,以下统称为果汁饮料。

2.3.2 过滤 过滤的目的是为了滤出原辅料带入的杂质,一般可使用带滤网的管道过滤机,滤网尺寸为0.5mm左右。若生产清汁饮料则需要用板框过滤机。

2.3.3 均质 均质的作用是使料液中残存的果渣细小颗粒进一步破碎、形成液相均匀的混合物,防止产品沉淀或分层,使口感变好。均质使用的设备为高压均质机,果汁饮料均质压力一般在5~10MPa。

均质可以使果肉浆细化并增加浊度,对果肉浆含量较多的果汁饮料(超过3%~5%),则不要进行均质,以免增加饮料的粘度,使饮料失去清凉感。此时可在脱气之后进行分离,除去夹杂物和粗大的果肉浆。另外生产透明果汁(清汁)饮料时不需要进行均质。

2.3.4 脱气 虽然果汁原料在加工过程中已经进行过脱气,但由于调配和均质等操作,还会有一部分空气进入到产品中去,因此还须进行脱气处理,以防产品氧化。脱气仍使用真空脱气器,但脱气条件要比生产原果汁时低得多,一般在0.008~0.009MPa的低真空条件下进行脱气,以防挥发性强的原辅料成分损失。

2.3.5 杀菌 杀菌的作用是为了杀死微生物,提高灌装温度。果汁饮料的杀菌一般使用板式热交换器,杀菌温度93~95℃,杀菌时间15~30s,也可采用超高温瞬时杀菌器进行杀菌,杀菌温度115~120℃,杀菌时间3~10s。杀菌后冷却到90℃左右进行灌装。

需要说明的是,目前一些生产厂家,特别是中、小型饮料厂,在生产过程中由于所采用的设备落后,加之操作过程中不能较好地控制杀菌温度和时间以及灌装温度。为了保证产品质量,采用封盖后再杀菌的办法。再杀菌的设备和条件如果肉果蔬汁和果粒果汁饮料所述。

2.3.6 灌装及其他 灌装即将饮料分装于上市出售的瓶或罐内。灌装温度一般为90℃左右,若灌装后再杀菌则灌装温度可低一些。根据不同包装容器采用不同形式的灌装机。灌装后立即进行封盖,封盖采用真空封罐机、压盖机或旋盖机,视包装容器而定。若不再杀菌则分段冷却到40℃以下。

由于灌装温度较高,在使用玻璃瓶时要先对瓶子进行预热,以防温差太大产生破瓶。瓶子预热温度一般在40℃以上,可在输瓶机上将瓶子倒置输送用热水或蒸汽喷淋预热,或在洗瓶的最后冲瓶过程中用热水冲瓶。

灌装除上述方法外,还可采用无菌灌装。无菌灌装是果汁、饮料生产中的一种新技术,在国外得到广泛的应用。所谓无菌灌装,即在灌装前除对饮料本身灭菌外,还要对灌装设备、管道、包装容器(现场制作,如利乐包)、生产环境及操作者进行灭菌,如需贮罐,则使用密封的无菌贮罐,整个生产处于“无菌”状态下进行。

无菌灌装应用范围很广,除生产果汁饮料外,还可用于其他果汁、酸奶、豆奶、果酱、鲜果泥等产品。包装形式有“利乐包”和“埃卡杯”等,国内目前也已生产出砖形和屋顶形复合纸无菌灌装设备和无菌(半成品)大包装设备。

3 关键设备

果蔬饮料加工关键设备大部分在本手册的其他章节已提及,如原料处理设备包括清洗机、去核机、破碎机、预煮器和打浆机等,与果酱加工设备基本相同,请参见第1篇第6章第5节。水处理设备和洗瓶(罐)设备参见本章第1节。脱气器参见本章第2节。灌装及封盖设备参见第2篇第2章。这里主要介绍胶体磨、均质机、管式热交换器、橘瓤分离机和颗粒灌装机等。

3.1 胶体磨

胶体磨作为一种超微湿粉碎加工设备,用于果肉果蔬汁原料经打浆后的果肉浆的细化处理。也可用于其他食品如果酱、果汁、豆奶、雪糕、冰淇淋、花生制品加工等超微粉碎,可获得较理想的细化、混合、均质及乳化等效果。其工作原理是通过不同几何形状的定子与转子在高速旋转下的相对运动,使被加工物料受到强大的剪切、磨擦及高频振动,被有效地分散、粉碎、乳化、均质和混合,从而得到理想的精细加工产品。

胶体磨和高压均质机在微粒化作用的机理上是相似的,都是通过一定的方法在微粒化作用区形成速度梯度,导致较高的剪切力,从而使物料颗粒进一步细化。不过高压均质机是利用均质阀间隙所产生的压力降维持这种速度梯度,直接消耗的是压力能,而胶体磨是利用两盘面的相对运动来维持盘面间隙中的速度梯度,直接消耗的是动能。故胶体磨也可称为“转子-定子”均质机。

磨头是胶体磨的关键部件,主要由定子和转子组成。转子速度一般在1000~10000r/min,国内产品最高可达20000r/min。用于果肉果蔬汁加工的胶体磨,转速一般在5000r/min以下。

胶体磨从安装型式上可分为立式和卧式两种,应用较多的为立式胶体磨。这种胶体磨多采用具有一定斜度的锥形磨头,楔角γ为10′~1°30′之间,如图1-17-27所示。楔角的大小取决于被加工物料的粒度、粘度及组织结构等。转子从上至下采用3级不同齿宽的针点结构。1级为粗齿并带有推进器,起搅拌和压料作用;2级为细齿或菱形齿,起分散均质研磨作用;3级为精细齿,起磨细作用。目前国内用于果肉果蔬汁加工的多为这种间隙可调的立式胶体磨。

图1-17-27 立式胶体磨头结构示意图

1-定子 2-转子

胶体磨在使用过程中必须使物料含有一定水分或是液态物。磨头加工精度很高,间隙很小,要严禁金属或石块等硬物进入胶体磨,以免损坏磨头。另外,由于磨头在工作中极易发热,要注意冷却。立式胶体磨靠冷却水进行冷却,在投料前应先接通冷却水。

3.2 均质机

均质机用于果蔬汁饮料生产中将料液中残存的果渣小颗粒进一步破碎,制成液相均匀的混合物,减少成品沉淀,防止分层并提高口感。在冰淇淋和其他乳制品加工中,能使料液中的脂肪球碎裂,降低牛乳表面张力,增加粘度,得到均匀一致的胶粘混合物,提高产品质量。

均质机按构造分类有高压均质机、离心均质机和超声波均质机三种,果蔬汁饮料生产中均使用高压均质机。在工作过程中,料液在柱塞往复泵的作用下,高速流动产生以下三种作用达到均质的效果:①在均质机头缝隙处产生剪切力而均质;②使液流中的细微颗粒和均质阀发生高速撞击而碎裂;③料液高速流过均质阀缝隙时形成高频振动,在瞬间引起空穴现象,使细小颗粒进一步碎裂。

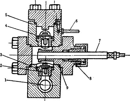
高压均质机主要关键部件是高压泵和均质阀。每台高压均质机上有三个柱塞往复泵(高压泵)。配置三个柱塞泵是为使排料量速度均匀一致。泵体结构如图1-17-28所示,配置在进料腔和出料腔的两只单向活阀在柱塞往复运动形成的正压或负压下及弹簧的作用下分别开户或关闭,使料液高速流动。

图1-17-28 高压泵泵体结构示意图

1-进料腔 2-吸入活门 3-活门座 4-排出活门 5-泵体 6-冷却水管 7-柱塞 8-垫料 9-垫片

均质阀安装在料液的排出管路上,一般为双级,其结构如图1-17-29所示。高速流动的料液受到均质阀心的阻力产生很高的压力,达到均质的效果。通过调节阀柄调节均质阀螺旋弹簧对阀心的压力,可以改变流体压力,即均质压力。第一级中均质压力一般为20MPa以下,主要使细微颗粒进一步破碎。第二级压力一般在35MPa以上,主要使破碎的微粒物质均匀分散。对于均质压力要求不高的料液,也可使用单级均质阀。高压均质机均质压力最高可达70MPa以上,生产能力从500~12000L/h已成系列化产品。

图1-17-29 双级均质阀结构示意图

1-高压泵 2-二级均质阀心 3-二级调节阀柄 4-一级均质阀心 5-一级调节阀柄

使用高压均质机应注意以下几个问题:①避免硬质杂质进入均质阀,故最好在进料管道上安装管间过滤器;②根据工艺要求,选择均质压力与之相匹配的均质机,以防压力不足或浪费;③启动前应先接通冷却水,保证高压泵有充足的冷却水冷却;④设备不得空转,启动前要先打开进料阀门;⑤启动后及时调整到要求的压力,为保证产品质量,在调整好压力之前出来的料液应让其流回到进料罐内,停机前先卸压再停机;⑥活门和阀心极易磨损,使用一段时间后如发现磨损应及时研磨或更换,以免影响均质效果;⑦对高浓度和高粘度的料液,不宜采用高均质机均质,根据情况可用胶体磨代替均质机进行均质。

3.3 管式热交换器

管式热交换器主要用于果肉果蔬汁饮料的连续加热和杀菌。其工作原理是在钢制圆筒形外壳内平行装置很多钢管,物料在前置泵的作用下通过列管,列管周围充满蒸汽,物料由蒸汽加热。同理,若周围充满冷却水,可起到对物料的冷却作用。

管式热交换器按结构型式可分为固定管板式、浮头式、U型管式、填函式和滑动管板式等几种。在果肉果汁生产中由于温度和压力均不高,管壳间温差应力较小,故一般采用造价较低且不易外漏或内漏的固定管板式多程热交换器。图1-17-30所示为负压状态下蒸汽加热管式热交换器工作示意图。加热室的真空度可达0.042~0.045MPa。这种热交换器加热温度较低且均匀,不易焦管,蒸汽耗量相对较低而且热量损失少。但控制系统较复杂,制造成本稍高。国内目前在果肉果汁加工中使用较多是正压蒸汽加热管式热交换器。主体结构与负压管式热交换器基本相同,只是不带真空系统。外壳上装有放气阀、安全阀和压力表。工作开始时,打开放气阀靠蒸汽压力排净管壳内加热室的空气,以蒸汽充满管壳空间。回汽管处装有疏水阀,靠疏水阀排掉冷凝水。物料出口处装有温度表和回料管,杀菌温度靠调节蒸汽压力和物料流量来控制。这种热交换器杀菌时间和温度不易控制,温度调节有滞后现象。但结构简单,造价低。是基于国内设备现有水平的过渡产品。

使用管式热交换器应注意在工作结束时及时排掉加热室的残留蒸汽并清洗物料列管,以免结圬和产生焦糊现象。另外由于温度显示具有滞后现象,操作时要多加注意并及时调节。

图1-17-30 管式热交换器示意图

1-蒸汽加热室 2-冷凝水排除器 3-真空桶 4-离心泵 5-循环水槽 6-喷嘴 7-物料列管 8-回汽管 9-递止阀 10-回汽管

3.4 橘瓤分离机

橘瓤分离机是果粒果汁(粒粒橙汁)饮料加工中橘瓤制取的最重要设备。其用途是将酸、碱处理后的原料由橘瓣分离成颗粒状,并去除茎络和果核等杂质。橘瓤分离机大致有三种形式:①机械漩涡式;②滚筒式;③组合式。

机械漩涡式橘瓤分离机的工作原理是靠主轴上叶轮旋转,带动分离室的水形成漩涡,冲击橘瓣,使其分散,然后用滤网或纱布滤出分离水、手工去除果核和茎络等杂质,得到所需的柑橘砂囊。根据叶轮的安装方式,可分为卧式和立式两种。立式结构与单缸洗衣机相似。卧式结构如图1-17-31所示。这种分离机由于机械作用较强,导致橘瓤颗粒的破碎率较高。另外生产能力较低且不能连续生产,适合于小型生产厂使用。

图1-17-31 卧式橘瓤分离机结构示意图

1-进料斗 2-外罩 3-叶轮 4-主轴 5-箱体 6-出料 7-机架

这种分离机橘瓤分离率可达95%以上,如果在分离室内安装挡板,其分离效果更佳。

滚筒式橘瓤分离机结构如图1-17-32所示。在工作过程中,橘瓣由进料口进入到缓慢转动的滚筒筛网中,在滚筒内的筛网上,橘瓣经高压水的冲击并由筛网上的螺旋片不断翻动和向前推送,被分离的橘瓤颗粒在重力和水的冲击下通过网孔落入收集槽,由水流带动从出料口排出,杂质和部分未分离的橘瓣则从出渣口排出,可进行再次分离。筛网采用不锈钢板冲孔而成,网眼尺寸根据原料品种而定,一般为30mm×5mm长孔。

图1-17-32 滚筒式橘瓤分离机示意图

1-进料口 2-滚筒 3-筛网 4-外罩 5-喷淋水管 6-电机 7-出料口 8-排渣口 9-机架 10-离心水泵

该分离机可处理原料(鲜果)200kg/h,分离率达85%左右,囊胞完整率达80%左右。

组合式橘瓤分离机由分离滚筒和茎络清除输送器(也称二次分离机)组合而成。分离滚筒的结构和工作原理与单滚筒式橘瓤分离机基本相同。所不同的是筛网是由不锈钢丝编织而成,且网眼尺寸较大。另外高压水管的配置和滚筒的转速有所区别。在工作过程中,橘瓣在高压水的作用下自然、柔和地被分离成粒状或垛状,随水流流入到茎络清除输送器上进行二次分离,杂质从排渣口排出。

茎络清除输送器如图1-17-33所示。进入到网状输送带上的原料被高压水再次冲击,全部被分离成颗粒状,通过网眼进入到收集槽内随水流从出料口3排出。茎络和果核等杂质从排渣口排出。

图1-17-33 茎络清除输送器示意图

1-网状输送带 2-高压水管 3-出料口 4-排渣口

组合式橘瓤分离机配置图如图1-17-34所示。该分离机组采用两次分离的方法,既解决了单滚筒分离机分离不彻底的问题,又克服了机械漩涡式分离机破损率高且不能连续生产的缺点,是一种较理想的橘瓤分离设备。

图1-17-34 组合式橘瓤分离机配置简图

1-喂入升运器 2-分离滚筒 3-茎络清除输送器 4-离心水泵

该机组处理原料(鲜果)可达750kg/h以上,分离率基本上可达到100%。

3.5 颗粒灌装机

颗粒灌装机用于粒粒橙汁或其他果粒果汁饮料生产中的果粒灌装,也可用于其他粘稠度较大的物料如果酱、化妆品等的灌装。该机主要由动力、安全机构、传动系统、灌装执行机构、机架和自动控制系统等组成。作为灌装执行机构的灌装头和传动系统是该机最关键的部分。

灌装头主要由主阀活塞、换向阀及副阀等组成,其结构如图1-17-35所示。在吸料过程中,换向阀4处在连通料斗3和主阀缸体2的位置(图示位置),主阀活塞1由上止点向下运动并逐渐达到下止点,通过活塞的吸力和物料自重使物料进入到主阀缸体2内。由于在吸料过程中可能使物料产生局部空隙和进入过多的液体,所以当主阀活塞1由下止点向上止点运动时,换向阀4仍处在原来的位置,将吸进来的一部分物料和多余的液体送回到料斗中去,并利用液体的回流起到某种程度的搅拌作用,避免颗粒状物料堵塞进料口,从而保证了灌装精度。在完成这一过程后,主阀活塞稍作停顿,换向阀转到连通主阀缸体和副阀阀体6的位置上(图中双点划线位置),副阀7同时开启。当主阀继续向上运动时,将物料通过换向阀体由副阀出料口排出灌入空罐中。在灌装的过程中,由副阀吹出的空气辅物料流动,避免产生“滴料”现象,同时提高了灌装精度。

图1-17-35 颗粒灌装机灌装头结构图

1-主阀活塞 2-主阀缸体 3-料斗 4-换向阀 5-换向阀体 6-副阀阀体 7-副阀

各阀和活塞的运动由装在主轴上的两个凸轮及由连杆机构组成的传动系统来带动和控制。两个灌装头成二连式布置,第一个灌装头完成1、3、5……罐的灌装,2、4、6……罐由第二个灌装头灌装。改变主阀活塞的行程便可调节灌装量。

该机具有对颗粒物料破碎率小、灌装量准确、自动化程度高等优点。在使用过程中注意物料中应加入适量的液体,以利灌装。液体的特性应与调配果汁相同,加入量一般为15%左右。该机的最大生产能力为80罐/min。

随便看

 

离鸟网收录3541549条中英文词条,其功能与新华字典、现代汉语词典、牛津高阶英汉词典等各类中英文词典类似,基本涵盖了全部常用中英文字词句的读音、释义及用法,是语言学习和写作的有利工具。

 

Copyright © 2004-2024 vtrois.com All Rights Reserved
更新时间:2026/4/18 23:07:30