网站首页  词典首页


请输入您要查询的字词:

 

字词 果蔬干制品加工装备
类别 中英文字词句释义及详细解析
释义

果蔬干制品加工装备


1 概述

果蔬中含有大量的水分。通过减少果蔬中的水分,降低水分活度,提高原料中可溶性固形物含量,使微生物难以生存,使制品得以长期保存的方法称为干制。干制所需的设备为果蔬干制品加工装备。

果蔬干制在我国历史悠久,如龙眼干、葡萄干、柿饼、木耳、金针菜、玉兰片等,品质优良,驰名中外。也是出口创汇的主要品种之一。

果蔬干制方法,按干制的能源不同,可分为自然干制和人工干制两种。自然干制,即依靠太阳晒干或自然风干制,是传统的干制方法。此法节约能源,设备简单,成本较低,但受气候的限制和影响极大。人工干制,即人为地控制干制环境,因而不受气候条件的限制,故可缩短干制时间,减少损失,保证干制品质量等优点。

干制品水分少、重量轻、便于包装,携带方便,耐贮藏,运输方便,对调节果蔬供应,满足消费者的需求有着重要意义。果蔬干制设备,便于加工生产,是乡镇企业的主要投资方向,有着广阔的发展前景。

2 加工工艺

2.1 工艺流程

原料的选择→清洗→去皮、切分→漂烫→熏硫或其他硫处理→干燥→回软→压块→防虫→包装→成品

2.2 流程说明

上述流程仅为果蔬干制的一般加工工艺流程,因果蔬品种不同,其流程工序可增减。如对某些水果需增加脱脂工序等。

2.2.1 原料选择 选择干物质含量高、皮薄肉厚、组织致密、粗纤维少、新鲜饱满、色泽好、无病虫害、无腐烂变质的原料。

2.2.2 清洗 通过清洗除去原料表面的污物、泥砂、微生物,特别是清除残留的农药,保证产品清洁卫生。

果蔬表面如残留农药时,还须使用化学药品洗净。一般常用0.5%~1.5%盐酸溶液或0.1%高锰酸钾溶液,在常温下浸泡数分钟,再用清水洗涤干净。最好选用流动水洗涤。

2.2.3 去皮、切分 有些果蔬外皮富含纤维素、原果胶及角质,粗糙坚硬;有的含有较多的单宁或不良气味,如苹果、马铃薯、毛笋等。因此,这类果蔬在干制前需要去皮。同时根据需要切分成不同的形状。

2.2.4 漂烫 原料的漂烫对干制尤为重要,它不仅能破坏酶的活性,防止氧化,避免变色,减少营养物质的损失;使制品呈现半透明状态,使色泽更加鲜绿美观;杀灭果蔬上附着的大部分微生物和虫卵;且较容易烘干和复水。漂烫温度为75~85℃,漂烫时间3~5min。

2.2.5 熏硫或其他硫处理 经硫处理,对改进制品色泽和保护维生素C等具有重要作用,且能加速干燥速度,缩短干燥时间,防止干燥过程中原料变质。

熏硫室要严密,用于熏硫处理的硫黄粉要纯净,其中砷的含量不得超过0.015%。熏硫量为每吨原料用1.5~2kg的硫磺,熏15~30min。

硫处理除熏硫外,亦可采用浸硫。浸硫一般常用3%亚硫酸氢钠溶液加0.3%盐酸,配成含1.5%二氧化硫的酸性溶液,浸泡原料15~20min。

2.2.6 烘干 果蔬的干制分自然干燥和人工干燥两种,不同种类的果蔬其干制的具体工艺规范亦不同。如烘干葡萄干,将熏硫处理的果实放入烘房内,初温40~50℃持续1h后,升温至50~60℃再持续2h,再升温至60~70℃,经15~20h即可烘干。

2.2.7 回软 回软的目的是使制品变软,水分均匀一致,以便压块或包装。回软操作环境条件:相对湿度85%左右,温度为16~25℃。

2.2.8 压块 为使果蔬干制品缩小体积,便于包装和贮运,一般在包装前要进行压块。

2.2.9 防虫处理 干制品易遭虫害。尤其是自然干燥,往往在晾晒过程中侵入虫卵。防治方法是用热力防虫或熏蒸防虫,使用杀虫剂的残留量不得超过国家标准。

2.2.10 包装 一般用无毒塑料密封,再用木箱或纸箱包装,做到防虫、防潮。

3 关键设备

果蔬干制所需关键设备主要有清洗机、去皮机、烘干机等。

3.1 清洗机

清洗机主要用于蔬菜等洗涤。

3.1.1 鼓风式清洗机鼓风式清洗机的清洗原理是用鼓风机把空气送入清洗槽中,使清洗原料的水产生剧烈的翻动,物料就在空气对水的剧烈搅拌下进行清洗。利用空气进行搅拌使水产生涡动循环,被清洗物料在水的涡动和冲刷下,在清洗槽内作翻转运动,使其表面上的污物、杂质等被冲洗掉,从而获得清洁物料。

该机洗涤效果好,洗涤强度柔和,适应性强,特别适于果蔬清洗。

3.1.2 喷射式清洗机(图1-6-7) 喷射式清洗机利用具有-定压力的洗涤液从喷嘴喷射到被清洗物料表面,除去污物。它主要由喷嘴、输送带、转辊等组成。使用时可根据物料的种类和洗涤强度要求,调整喷嘴的压力和喷射距离。

图1-6-7 喷射洗涤机示意图

1-喷嘴 2-转辊 3-输送带

该机结构简单,洗涤效果好,适于块根类、水果洗涤。

3.1.3 栅条滚筒式清洗机(图1-6-8) 栅条滚筒式清洗机主要由喂入斗、粗洗滚筒、勺铲、出料口和槽等组成。工作时,栅条滚筒转动,物料在离心力和摩擦力作用下被滚筒带着向上运动。当物料升到一定位置时,在重力作用下沿倾斜的物料层表面向下滑落。由于排料端不断出料,沿滚筒轴线方向物料层表面与水平线呈θ角的斜面。因此,物料在重力作用下向前掉落,即由b点到c点,依此类推,直到被排除为止。物料在与栅条及物料间相互摩擦,又与水冲击综合作用下达到洗涤的效果。

图1-6-8 栅条滚筒式清洗机示意图

1-喂入斗 2-粗洗滚筒 3、4-勺铲 5-出料口 6、7-水槽

该机结构简单,效率高,主要适于块根类蔬菜清洗。

3.2 干燥机

干燥机用于果蔬等物料的干燥。

3.2.1 箱式干燥机(图1-6-9) 箱式干燥机也称烘箱,大的又称烘房。它是简单的常压间歇式热风干燥机,利用对流原理进行干燥。

箱式干燥机的侧壁、顶壁和底壁都用绝热材料做成,箱内有多层框架,其上放置料盘2;也有将湿物料放在框架小车上推入箱内,称为盘架式干燥机。箱式干燥机内设供空气循环用的风机3,强制空气流过空气加热器4,并使其均匀的通过物料。空气流过物料的方式有平行流式和穿流式(图1-6-9)。

图1-6-9 箱式干燥机结构示意图

(1)平行流式 (2)穿流式

1-烘干室 2-料盘或料网 3-风机 4-空气加热器

箱式干燥机的结构材料可采用各种轻金属板,其上固定刚性保温材料、层压板、硬纤维和石棉板等,这些材料最好耐火、耐潮。

现代箱式干燥机用翅片式排管通过水蒸气来加热空气,但也有用煤气来加热的空气加热器。小型的亦可用电加热。

该机适应性较好,箱内各处气流分配均匀,每层流动截面上温度均匀。

3.2.2 带式干燥机(图1-6-10、图1-6-11) 带式干燥机用对流原理进行干燥。它是以环带作为输送物料的工作装置。可用1根环带,也可用几根上下放置的环带。常用网带有橡胶带、涂胶布带、钢带及钢丝网带等。该机是块、片等物料的连续化干燥设备,在食品工业上应用广泛。工作时,热风从带子的上方穿过带上料层和网孔进入下方,达到穿流接触的目的。单层带式干燥机的带不可能很长,所以适用于干燥时间短的物料。

图1-6-10 单层带式干燥机示意图

1-排料口 2-输送带 3-加料口 4-风机 5-排风管 6-加热器

图1-6-11 多层带式干燥机示意图

1-空气加热器 2-挡风板 3-风机 4-排风管 5-输送机 6-加料口 7-卸料旋转阀

为了减少带式干燥机的总长度,节约设备的占地面积,并充分利用物料的翻拌作用,可将多根输送带上下平行放置,成为多层带式干燥机。如图1-6-11所示,湿物料从最上层带子加入,随着带子的移动,依次落入下一层带子,最后干燥物料从下部卸出。干燥介质从设备下方引入,由下而上从带子侧方进入带子上方,并穿流向下排出。为使干燥介质均匀地分配到各带,须设挡风板2。

该机干燥速度快,结构较简单,因用不锈钢材,故造价较高。

3.2.3 真空冷冻干燥机 真空冷冻干燥机工作时首先将湿物料冻结至冰点以下,使水分变为固态冰,然后在较高的真空度下,将冰直接转化为蒸汽而排出,即靠升华作用,使物料得以干燥。

它的特点:因工作时处在低温、缺氧条件下,故保持了食品的色、香、味、形,营养损失少;干燥速率较高,因此能量损失小;且溶解复原性好,能干制多种物料,制品含水量低、耐贮存等。但设备造价高,使制品成本较高。故用于高档蔬菜干燥。

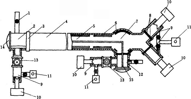
(1)间歇式真空冷冻干燥机(图1-6-12) 间歇式真空冷冻干燥机主要由干燥箱、冷阱(低温冷凝器)、真空泵、制冷压缩机、冷凝器、热交换器、冷阱进阀、膨胀阀等组成。

图1-6-12 间歇式冷冻干燥机示意图

1-干燥箱 2-冷阱 3-真空泵 4-制冷压缩机 5-冷凝器 6-热交换器 7-冷阱进阀 8-膨胀阀

工作时,设备中的预冻、抽气、加热干燥以及冷阱除霜均系间歇操作。

它的特点:物料预冻和水蒸气低温冷凝都有其自身的制冷循环系统;低温冷凝器与干燥室分开,并只使用一只冷凝器。

(2)连续式真空冷冻干燥机(图1-6-13) 隧道式连续真空冷冻干燥机的干燥室由长圆筒容器4和断面比容器较大的扩大室7两部分组成。沿长圆筒容器和扩大室的内壁全长方向设加热板,加热板以适当的热源单独加以控制。

图1-6-13 隧道式连续真空冷冻干燥机

1-通大汽阀 2-进口闭风室 3-隔离阀 4-长圆筒容器 5-中央干燥室 6-加热板 7-扩大室 8-隔离室 9-冷凝室 10-制冷压缩机 11-真空泵 12-出口闭风室 13-阀门 14-物料入口 15-输送器轨道

该机一侧设有进口闭风室2,它与干燥室之间有闸式隔离阀3,并与冷凝室9一侧通过控制阀门13相通,另一侧有通大气的阀门。出口闭风室12与扩大室相通,两个低温冷凝室9通过隔离阀与扩大室相连通。工作时,经过预冻的物料从入口14进入进口闭风室2,然后开启隔离阀3让物料进入干燥箱,加热板6供热使物料中冻结的水分升华,升华的水蒸气通过冷凝室9和真空泵11除去。物料在干燥箱中沿输送器轨道15向前运动,干燥好的物料经出口闭风室12排出。

随便看

 

离鸟网收录3541549条中英文词条,其功能与新华字典、现代汉语词典、牛津高阶英汉词典等各类中英文词典类似,基本涵盖了全部常用中英文字词句的读音、释义及用法,是语言学习和写作的有利工具。

 

Copyright © 2004-2024 vtrois.com All Rights Reserved
更新时间:2026/4/20 10:50:31