网站首页  词典首页


请输入您要查询的字词:

 

字词 板料剪切
类别 中英文字词句释义及详细解析
释义

板料剪切


(一)剪切方法及设备

剪切是利用剪板机将板料按需要剪裁成一定外形的毛料,以作为冲压成型的备料。剪切板料厚度小于20mm时用机械传动剪板机,超过20mm则用液压传动剪板机。其中,薄板机械剪切操作简单,剪切速度快,剪切材料边缘整齐、变形小,断口精度高,广泛应用于板料剪切下料。

1.板料剪切原理

板料剪切是在图8-1a所示的龙门式斜口剪板机上进行,剪切时上、下刀片往复运动完成剪切动作,其中在上刀片向下运动准备剪切时,通过偏心机构使压紧脚先压紧板料,防止错位或上下跳动,并利用挡料架定位板料,便于按预定规格和尺寸进行剪切。同时利用制动装置控制停车,使上刀片处于最高位置,并保持上导架运动的稳定性。安全保护装置可保证操作人员的安全,防止手臂受伤。

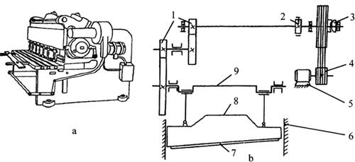
图8-1 Q11-20×2000型龙门式斜口剪床

a.结构图 b.传动简图 1.齿轮 2.制动器 3.离合器 4.带轮 5.电动机 6.导轨 7.剪刀 8.滑块 9.曲轴

图8-1b为龙门式斜口剪床的传动系统。在该系统中,电动机是原动件,曲轴连带滑块是工作件,其他均为传动件。剪切条料或由直线组成其他外形的毛料时,首先是电动机带动带轮空转,这时由于离合器处于松开位置,制动器处于闭锁位置,所以其余部分均未随之运动。

踏下脚踏开关后,在操纵机构作用下离合器闭合、制动器松开,带轮通过传动轴上的齿轮带动曲轴旋转,曲轴又带动装有剪刀的滑块沿导轨上下运动,与装在工作台上的下剪刀配合进行剪切。完成一次剪切后,操纵机构又使离合器松开、制动器闭合,从而使曲轴停转。

龙门式斜口剪板机只能用于剪切直线,如长方形、平行四边形、梯形、三角形等具有直线轮廓的低碳钢工件。若在较薄板料上,剪切各种曲线、直线外形和内孔的低碳钢件或有色金属件,可采用振动式剪床或圆盘式剪床。

2.板料剪切工艺装备

图8-2为一般龙门式斜口剪床的工艺装备,压料板可防止剪切时板料的翻转和移动,以保证剪切质量,由工作曲轴带动剪床滑块,在上刀片的上剪刃与板料接触前压紧板料,以完成自动压料,也可利用手动偏心轮等手动压料式压紧。

图8-2 龙、门式斜口剪床的工艺装备

1.前挡板 2.床面 3.压料板 4.栅板 5.滑块 6.上刀片 7.板料 8.后挡板 9.丝杆 10.床身

栅板是安全装置,可防止手或其他物品进入剪口引发事故;前挡板和后挡板在剪切时起定位作用,后挡板的位置可用丝杠调整,在床面上也可以装置定位挡板。在剪切数量较多、尺寸相同的零件时,利用挡板定位剪切,可提高生产效率并保证产品质量。

然而,在自动化程度高的剪床上剪切时,与其配套的工艺装备,应具有自动上下料,自动送进,自动定位和自动压紧等功能。

(二)板料剪切工艺

1.直线状毛料剪切

在龙门剪床上剪切时,为减少材料与剪刀的摩擦,一般都将上剪刃斜向安装(图8-3a),剪刃后角α为1.5°~3°。斜刃安装多用于剪切宽而薄的直线状条料,剪切中不仅材料变形小,断口精度高,而且操作简单,送料方便,剪切速度快,应用最广(表8-1)。然而,若剪切窄而厚的条料时,切下的条料略微弯曲,需增加矫正工序,因此可改为平刃安装剪切(图8-3b)。

图8-3龙门剪床工作

a.斜刃剪切 b.平刃剪切 c.工作原理 1.斜剪刃 2.滑块 3.导轨 4.板料 5.工作台 6.下剪刃 7.上剪 8.滑块 9.导轨 10.板料 11.下剪刃 12.工作台

表8-1 各类剪床的技术特性

(1)一般宽度条料剪切:图8-3c所示,板料按划线或用后挡板定位,并用丝杠调整后挡板的位置;剪切时,压板先将板料压紧,然后将装有上剪刃的拖板下行,板料在上、下剪刃交错时被剪开,剪切断面一般不用后续加工,即可保证剪切质量。

(2)较大宽度条料剪切:当板料采用后挡板定位时,其外悬部分会因自重而下垂,且外悬量和板料厚度的比值B/t越大,定位误差也越大。因此,条料宽度超过300~400mm时,应采用前挡板定位,前挡板的位置可用通用测量工具或样板定位。

(3)梯形和三角形毛料剪切:剪切梯形和三角形毛料时,可利用侧挡板定位,如图8-4所示。

图8-4 用侧挡板的定位方法

2.曲线状毛料剪切

(1)振动剪切:如图8-5b所示,由于振动剪床的上下刀片均为倾斜状态,其夹角一般为20°~30°,上下剪刀的水平间距是料厚的1/4,且上剪刀至下止点时,上下剪刃间的重叠量很小,一般仅为0.2~0.5mm,所以剪切部分极短,能剪切板料上的各种曲线轮廓和内孔。

图8-5 振动式剪床

a.外形 b.结构原理 1.机架 2.传动轴 3.带偏心衬套 4.连杆 5.偏心转轴 6叉杆 7.轴 8.连杆 9.轴 10.刀座

振动剪床工作时,带偏心衬套的传动轴,通过连杆及叉杆组成的肘拐,经轴将电动机的旋转运动变为刀座的往复运动。同时滑动刀座又带动上刀片,至下止点时紧贴机架上的下刀片,在上下刃口的作用下进行剪断。

振动剪切时,上剪刃每分钟往复运动可达1500~3000次,其速度高似振动状。上剪刃的振幅,可用手柄转动偏心转轴加以调整;冲制内孔时上剪刃的抬刀运动,也可用手柄操作。剪裁外形时,按划线用手工平稳水平移动送进。

振动剪切操作简便,主要用于成型后零件的切边,也可用于剪切直线或曲线内外轮廓的毛料。但其刃口容易磨损,剪断面有毛刺,剪裁精度和生产率都较低,而且只能剪裁较薄的板料。例如,飞机上大型蒙皮等零件的切边、开口或装配过程中的修合,经常采用手提式振动剪剪切。

生产中也可采用剪切冲型机,简称冲剪机,仍为振动剪切,如图8-6所示,它以短行程和频繁的次数进行直线和曲线剪切。若增加行程和闭合高度,调整机构换上相应的模具还可以进行折边、冲槽、压筋、切口、成型和翻边等。

图8-6 冲剪机外形

(2)滚动剪切:滚动剪切常将滚刀斜置剪切下料(图8-7a),上下滚刀的夹角为25°(图8-7b),并且上下滚刀重叠部分很少(图8-7c),一般仅为剪板厚度的0.2~0.3倍,板料瞬时受剪长度极短,剪切力较大。剪切过程中,板料转动所受限制很小,适合剪切各种曲线、直线外形和内孔。

图8-7 滚刀剪切

a.滚刀切料位置 b.滚刀夹角 c.滚刀重叠示意 1.上滚刀 2.下滚刀 3.板料

剪切前,根据板料厚度调整转速和滚刀间隙,若被剪板料厚度为t,则上、下滚刀的垂直间隙a=t/3,水平间隙b=t/4;若滚刀有重叠,则重叠高度h=(1/5~1/3)t。

剪切时,上下滚刀作同速反向转动,板料能在两滚刀摩擦力带动下自动送进,连续剪切,还能用手工操纵板料按划线剪切并在剪刃表面自由转动。但被剪材料弯曲变形较大,边缘有毛刺,剪切精度低,一般只用于剪裁精度要求不高、板厚仅为0.5~2.5mm的较薄毛料。

3.斜口剪刃几何参数

(1)剪刃斜角ψ:剪板机的剪刃斜角ψ值一般为2°~14°,龙门式斜口剪床ψ角为2°~6°,如图8-8所示;而横入式斜口剪床ψ角为7°~12°。斜角ψ值较大,剪切时被剪材料易发生弯扭变形,在宽板上剪窄条时尤其明显。

图8-8 斜口剪剪刃几何形状

α.剪刃后角 β.楔角 γ.剪刃前角 ψ.剪刃斜角 s.剪刃间隙

当ψ角增大到一定数值时,将因水平推力过大,使材料从刃口中退出而无法进行剪切。因此,为限制毛料变形,ψ角和γ角都不宜过大。

(2)剪刃前角γ:剪刃前角γ值是剪刃的一个重要几何参数,其大小不仅影响剪切力和剪切质量,而且直接影响剪刃强度。尽管γ角增大有利于使刃口锋利,但过大的γ角将导致离口力过大,而影响定位剪切。

因此,γ值应依据被剪材料性质不同而选取,一般可为0°~20°。例如剪切钢材时,斜口剪γ值通常在5°~7°。

(3)剪刃后角α:后角α的主要作用是减少材料与剪刀的摩擦,通常取α=1.5°~3°。当γ角与α角确定后,楔角β也就随之而定。

(4)剪刃间隙s:剪刃间隙s是为避免上、下剪刀碰撞,减小剪切力和改善剪断面质量,其大小必须合理,合理的间隙值是在一个尺寸范围内,上限称为最大间隙,下限称为最小间隙。

剪刃的合理间隙值,主要取决于被剪材料的性质和厚度,应按剪切材料的性质和厚度,选择合理的上下剪刃间隙(表8-2)。并且,一般剪切设备上还附有更具体的间隙调整数据,均可作为调整剪刃间隙的依据。

表8-2 剪刃的合理间隙范围(以对板厚的百分数表示)

4.剪切力的计算

由于在剪床性能铭牌上,已标出允许的最大剪切厚度,一般情况下不需要计算剪切力,但其允许的最大剪切厚度,通常是以20~30钢的强度极限为依据计算的,若待剪材料的强度极限范围高于或低于20~30钢时,则需要重新计算剪切力,以便确定可剪切板厚的极限,从而避免损坏机床。

(1)平口剪床剪切力的计算:平口剪床剪切力可按下式计算。

F=KAτ=Kbt

式中 F——剪切力(N);

A——剪断面面积(mm2);

b——板料的宽度(mm);

t——板厚(mm);

τ——板料抗剪强度(MPa);

K——折算系数。

折算系数K主要是考虑实际剪裁中,剪刃的磨损和间隙、材料的厚度及力学性能的波动等因素对剪切力的影响。通常取K=1.2~1.3。

(2)斜口剪床剪切力计算:斜口剪床剪切力可按下式计算。

F=Kt2τ/2tanψ

式中 ψ——剪刃斜角(°);

t——板厚(mm);

τ——材料抗剪强度(MPa);

K——折算系数。

随便看

 

离鸟网收录3541549条中英文词条,其功能与新华字典、现代汉语词典、牛津高阶英汉词典等各类中英文词典类似,基本涵盖了全部常用中英文字词句的读音、释义及用法,是语言学习和写作的有利工具。

 

Copyright © 2004-2024 vtrois.com All Rights Reserved
更新时间:2026/4/20 17:59:42