电梯电气操作原则上是不允许更换配线的,如果不得不进行配线的变更,应在插接头侧进行,插接座侧是不可变更的。拆卸插接头是比较复杂的,下面按操作顺序详细介绍:
(1)双重锁插接头的解锁操作:
①双重锁插接头的解锁操作如图11.4-4,应一处一处地从单侧进行,待全部解除后再打开双重锁部。

图11.4-4 插头接线示意1
②侧面锁的解除按照图11.4-5进行,将工具插入锁孔(将工具前端的切削面放在上侧),沿箭头方向倾斜工具,保持弯向沿外壳向上撬起,扳出锁扣。

图11.4-5 插头接线示意2
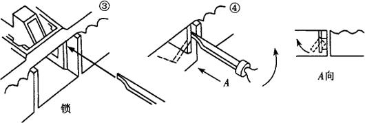
③中心锁的解锁如图11.4-6所示,将工具插入锁部(使工具前端的切削面朝向侧面),然后将工具按箭头方向倾斜,弯向锁处,撬起锁扣;按照上面顺序解除两侧及中间锁,拨开挡块。

图11.4-6 插头接线示意3
(2)接触子的拔出操作:
①将针形工具从插座的嵌合侧插入,顶起插座的锁定按扣,将接触子拔出。
②操作时,可以按照图11.4-7所示,在A方向按压接触子,插入工具,顶起锁定按扣,拔出接触子。

图11.4-7 插头接线示意4
(3)接触子的插入:当重新接好电线后,将接触子水平插入,一直插入到发出“啪”的一声为止,然后轻轻向外拉拉电线,确认已完全锁定插接子。