网站首页  词典首页


请输入您要查询的字词:

 

字词 曲柄连杆机构
类别 中英文字词句释义及详细解析
释义

曲柄连杆机构


曲柄连杆机构的功用是将活塞的往复直线运动变为曲轴旋转运动,通过其运动实现柴油机的工作循环,将柴油燃烧放出的热能转变为机械能,使柴油机能对外输出动力。它由活塞连杆组和曲轴飞轮组组成。

(一)活塞连杆组

如图1-9所示,活塞通过活塞销与连杆相连接,活塞上加工有活塞环槽,用来安装气环和油环。

图1-9 活塞连杆组

1.油环 2.第二、三道气环 3.第一道气环 4.挡圈 5.活塞 6.连杆 7.连杆衬套 8.活塞销 9.连杆盖 10.连杆螺钉 11.锁紧铁丝 12.连杆轴瓦 13.定位销

气环协助活塞起密封汽缸作用,油环能刮去汽缸壁上的多余润滑油。连杆小端装有衬套。大端为剖分式,有平剖和斜剖两种形式,剖下的部分称连杆盖,通过连杆螺栓与连杆连接成完整的连杆大端,连杆大端内装有连杆瓦。连杆杆身多为工字形断面,有的连杆杆身内钻有油道,以便连杆大端的润滑油通到连杆小端,润滑活塞销。为了防止活塞销的窜动,刮伤汽缸,在活塞销座上装有挡环。

(二)曲轴飞轮组

单缸柴油机曲轴飞轮组(图1-10)由曲轴、飞轮和曲轴主轴承等主要零件组成。

图1-10 单缸柴油机曲轴飞轮组

1.皮带轮 2.飞轮 3.曲轴 4.平衡块 5.曲轴齿轮

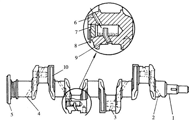
曲轴由主轴承支撑,主轴承有滚动和滑动两种形式。多缸曲轴的前端装有定时齿轮、起动爪、挡油盘和皮带轮;后端有飞轮接盘,通过螺栓与飞轮连接;飞轮和曲轴之间有严格的相对位置,一般用安装记号、定位销,或用沿圆周间隔不同的螺孔等方法保证飞轮和曲轴相对位置的正确性。由主轴承支撑的轴颈称主轴颈;与连杆大端相连接的轴颈称连杆轴颈;连接连杆轴颈与主轴颈的部位称曲柄。连杆轴颈的数目与缸数相同,如果是单缸柴油机,则连杆轴颈只有一道,如果是双缸、四缸柴油机,分别有两道和四道连杆轴颈,主轴颈的数目与曲轴支撑方式有关,如果是全支撑,主轴颈的数目等于连杆轴颈数目加1。图1-11所示的是四缸柴油机的全支撑曲轴,有4道连杆轴颈,有5道主轴颈。为了使润滑油从主轴颈流到连杆轴颈进行润滑,连杆轴颈和主轴颈连接部位中钻有润滑油道。

图1-11 四缸柴油机的全支撑曲轴

1.曲轴前端 2.主轴颈 3.连杆轴颈 4.油道 5.飞轮接盘 6.油道 7.螺塞 8.开口销 9.油管 10.曲柄

飞轮的作用是储放能量。在作功行程储存能量,在辅助行程又将储存的能量释放出来,提供辅助行程所需的能量,并使柴油机运转均匀。飞轮的外缘一般都有一缸上止点和供油时刻记号,以便确定第1缸活塞是否处在上止点。

随便看

 

离鸟网收录3541549条中英文词条,其功能与新华字典、现代汉语词典、牛津高阶英汉词典等各类中英文词典类似,基本涵盖了全部常用中英文字词句的读音、释义及用法,是语言学习和写作的有利工具。

 

Copyright © 2004-2024 vtrois.com All Rights Reserved
更新时间:2026/4/20 9:41:29