网站首页  词典首页


请输入您要查询的字词:

 

字词 暖棚羊舍的建造结构
类别 中英文字词句释义及详细解析
释义

暖棚羊舍的建造结构


我国北方地区和高原地区,受大陆季风气候影响,冬季严寒漫长,制约了肉羊的生长发育和正常繁殖,采用塑料暖棚羊舍,解决了矛盾,是技术上的突破。采用普通塑膜暖棚羊舍,冬季舍温可保持在5~20℃。

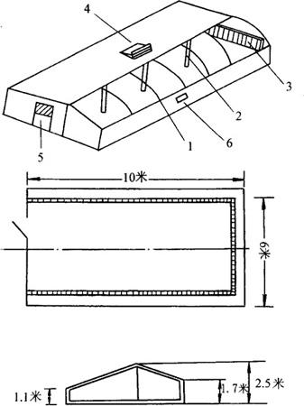
1.单列半拱面塑膜暖棚羊舍 利用现有的简易敞圈或原羊舍外的运动场搭建,此类投资少,易建造。方向座北朝南,棚舍中梁高2.5米,后墙高1.7米,前沿墙高1.1米。后墙与中梁间用木椽或管材等材料搭棚,中梁和前沿墙间用竹片搭成拱形支架。上面覆盖塑膜,一般前后跨深6米,左右宽10米,中梁垂直地面与前沿墙距2~3米。舍门高1.8米,宽1.2米,设于棚舍山墙,供羊只出入。在前沿墙基5~10厘米处设进气孔,棚顶设百叶窗式排气孔,一般排气孔是进气孔的2倍。舍内沿墙设补饲糟、产仔栏等设施。结构见图10-1。

图10-1 单列半拱面塑膜暖棚羊舍构造示意图

1.竹片弓形棚架 2.顶柱 3.补饲糟 4.百叶窗排气孔 5.单扇门 6.进气孔

2.单列半坡保暖板暖棚羊舍 四川省草原研究所推广的保暖板暖棚羊舍,在高寒地区效果好。采用的双层中空塑料保暖板效果较聚氯乙烯膜、聚乙烯膜、无滴膜更具优点。

保暖板的技术性能:抗拉断力>160牛;断裂伸长率>150牛;平面压缩力>900牛;垂直压缩力<60牛。一般可见光(400~800纳米)的透光率在82.4%~86%,即大部分太阳光波可穿过保暖板进入暖棚,太阳能得到合理利用。耐老化,寿命长,一般建成可使用3~5年。舍内采光温度比外界提高13℃,最高相差18.8℃。而且,抗风、抗冰雹、抗雪压。

据试验,暖棚最大面积不超过200平方米,最大饲养量300只;一般以建棚面积在100~150平方米为宜。

随便看

 

离鸟网收录3541549条中英文词条,其功能与新华字典、现代汉语词典、牛津高阶英汉词典等各类中英文词典类似,基本涵盖了全部常用中英文字词句的读音、释义及用法,是语言学习和写作的有利工具。

 

Copyright © 2004-2024 vtrois.com All Rights Reserved
更新时间:2026/4/17 19:34:05