网站首页  词典首页


请输入您要查询的字词:

 

字词 时间间隔测量
类别 中英文字词句释义及详细解析
释义

时间间隔测量


1.直接计数法

基本原理如图8.6-2所示

图8.6-2 时间间隔测量的直接计数法

测量原理与直接计数法测量频率基本相同,区别在于测量时间间隔时,控制电子门的闸门时间等于所测的时间间隔。内部晶振振通过倍频或分频产生时基。在电子门打开期间,时基脉冲进入计数条进行计数。设所计的数值为N,所选的时基为τ0,则所测时间间隔为

τ=Nτ0 (8.6-2)

时间间隔测量的不确定度通常用绝对误差表示。对上式进行微分得

dτ=Ndτ00dN

第一项是晶振频率不准造成的,第二项与测频时一样,仍然是dN=±1。第一项如用频率准确度表示,则有

其中:τ-所测时间间隔

-晶振周期或晶振频率准确度

由±1计数引入的测量不确定度称为测量分辨率。它等于测量仪所能选用的最小时基τ0

2.游标法

利用长度测量中游标卡尺的原理。

在图8.6-2中,Δτ1和Δτ2均小于时基τ0,故测不出,此时Δτ1和Δτ2可用游标法测量。现以Δτ1的测量为例,如图8.6-3所示。

图8.6-3 游标法(1)

原来的时基τ0称为主时基,需要产生一个副时基τ1,且τ1>τ0,但两者之差很小,即τ1-τ0《τ0

当时间间隔起始脉冲A到达时,触发副时基发生器,副时基信号与信号A同步,副时基起始脉冲与随后到来的主时基脉冲间隔即为Δτ1。随后两个时基同时运行,由τ1>τ0,相当于副时基追赶主时基,每追过一个脉冲,两者的间隔就缩短τ1-τ0,当两者间隔为零时,一共追过了N个脉冲,则Δτ1=N11-τ0)。此式可从图8.6-3中准确得出。由图中可得

N1τ0+Δτ1=N1τ1

Δτ1=N11-τ0) (8.6-4)

Δτ2的测量略有些差异,如图8.6-4所示

图8.6-4 游标法(2)

按Δτ1的测量原理,此时测得值为Δτ,

即 Δτ=N21-τ0)

但 Δτ20-Δτ

故 Δτ20-N21-τ0) (8.6-5)

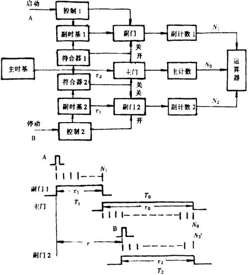
目前使用较普遍的美国HP5370时间间隔计数器用的就是游标法。基本原理如图8.6-5所示

图8.6-5 游标法测时计数器

启动信号A通过控制器1同时触发副时基1发生器和打开副门1,计数器1开始对时基τ1脉冲进行计数。副时基信号与主时基信号加到符合器1上,当两者符合时,使副门1关闭,计数器1计的数为N1

同理,停止信与B通过控制器2触发副时基2和打开副门2,最后计数器2计的数为N2

主计数门由两个符合器的输出控制,第一符合器打开主门,第二符合器关闭主门。主计数器计的数为N0

设τ为欲测的时间间隔,则从图中所示关系可得:

τ=T1+T0-T2

=N1τ1+N0τ0-N2τ2

一般取τ12,故

τ=N0τ0+(N1-N21 (8.6-6)

此结果由运算器给出

在HP5370中,τ0=5ns,由内部晶振频率10MHz倍频到200MHz后得到。

τ1由200MHz信号通过综合得到,其关系为,由此得τ1≈5.0195ns。

由于三个计数器的闸门信号与各自输入的时基信号都是同步的,故三个计数都没有±1计数误差,误差的来源是在符合电路上,两路信号可能提前一次符合,也可能落后一次,则引入的误差为τ1-τ0=5.0195ns-5ns≈20ps。这就是HP5370计数器给出的测量时间间隔的分辨率。

【参考文献】:

[1]王义遒等,量子频标原理,科学出版社,1986。

[2]吴守贤等,时间与频率,科学出版社,1983。

[3]黄秉英等,时间频率的精确测量,计量出版社,1986。

[4]王江现代测量技术,计量出版社,1987。

[5]P. Kartaschoff ,Frequency and Time,Academic Press ,1978.

[6]J. A. Barnes et al. ,Characterization of frequency stability, IEEE Trans Instrum Meas. IM —20,p.105—120,1971.

[7]Time and frequency:Theory and Fundamentals,NBS Manograph 140,1974.

[8]D. W. Allan ,The measurement of fruquency and frequency stability of precision oscillator,Proc.6th Ann PTTI Planning Meeting.

[9]Annual Report of the BIPM Time Sectina,1974.

随便看

 

离鸟网收录3541549条中英文词条,其功能与新华字典、现代汉语词典、牛津高阶英汉词典等各类中英文词典类似,基本涵盖了全部常用中英文字词句的读音、释义及用法,是语言学习和写作的有利工具。

 

Copyright © 2004-2024 vtrois.com All Rights Reserved
更新时间:2026/4/19 11:59:27